Leggete attentamente queste informazioni al fine di utilizzare e mantenere correttamente il prodotto ed evitare infortuni e danni. Voi siete responsabili del corretto utilizzo del prodotto, all'insegna della sicurezza.
Per informazioni su prodotti e accessori, per la ricerca di un distributore o la registrazione del vostro prodotto, potete contattare Toro direttamente a www.Toro.com.
Per assistenza, ricambi originali Toro o ulteriori informazioni, rivolgetevi a un Distributore Toro autorizzato o ad un Centro Assistenza Toro, ed abbiate sempre a portata di mano il numero del modello ed il numero di serie del prodotto. Figura 1 illustra la posizione del modello e del numero di serie sul prodotto. Scrivete i numeri nello spazio previsto.

Il sistema di avvertimento adottato dal presente manuale identifica i pericoli potenziali e riporta messaggi di sicurezza, identificati dal simbolo di avvertimento (Figura 2), che segnala un pericolo in grado di provocare infortuni gravi o la morte se non si osservano le precauzioni raccomandate.

Per evidenziare le informazioni vengono utilizzate due parole. Importante indica informazioni di carattere meccanico di particolare importanza e Nota evidenzia informazioni generali di particolare rilevanza.
CALIFORNIA
Avvertenza norma "Proposition 65"
L'utilizzo del presente prodotto potrebbe esporre a sostanze chimiche che nello Stato della California sono considerate cancerogene e causa di anomalie congenite o di altre problematiche della riproduzione.
Perché il rastrello funzioni correttamente, è importante che la pressione degli pneumatici della macchina sia corretta. Accertatevi che la pressione degli pneumatici sia 0,48 bar(Figura 3).
Per ottenere valori più attendibili, controllate la pressione degli pneumatici a freddo.
Pressione: 0,48 bar

Prima di installare il rastrello in una nuova macchina, è necessario rimuovere il pianale di carico da quest'ultima.
Rimuovete i dadi, i bulloni e le rondelle che fissano il pianale di carico al retro della macchina.

Eliminate i fissaggi e il pianale di carico.
Parti necessarie per questa operazione:
| Gruppo centrale | 1 |
| Gruppo destro | 1 |
| Gruppo sinistro | 1 |
| Bullone (3/4 x 3-1/2 poll.) | 2 |
| Dado di bloccaggio (¾") | 2 |
| Distanziale lungo | 2 |
| Protezione cavi | 2 |
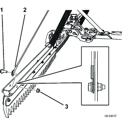
Posizionate i gruppi in modo che la piastra superiore del gruppo centrale sia rivolta in avanti e che la piastra superiore di ciascun gruppo laterale sia rivolta all'indietro (Figura 5).

Inserite un distanziale lungo nel foro del perno di ciascun gruppo laterale (Figura 6).

Allineate il foro del perno nel gruppo laterale destro con il foro del perno sul lato destro del gruppo centrale.
Allineate una protezione cavi al di sopra del foro del perno e fissatela con un bullone (3/4 x 3-1/2 poll.) e un dado di fissaggio (3/4 poll.), serrato da 163 a 217 N·m; fate riferimento a Figura 6.
Note: Accertatevi che il gruppo laterale ruoti liberamente. Se necessario, allentate leggermente il dado e il bullone. Accertatevi che i bulloni a testa tonda non si tocchino durante l'intera fase di movimento dei gruppi.
Allineate il foro del perno nel gruppo laterale sinistro con il foro del perno sul lato sinistro del gruppo centrale.
Allineate una protezione cavi al di sopra del foro del perno e fissatela con un bullone (3/4 x 3-1/2 poll.) e un dado di fissaggio (3/4 poll.), serrato da 163 a 217 N·m; fate riferimento a Figura 6.
Note: Accertatevi che il gruppo laterale ruoti liberamente. Se necessario, allentate leggermente il dado e il bullone. Accertatevi che i bulloni a testa tonda non si tocchino durante l'intera fase di movimento dei gruppi.
Parti necessarie per questa operazione:
| Barra di traino | 1 |
| Bullone (3/4 x 3-1/2 poll.) | 1 |
| Dado di bloccaggio (3/4 poll.) | 1 |
| Distanziale lungo | 1 |
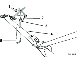
Inserite un distanziale lungo nel foro sulla parte posteriore della barra di traino (Figura 7).

Allineate il foro nella parte posteriore della barra di traino con il foro nel gruppo del perno.
Inserite il bullone (3/4 x 3-1/2 poll.) per fissare la barra di traino al gruppo del perno.
Montate il dado di bloccaggio (3/4 poll.) sul bullone e serratelo a 163-217 N·m.
Parti necessarie per questa operazione:
| Gruppo barra | 1 |
| Bullone a testa tonda (3/8 x 3/4 poll.) | 2 |
| Dado flangiato (⅜") | 2 |
| Bullone (¼" x ⅝") | 1 |
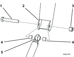
Allineate i fori nella piastra sulla parte inferiore del gruppo barra con i fori nella piastra vicino alla parte posteriore della barra di traino (Figura 8).

Montate due bulloni a testa tonda (3/8 x 3/4 poll.) nei fori e fissateli con due dadi flangiati (3/8 poll.).
Montate il bullone (1/4 x 5/8 poll.) nel foro nella parte frontale delle piastre.
Parti necessarie per questa operazione:
| Cavo | 2 |
| Bullone di spallamento | 4 |
| Dado flangiato (5/16") | 4 |
Allineate l'estremità di ciascun cavo con il foro all'estremità del rastrello (Figura 9).
Note: Per ridurre le possibilità di grippaggio, accertatevi che le estremità dei cavi siano posizionate come illustrato in Figura 9.

Fissate ciascun cavo con un bullone di spallamento e un dado flangiato (5/16 poll.).
Inserite l'altra estremità di ciascun cavo all'interno del supporto per cavi appropriato e allineate ciascuna estremità con un foro nella parte superiore del gruppo barra (Figura 10).
Note: Per ridurre le possibilità di grippaggio, accertatevi che le estremità dei cavi siano posizionate come illustrato in Figura 10.

Fissate la parte superiore di ciascun cavo con un bullone di spallamento e un dado flangiato (5/16 poll.).
Note: Al termine del montaggio, regolate la posizione del cavo superiore quanto necessario; fate riferimento a Regolazione del sistema di sollevamento Lift-In-Turn.
Parti necessarie per questa operazione:
| Gruppo fermacatena | 1 |
| Bullone a U | 1 |
| Dado flangiato (5/16") | 2 |
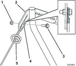
Allineate l'aletta centrale sulla staffa della barra di traino con il foro al centro della barra di traino (Figura 11).

Montate il bullone a U e fissatelo con due dadi flangiati (5/16 poll.).

Il rastrello a denti flessibili necessita di quattro zavorre, in dotazione con la macchina. Accertatevi sempre che la vostra macchina abbia il numero adeguato di zavorre.
Fate riferimento alla tabella qui di seguito per conoscere il numero di zavorre necessarie sulla parte anteriore della macchina:
| Attrezzo | Numero di zavorre necessarie |
|---|---|
| Rastrello a denti flessibili | 4 |
| Rastrello a denti flessibili con spazzole di finitura | 6 |
| Scarificatore | 6 |
| Scarificatore con rete livellatrice | 8 |
Rimuovete i due bulloni e i due dadi che fissano le zavorre già presenti sulla parte frontale della macchina (Figura 13).
Note: Se la macchina è dotata del kit luci, rimuovete il dado e il bullone che fissano la luce anteriore alla macchina. Conservate tutte le parti; fate riferimento a Istruzioni di montaggio del kit luci.

Aggiungete o rimuovete zavorra secondo necessità.
Fissate le zavorre con due bulloni e due dadi.
Note: Se la macchina è dotata di kit luci, montate la luce anteriore inserendo il bullone nelle zavorre e fissandolo con il dado; fate riferimento a Istruzioni di montaggio del kit luci.
Fate scivolare la barra di traino sotto il retro della macchina.
Infilate le catene sotto i cavi.
Installate un anello di trazione sull'estremità di ciascuna catena di sollevamento.
Important: Verificate che le catene non siano attorcigliate.
Allineate ciascun anello di trazione al lato appropriato del dispositivo di sollevamento attrezzi della macchina (Figura 14).

Fissate ciascun anello di trazione con un dado di bloccaggio flangiato (5/16 poll.) e un bullone (5/16 x 2-1/2 poll.)
Note: Accertatevi che la filettatura di ciascun bullone tocchi l'inserto di nylon del dado di bloccaggio flangiato e che ciascun anello di trazione ruoti liberamente.
Allineate la staffa sull'estremità della barra di traino all'attacco di traino del telaio (Figura 15).

Allineate il distanziale su ciascun lato della staffa di estremità e inserite il bullone (3/4 x 4-1/2 poll.) attraverso l'attacco di traino del telaio, la staffa di estremità e i distanziali.
Serrate il dado di bloccaggio (3/4 poll.) a 163-217 N·m.
Rimuovete il dado e il bullone che fissano il carter della marmitta alla parte posteriore della macchina (Figura 16).

Allineate i fori dei bulloni nella staffa del telaio con i fori dei bulloni nel telaio.
Note: Accertatevi che le catene siano incrociate come illustrato in Figura 17.

Fissate la staffa del telaio con quattro bulloni (5/16 x 1 poll.) e quattro dadi flangiati (5/16 poll.); fate riferimento a Figura 16).
Ruotate il rastrello da un lato. Il bullone d'arresto dovrebbe toccare la barra di traino quando il rastrello è a una distanza di 51 mm dallo pneumatico (Figura 18).
Se c'è una distanza di 51 mm tra il rastrello e lo pneumatico, non è necessaria alcuna regolazione.

Stabilite se la distanza tra lo pneumatico e il rastrello è troppa o è troppo poca.
Se la distanza non è sufficiente, allentate il dado di bloccaggio flangiato.
Se la distanza è troppa, allentate il controdado.
Note: Utilizzate una chiave sul collo quadro del bullone per evitare che questo scivoli.

Quando il bullone d'arresto è in posizione in modo che la distanza tra il rastrello e lo pneumatico è di 51 mm, serrate il dado appropriato.
Se avevate allentato il dado di bloccaggio flangiato, a questo punto serrate il controdado.
Se avevate allentato il controdado, a questo punto serrate il dado di bloccaggio flangiato.
Note: Utilizzate una chiave sul collo quadro del bullone per evitare che questo scivoli.
Ripetete la procedura per l'altro bullone d'arresto.
Accertatevi che il rastrello non tocchi gli pneumatici durante l'intera fase di movimento.
Accertatevi che la pressione degli pneumatici sia 0,48 bar.
Guidate la macchina su un bunker, con superficie piana se possibile.
Con il rastrello in posizione abbassata, svoltate a sinistra mentre guidate, in modo che il rastrello sia completamente ruotato.
Fermate la macchina, arrestate il motore, inserite il freno di stazionamento, rimuovete la chiave di accensione e attendete che si fermino tutte le parti in movimento.
Scendete dalla macchina e ispezionate il lato sinistro del percorso del rastrello sulla sabbia.
Note: Il rastrello dovrebbe pettinare al di sopra delle tracce degli pneumatici, ma non dovrebbe toccare la sabbia dietro queste. Se il percorso del rastrello non è corretto, fate riferimento a Regolazione del sistema di sollevamento Lift-In-Turn.
Ripetete questa procedura per il lato destro del rastrello.
Eseguite i passaggi da 1 a 5 illustrati in Ispezione del percorso del rastrello.
Ruotate completamente il rastrello da un lato.
Sul lato di rotazione (per esempio il lato sinistro se si ruota il rastrello a sinistra), stabilite se il rastrello affonda troppo nella sabbia e pettina oltre le tracce degli pneumatici, o se non penetra a sufficienza nella sabbia da pettinarla al di sopra delle tracce degli pneumatici.
Prendete nota del foro in cui è montata la parte superiore del cavo.
Rimuovete il bullone di spallamento e il dado flangiato, quindi spostate l'estremità del cavo nel foro adatto.
Se il rastrello penetra troppo nella sabbia e la pettina oltre le tracce degli pneumatici, spostate l'estremità del cavo in un foro più vicino al centro della barra.

Se il rastrello non penetra a sufficienza nella sabbia da pettinarla oltre le tracce degli pneumatici, spostate l'estremità del cavo in un foro più lontano dal centro della barra.
Fissate il cavo con il bullone di spallamento e il dado flangiato.
Note: Per ridurre le possibilità di grippaggio, accertatevi che l'estremità del cavo sia posizionata come illustrato in Figura 20.
Ripetete la procedura per l'altro lato.
È possibile regolare l'inclinazione del rastrello per aumentare o diminuire la quantità di materiale agitato. Se il bordo del rastrello è angolato in avanti (Figura 21), verso la macchina, il rastrello trasporterà più materiale e agiterà il materiale a un livello più profondo. Se il bordo del rastrello è angolato all'indietro (Figura 23), in senso opposto alla macchina, il rastrello trasporterà meno materiale e agiterà il materiale a un livello più superficiale.



Rimuovete i bulloni e i dadi anteriori che fissano il gruppo rastrello alla staffa (Figura 24).

Allentate i dadi e i bulloni posteriori.
Regolate il rastrello con l'inclinazione preferita fino ad allineare i fori appropriati.
Note: La posizione centrale utilizza i fori più vicini ai bulloni posteriori. Le altre 2 posizioni utilizzano fori più lontani dai bulloni posteriori.
Installate i bulloni nei fori e fissateli con i dadi.
Serrate i dadi sui bulloni anteriori e posteriori.
Per sollevare e abbassare il rastrello, utilizzate l'interruttore attrezzi sulla stegola di comando di destra della macchina.
Premete l'interruttore verso l'alto se desiderate sollevare il rastrello e verso il basso se desiderate abbassarlo; fate riferimento al Manuale dell'Operatore della macchina.
Se guidate una macchina senza attrezzi montati, potrebbe ribaltarsi e ferire qualcuno o procurare danni alle cose.
Non guidate la macchina senza che vi sia montato un attrezzo omologato Toro.
Scollegate la barra di traino dall'attacco di traino.
Scollegate gli anelli di trazione dal dispositivo di sollevamento attrezzi.
Rimuovete la staffa del telaio dal retro della macchina.
Leggete l'intera sezione sul rastrellamento prima di rastrellare un bunker di sabbia. Sono molte le condizioni che richiedono la regolazione del rastrello. La texture e profondità della sabbia, il tenore di umidità, malerba e compattazione sono tutti fattori che variano da un campo da golf all'altro, e perfino da bunker a bunker sullo stesso campo da golf. Regolate il rastrello per ottenere risultati ottimali dove vi trovate.
Esercitatevi a rastrellare in un bunker grande e pianeggiante del campo da golf. Esercitatevi ad avviare e fermare, girare, sollevare e abbassare il rastrello, ad entrare ed uscire dal bunker, ecc. Esercitatevi con il motore a velocità moderata e guidando a bassa velocità. Queste esercitazioni vi aiuteranno ad acquisire fiducia nelle prestazioni della macchina.
Il percorso consigliato per il rastrellamento di un bunker è illustrato nella Figura 25. Questo percorso evita sovrapposizioni superflue, riduce al minimo la compattazione e lascia un motivo uniforme e attraente sulla sabbia. Si tratta del metodo di rastrellamento più efficace; tuttavia, è importante modificare a intervalli regolari il percorso per ridurre l'eventualità di creare un effetto ondulato.

Entrate nel tratto più lungo del bunker, dove la sponda è la meno alta. Guidate attraverso il centro del bunker sin quasi alla fine, girate a destra o sinistra praticando una curva quanto più a stretto raggio possibile, e ritornate a fianco della prima passata. Eseguite una spirale verso l'esterno, come illustrato in Figura 25, e uscite dal bunker ad angolo retto in una zona pianeggiante.
Lasciate le sponde alte e corte, e le piccole buche, che potranno essere ritoccate con un rastrello a mano.
Quando entrate nel bunker non abbassate il rastrello prima che si trovi sulla sabbia. In tal modo eviterete di tagliare il tappeto erboso e non trascinerete fili d'erba tagliati o altri detriti nel bunker. Abbassate il rastrello mentre la macchina è in movimento.
Quando uscite dal bunker, iniziate a sollevare il rastrello quando la ruota anteriore esce dal bunker. Mentre la macchina esce dal bunker, il rastrello si solleva e non trascina la sabbia sul tappeto erboso.
Con la pratica e l'esperienza, imparerete presto a giudicare il momento giusto per entrare ed uscire correttamente dal bunker.
| Problem | Possible Cause | Corrective Action |
|---|---|---|
| C'è un'area a forma di lacrima che resta esclusa dal grooming. |
|
|
| L'aspetto della superficie sottoposta a grooming non è accettabile. |
|
|
| Il rastrello viene a contatto con gli pneumatici. |
|
|
| Ci sono cumuli che non sono stati sottoposti a grooming dove i gruppi laterali del rastrello ruotano partendo dal gruppo centrale. |
|
|
| Ci sono tracce visibili lasciate dagli pneumatici nell'area sottoposta a grooming. |
|
|