Lesið þessar upplýsingar vandlega til að læra að stjórna og sinna réttu viðhaldi á vörunni og til að koma í veg fyrir meiðsl og skemmdir á vörunni. Eigandi ber ábyrgð á réttri og öruggri notkun vörunnar.
Hægt er að hafa samband við Toro í gegnum www.Toro.com til að nálgast upplýsingar um aukabúnað, upplýsingar um staðsetningu söluaðila og vöruskráningu.
Þegar þörf er á þjónustu, varahlutum frá Toro eða frekari upplýsingum skal hafa samband við viðurkenndan þjónustu- og söluaðila eða þjónustuver Toro og hafa tegundar- og raðnúmer vörunnar við höndina. Mynd 1 sýnir hvar tegundar- og raðnúmerin eru á vörunni. Skrifið númerin í kassann hér á síðunni.

Þessi handbók auðkennir mögulega hættu og í henni eru öryggismerkingar auðkenndar með öryggistáknum (Mynd 2), sem sýna hættu sem kann að valda alvarlegum meiðslum eða dauða ef ráðlögðum varúðarráðstöfunum er ekki fylgt.

Þessi handbók notar 2 orð til að auðkenna upplýsingar. Mikilvægt“ vekur athygli á sérstökum vélrænum upplýsingum og Athugið“ undirstrikar almennar upplýsingar sem vert er að lesa vandlega.
KALIFORNÍA
Viðvörun, tillaga 65
Notkun á þessari vöru getur valdið snertingu við efni sem Kaliforníuríki er kunnugt um að geti valdið krabbameini og fæðingargöllum eða öðrum æxlunarskaða.
Mikilvægt er að réttur þrýstingur sé í hjólbörðum vinnuvélarinnar til að hrífan virki rétt. Gangið úr skugga um að þrýstingur í hjólbörðum sé 48 kPa (7 psi)(Mynd 3).
Þrýstingsmælingin verður nákvæmari ef þrýstingur hjólbarðanna er mældur á meðan hjólbarðarnir eru kaldir.
Þrýstingur: 48 kPa (7 psi)

Fjarlægja verður flutningskubbinn áður en hægt er að koma hrífu fyrir á nýrri vinnuvél.
Fjarlægið rærnar, boltana og skinnurnar sem festa flutningskubbinn við afturhluta vinnuvélarinnar.

Fargið festingunum og flutningskubbinum.
Hlutar sem þarf fyrir þetta verk:
| Miðjuhluti | 1 |
| Hluti hægra megin | 1 |
| Hluti vinstra megin | 1 |
| Bolti (¾ x 3½ to.) | 2 |
| Lásró (¾ tomma) | 2 |
| Langur stöðuhólkur | 2 |
| Kaplahlíf | 2 |
Komið hlutunum fyrir þannig að efri plata miðjuhlutans snúi fram á við og efri plata hvers miðjuhluta snúi aftur á bak (Mynd 5).

Stingið löngum stöðuhólki í snúningsop hvers hliðarhluta fyrir sig (Mynd 6).

Látið snúningsopið á hlutanum hægra megin flútta við snúningsopið hægra megin á miðjuhlutanum.
Setjið kaplahlíf yfir snúningsopið og festið með bolta (¾ x 3½ to.) og lásró (¾ to.) og herðið með 163 til 217 N-m (120 til 160 ft-lb) hersluátaki; sjá Mynd 6.
Note: Gangið úr skugga um að hliðarhlutinn snúist hindrunarlaust. Losið lítillega um róna og boltann ef með þarf. Tryggið að burðarboltarnir snerti ekki hvorn annan á hreyfingu.
Látið snúningsopið á hlutanum hægra megin flútta við snúningsopið hægra megin á miðjuhlutanum.
Setjið kaplahlíf yfir snúningsopið og festið með bolta (¾ x 3½ to.) og lásró (¾ to.) og herðið með 163 til 217 N-m (120 til 160 ft-lb) hersluátaki, sjá Mynd 6.
Note: Gangið úr skugga um að hliðarhlutinn snúist hindrunarlaust. Losið lítillega um róna og boltann ef með þarf. Tryggið að burðarboltarnir snerti ekki hvorn annan á hreyfingu.
Hlutar sem þarf fyrir þetta verk:
| Dráttarbiti | 1 |
| Bolti (¾ x 3½ to.) | 1 |
| Lásró (¾ tomma) | 1 |
| Langur stöðuhólkur | 1 |
Stingið löngum stöðuhólki inn í opið aftan á dráttarbitanum (Mynd 7).

Látið opið aftan á dráttarbitanum flútta við opið á pinnanum.
Stingið inn boltanum (¾ x 3½ to.) til að festa dráttarbitann við pinnann.
Komið lásrónni (¾ to.) fyrir á boltanum og herðið með 163 til 217 N-m (120 til 160 ft-lb) hersluátaki.
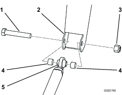
Hlutar sem þarf fyrir þetta verk:
| Bóma | 1 |
| Burðarbolti (⅜ x ¾ to.) | 2 |
| Sjálflæsandi ró (⅜ to.) | 2 |
| Bolti (¼ x ⅝ to.) | 1 |
Látið opin á botnplötu bómunnar flútta við opin á plötunni aftarlega á dráttarbitanum (Mynd 8).

Stingið burðarboltunum (⅜ x ¾ to.) í opin og festið boltana með tveimur sjálflæsandi róm (⅜ to.).
Stingið boltanum (¼ x ⅝ to.) í opið framan á plötunum.
Hlutar sem þarf fyrir þetta verk:
| Kapall | 2 |
| Axlarbolti | 4 |
| Sjálflæsandi ró (5/16 to.) | 4 |
Látið endann á hverjum kapli flútta við op á hrífuendanum (Mynd 9).
Note: Gangið úr skugga um að endar kaplana séu í sömu stöðu og sýnd er á Mynd 9 til að koma í veg fyrir flækju.

Festið hvern kapal með axlarbolta og sjálflæsandi ró (5/16 to.).
Þræðið annan enda kaplana í gegnum viðeigandi kaplastoð og látið hvern enda flútta við opin efst á bómunni (Mynd 10).
Note: Gangið úr skugga um að endar kaplana séu í sömu stöðu og sýnd er á Mynd 10 til að koma í veg fyrir flækju.

Festið efri hluta hvers kapals með axlarbolta og sjálflæsandi ró (5/16 to.).
Note: Stillið stöðu efri hluta kaplana eftir þörfum þegar uppsetningu er lokið; sjá Lyfti- og snúningskerfið stillt.
Hlutar sem þarf fyrir þetta verk:
| Keðjur | 1 |
| U-bolti | 1 |
| Sjálflæsandi ró (5/16 to.) | 2 |
Stingið miðflipa festingar dráttarbitans í opið sem er fyrir miðju dráttarbitans (Mynd 11).

Komið U-boltanum fyrir og festið með tveimur sjálflæsandi róm (5/16 to.).

Koma verður lóðunum fjórum sem fylgja með vinnuvélinni fyrir á Flex-hrífunni. Ávallt skal ganga úr skugga um að nægilegur fjöldi lóða sé til staðar í vinnuvélinni.
Frekari upplýsingar um hversu mörg lóð skal nota á vinnuvélinni að framan er að finna í eftirfarandi töflu:
| Tengitæki | Nauðsynlegur fjöldi lóða |
|---|---|
| Flex-hrífa | 4 |
| Flex-hrífa með yfirferðarbursta | 6 |
| Herfi | 6 |
| Herfi með yfirferðarmottu | 8 |
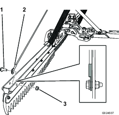
Fjarlægið boltana tvo og rærnar tvær sem festa fyrirliggjandi mótvægislóð framan á vinnuvélinni (Mynd 13).
Note: Ef vinnuvélin er með ljósasett þarf að fjarlægja róna og boltann sem festa framljósið við vinnuvélina. Geymið alla hluta; sjá uppsetningarleiðbeiningar fyrir ljósasett.

Bætið við eða fjarlægið mótvægi eftir þörfum.
Festið mótvægið með boltunum tveimur og rónum tveimur.
Note: Ef vinnuvélin er með ljósasett er framljósið fest við vinnuvélina með því að stinga bolta í gegnum mótvægislóðin og festa hann með ró; sjá uppsetningarleiðbeiningar fyrir ljósasett.
Rennið dráttarbitanum undir vinnuvélina að aftan.
Rennið keðjunum undir kaplana.
Komið hengslum fyrir við enda hverrar lyftikeðju.
Important: Gangið úr skugga um að ekki sé snúið upp á keðjurnar.
Látið hvert hengsli flútta við viðeigandi hlið lyftibúnaðar tengitækis vinnuvélarinnar (Mynd 14).

Festið hvert hengsli fyrir sig með sjálflæsandi ró (5/16 to.) og bolta (5/16 x 2½ to.).
Note: Gangið úr skugga um að skrúfgangur hvers bolta fyrir sig snerti næloninnlegg sjálflæsandi róarinnar og hvert hengsli snúist hindrunarlaust.
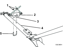
Látið stangarenda dráttarbitans flutta við tengibúnað grindarinnar (Mynd 15).

Setjið stöðuhólk sitt hvoru megin við stangarendann og stingið boltanum (¾ x 4½ to.) í gegnum grindarfestinguna, stangarendann og stöðuhólkana.
Festið boltann með lásrónni (¾ to.) og herðið með 163 til 217 N-m (120 til 160 ft-lb) hersluátaki.
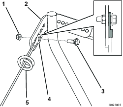
Fjarlægið róna og boltann sem halda hlíf hljóðkútsins á sínum stað aftan á vinnuvélinni (Mynd 16).

Látið boltagöt grindarfestingarinnar flútta við boltagöt grindarinnar.
Note: Gangið úr skugga um að keðjurnar séu lagðar í kross eins og sýnt er á Mynd 17.

Festið grindarfestinguna með fjórum boltum (5/16 x 1 to.) og fjórum sjálflæsandi róm (5/16 to.), sjá Mynd 16).
Snúið hrífunni til einnar hliðar. Stoppboltinn ætti að snerta dráttarbitann þegar hrífan er 51 mm (2 to.) frá hjólbarðanum (Mynd 18).
Engin þörf er á frekari stillingu ef 51 mm (2 to.) fríbil er á milli hrífunnar og hjólbarðans.

Athugið hvort nægilegt fríbil eða of mikið fríbil er á milli hjólbarðans og hrífunnar.
Losið um sjálflæsandi róna ef ekki er nægilegt fríbil til staðar.
Losið um festiróna ef of mikið fríbil er til staðar.
Note: Komið skrúflykli fyrir á ferhyrnda hálsi boltans til að koma í veg fyrir að boltinn snúist.

Þegar stoppboltinn er í réttri stöðu og 51 mm (2 to.) fríbil er á milli hrífunnar og hjólbarðans skal herða viðeigandi ró.
Herðið festiróna núna ef losað var um sjálflæsandi róna.
Herðið sjálflæsandi róna núna ef losað var um festiróna.
Note: Komið skrúflykli fyrir á ferhyrnda hálsi boltans til að koma í veg fyrir að boltinn snúist.
Endurtakið þetta ferli fyrir hinn stoppboltann.
Gangið úr skugga um að hrífan snerti ekki hjólbarðana á hreyfingu.
Gangið úr skugga um að loftþrýstingur í hjólbörðum sé 48 kPa (7 psi).
Akið vinnuvélinni í sandgryfju með flötu yfirborði, ef því er við komið.
Látið hrífuna síga og beygið vinnuvélina til vinstri við akstur þannig að hrífan snúist heilan hring.
Stöðvið vinnuvélina, svissið af, setjið stöðuhemilinn á, fjarlægið lykilinn og bíðið þar til allir hlutir á hreyfingu hafa stöðvast.
Stígið af vinnuvélinni og skoðið vinstri hluta sléttunarferlisins í sandinum.
Note: Hrífan ætti að raka yfir hjólförin en ætti ekki að snerta sandinn dýpra en sem nemur hjólförunum. Frekari upplýsingar er að finna í Lyfti- og snúningskerfið stillt ef sléttunarmynstrið er rangt.
Endurtakið ferlið fyrir hægri hlið hrífunnar.
Ljúkið skrefum 1 til 5 á Skoðun sléttunarmynsturs.
Snúið hrífunni alla leið til annarrar hliðar.
Í innanverðum snúningnum (t.d. vinstra megin ef hrífunni er snúið til vinstri) skal ákvarða hvort að hrífan snerti sandinn um of og sléttir dýpra en hjólförin, eða snerti ekki sandinn nægilega til að slétta yfir hjólförin.
Gætið að opinu sem efsti hluti kapalsins er festur við.
Fjarlægið axlarboltann og sjálflæsandi róna og færið endann á kaplinum í viðeigandi op.
Þegar hrífan snertir sandinn um of og sléttir út yfir hjólförin skal færa efsta hluta kapalsins í op sem er nær miðju bómunnar.

Þegar hrífan snertir ekki sandinn nægilega mikið til að slétta yfir hjólförin skal færa efsta hluta kapalsins í op sem er lengra frá miðju bómunnar.
Notið axlarboltann og sjálflæsandi róna til að festa kapalinn á sínum stað.
Note: Gangið úr skugga um að endi kapalsins sé í sömu stöðu og sýnt er á Mynd 20 til að draga úr hættu á viðloðun.
Endurtakið ferlið á hinni hliðinni.
Hægt er að stilla dýpt hrífunnar til að auka eða draga úr róti á efninu. Þegar brún hrífunnar er hallað fram (Mynd 21), í áttina að vinnuvélinni, tekur hrífan með sér meira af efni og rótar dýpra í efninu. Þegar brún hrífunnar er hallað aftur á bak (Mynd 23), í áttina frá vinnuvélinni, tekur hrífan með sér minna af efni og rótar grynnra í efninu.



Fjarlægið fremri rærnar og boltana sem halda hrífunni fastri við festinguna (Mynd 24).

Losið um aftari rær og bolta.
Stillið æskilega dýpt hrífunnar og notið viðeigandi op.
Note: Við miðstillingu eru opin nær aftari boltunum notuð. Opin sem er lengra frá aftari boltunum eru notuð fyrir hinar tvær stöðurnar.
Stingið boltunum í opin og festið með rónum.
Herðið rærnar á fremri og aftari boltunum.
Notið tengitækisrofann á hægri stjórnstöng vinnuvélarinnar til að hækka og lækka hrífuna.
Ýtið rofanum upp á við til að hækka hrífuna og ýtið rofanum niður á við til að lækka hrífuna; nánari upplýsingar er að finna í notendahandbók vinnuvélarinnar.
Ef vinnuvélinni er ekið án uppsetts tengitækis er hætta á að hún velti og valdi meiðslum á fólki eða eignaskemmdum.
Ekki aka vinnuvélinni án uppsetts viðurkennds tengitækis frá Toro.
Aftengið dráttarbitann af krók undirvagnsins.
Aftengið hengslin af lyftibúnaði tengitækisins.
Fjarlægið grindarfestinguna sem er aftan á vinnuvélinni.
Lesið þennan hluta um sléttun vandlega yfir áður en byrjað er að slétta sandgryfju. Margir þættir hafa áhrif á hvaða stillingar eru nauðsynlegar. Áferð og dýpt sands, rakastig, gróður og þéttni eru allt þættir sem eru ólíkir á milli golfvalla og jafnvel á milli gryfja innan sama vallar. Stillið hrífuna til að tryggja besta mögulega árangur á hverju svæði fyrir sig.
Æfa skal sléttun í stórri og sléttri sandgryfju á golfvelli. Æfið að taka af stað og stöðva, beygja, hífa hrífuna og láta hana síga, akstur inn í og út úr gryfju o.s.frv. Æfið með vélina á hæfilegum snúningshraða og á hægum aksturshraða. Slík æfing mun gera stjórnanda kleift að læra á vinnuvélina.
Ráðlagt mynstur við sléttun gryfju er sýnt á Mynd 25. Þetta mynstur kemur í veg fyrir óþarfa skörun, heldur þjöppun í lágmarki og skilar áferðarfallegu mynstri í sandinn. Þetta er skilvirkasta sléttunaraðferðin en þó er nauðsynlegt að breyta sléttunarmynstrinu með reglulegu millibili til að koma í veg fyrir myndun þvottabrettis.

Akið á langveginn inn í beina gryfju, þar sem bakkinn er lægstur. Akið í gegnum miðju gryfjunnar, næstum út að hinum enda hennar, og takið svo eins skarpa beygju og hægt er í aðra hvora áttina og akið næstu yfirferð til baka. Akið í spíral út á við eins og sýnt er á Mynd 25 og akið út úr gryfjunni á sléttu svæði hægra megin.
Skiljið eftir bratta og stutta bakka og dældir og sléttið þau svæði í höndunum.
Þegar ekið er inn í gryfju skal ekki láta hrífuna síga fyrr en hún er öll fyrir ofan sand. Þannig er komið í veg fyrir að grassvörðurinn skemmist eða gras eða önnur óhreinindi berist í gryfjuna. Látið hrífuna síga á meðan vinnuvélinni er ekið áfram.
Þegar ekið er út úr gryfjunni skal byrja að hífa hrífuna um leið framdekkin eru komin úr gryfjunni. Þannig er hrífan komin á loft þegar vinnuvélin ekur út úr gryfjunni og enginn sandur berst yfir á grasið.
Með tíð og tíma lærir stjórnandinn rétta tímasetningu við akstur inn í og út úr gryfjunni.
| Problem | Possible Cause | Corrective Action |
|---|---|---|
| Dropalaga svæðið er ekki sléttað. |
|
|
| Útlit svæðisins sem var sléttað er óviðunandi. |
|
|
| Hrífan snertir hjólbarðana. |
|
|
| Ósléttaðar hrúgur eru þar sem hliðarhlutar hrífunnar snúast frá miðjuhlutanum. |
|
|
| Greinileg hjólför eru á sléttaða svæðinu. |
|
|