この説明書を読んで製品の運転方法や整備方法を十分に理解し、他人に迷惑の掛からないまた適切な方法でご使用ください。この製品を適切かつ安全に使用するのはお客様の責任です。
弊社のウェブサイト www.Toro.com で製品やアクセサリ情報の閲覧、代理店についての情報閲覧、お買い上げ製品の登録などを行っていただくことができます。
整備について、また純正部品についてなど、分からないことはお気軽に弊社代理店またはカスタマーサービスにおたずねください。お問い合わせの際には、必ず製品のモデル番号とシリアル番号をお知らせください。図 1にモデル番号とシリアル番号を刻印した銘板の取り付け位置を示します。いまのうちに番号をメモしておきましょう。

この説明書では、危険についての注意を促すための警告記号図 2を使用しております。死亡事故を含む重大な人身事故を防止するための注意ですから必ずお守りください。

この他に2つの言葉で注意を促しています。重要「重要」は製品の構造などについての注意点を、注はその他の注意点を表しています。
カリフォルニア州
第65号決議による警告
米国カリフォルニア州では、この製品を使用した場合、ガンや先天性異常などを誘発する物質に触れる可能性があるとされております。
レーキが適切に動作するためには、車両のタイヤ空気圧が適切であることが重要です。適正空気圧(48 kPa = 0.49 kg/cm2 = 7 psi)に調整してください。(図 3)。
最も正確な測定ができるよう、調整はタイヤが冷えている状態で行ってください。
空気圧:48 kPa(0.49 kg/cm2=7 psi)

新しいマシンにレーキを取り付ける前に、車体についている出荷用ボードを取り外す必要があります。
出荷用ボードとブロア後部とを接続しているナット、ボルト、ワッシャを取り外す。

ボードを取り外し、ボルト類とともに廃棄する。
この作業に必要なパーツ
| センターアセンブリ | 1 |
| 右サイドアセンブリ | 1 |
| 左サイドアセンブリ | 1 |
| ボルト(3/4 x 3-1/2 インチ) | 2 |
| ロックナット(¾") | 2 |
| 長いスペーサ | 2 |
| ケーブルガード | 2 |
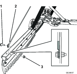
センター・アセンブリのトッププレートが前を向くように、また、各サイド・アセンブリのトッププレートが後ろを向くように、各アセンブリを配置する(図 5)。

各サイドアセンブリのピボット穴に、長いスペーサを入れる(図 6)。

右サイド・アセンブリのピボット穴を、センター・アセンブリの右側のピボット穴に整列させる。
ピボット穴にケーブルガードを整列させ、これらを固定する;ボルト(3/4 x 3-1/2 インチ)とロックナット(3/4 インチ)を使用し、163 - 217 N.m(16.6 - 22.1 kg.m = 120 -160 ft-lb)にトルク締めする;図 6を参照。
Note: サイドアセンブリが自由にピボットすることを確認してください。必要に応じてナットとボルトを少しゆるめてもかまいません。レーキの首振り範囲のどの位置でも、キャリッジボルト同士が接触してはいけません。
左サイド・アセンブリのピボット穴を、センター・アセンブリの左側のピボット穴に整列させる。
ピボット穴にケーブルガードを整列させ、これらを固定する;ボルト(3/4 x 3-1/2 インチ)とロックナット(3/4 インチ)を使用し、163 - 217 N.m(16.6 - 22.1 kg.m = 120 -160 ft-lb)にトルク締めする;図 6を参照。
Note: サイドアセンブリが自由にピボットすることを確認してください。必要に応じてナットとボルトを少しゆるめてもかまいません。レーキの首振り範囲のどの位置でも、キャリッジボルト同士が接触してはいけません。
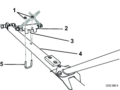
この作業に必要なパーツ
| 牽引バー | 1 |
| ボルト(3/4 x 3-1/2 インチ) | 1 |
| ロックナット(3/4 インチ) | 1 |
| 長いスペーサ | 1 |
牽引バーの後部の穴に、長いスペーサを入れる(図 7)。

牽引バーの後部の穴を、ピボットアセンブリの穴に合わせる。
ボルト(3/4 x 3-1/2 インチ)を使って牽引バーをピボットアセンブリに固定する。
ボルトにロックナット(3/4 インチ)を取り付け、163 - 217 N.m(16.6 - 22.1 kg.m = 120 - 160 ft-lb)にトルク締めする。
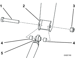
この作業に必要なパーツ
| ブームアセンブリ | 1 |
| キャリッジボルト( 3/8 x 3/4 インチ) | 2 |
| フランジナット(⅜") | 2 |
| ボルト(¼ x ⅝") | 1 |
ブームアセンブリの底部のプレートにある穴を、牽引バーの後部の近くにあるプレートの穴に整列させる(図 8)。

穴にキャリッジボルト(3/8 x 3/4 インチ)(2本)を差し込み、フランジナット(3/8 インチ)(2個)で固定する。
プレート前面にある穴にボルト(1/4 x 5/8 インチ)を取り付ける。
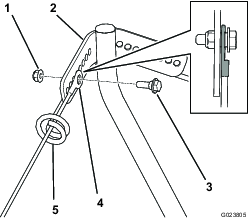
この作業に必要なパーツ
| ケーブル | 2 |
| ショルダボルト | 4 |
| フランジナット (5/16") | 4 |
各ケーブルの端部を、レーキの端部の穴に合わせる(図 9)。
Note: ケーブルの絡みつきなどが起こらないようにするため、ケーブル端部は図 9に示すように固定してください。

各ケーブルをショルダボルトとフランジナット(5/16 インチ)で固定する。
各ケーブルのもう一方の端部を、それぞれのケーブルサポートに通し、ブームアセンブリ上部の穴に取り付ける(図 10)。
Note: ケーブルの絡みつきなどが起こらないようにするため、ケーブル端部は図 10に示すように固定してください。

各ケーブルの上部をショルダボルトとフランジナット(5/16 インチ)で固定する。
Note: 取り付け終了後、必要に応じて上部ケーブルの位置を調整してください; リフトインターン・システムを調整するを参照。
この作業に必要なパーツ
| ストップチェーン・アセンブリ | 1 |
| Uボルト | 1 |
| フランジナット (5/16") | 2 |
牽引バーブラケットについているセンタータブを、牽引バーの中央にある穴に合わせる(図 11)。

Uボルトを取り付け、フランジナット(5/16 インチ)2個で固定する。

フレックス・ツースレーキには、ウェイトはマシンに付属しているウェイトが4個必要です。必ず、規定数のウェイトを取り付けて使用するようにしてください。
マシン前部に搭載すべきウェイトの数を、下の表で確認してください。
| アタッチメント | 必要なウェイトの個数 |
|---|---|
| フレックスツースレーキ | 4 |
| フレックスツース+仕上げブラシ | 6 |
| ネイルドラッグ | 6 |
| ネイルドラッグ+仕上げドラッグマット | 8 |
車体前部についている既存のウェイトのボルト(2本)とナット(2本)を外す(図 13)。
Note: 車体にライト(照明)キットが取り付けられている場合には、ヘッドライトを固定しているナットとボルトを外す。外した部品はすべて保管する;照明キット取り付け要領書を参照のこと。

必要に応じてウェイトの取り付けや取り外しを行う。
ウェイトを固定する;ボルト2本とナット2個を使用する。
Note: 車体にライト(照明)キットを取り付ける場合には、ヘッドライト・ボルトをウェイトに通し、ナットで固定してヘッドライトを固定します;照明キット取り付け要領書を参照。
牽引バーを車体後部の下に引き入れる。
チェーンはケーブルの下を通して配設してください。
それぞれの昇降チェーンの端部にシャックルを取り付ける。
Important: チェーンがよじれていないことを確認する。
各シャックルを、機体側の昇降装置に合わせる(図 14)。

それぞれのシャックルを、フランジロックナット(5/16 インチ)とボルト(5/16 x 2-1/2 インチ)で固定する。
Note: 各ボルトのねじ山が、フランジロックナットのナイロン製のインサートに接触するよう、また、各シャックルが自由にピボット動作するようにしてください。
牽引バーのロッド端部フレームヒッチに合わせる(図 15)。

ロッド端部の左右のスペーサをロッドに整列させ、フレームヒッチとスペーサとロッドにボルト(3/4 x 4-1/2 インチ)を通して相互に連結する。
ボルトにロックナット(3/4 インチ)を取り付け、163 - 217 N.m(16.6 - 22.1 kg.m = 120 - 160 ft-lb)にトルク締めする。
レーキを左右どちらかに振る。レーキがタイヤから 51 mm 離れた位置でストップボルトが牽引バーに接触するかどうか確認する(図 18)。
ストップボルトとタイヤとの間に 51 mm のすきまがあれば調整は不要である。

タイヤとレーキとの間のすきまが大きすぎるか小さすぎるかを判断する。
すきまが小さすぎる場合はフランジロックナットをゆるめる。
すきまが大きすぎる場合はジャムナットをゆるめる。
Note: ボルトの首の四角い部分にレンチを当てておくとボルトが回転しません。

ストップボルトが正しい位置(レーキとタイヤとの距離が 51 mm)に調整できたら、先ほどゆるめたナットの対向ナットを元通りに締め付ける。
フランジロックナットをゆるめた場合には、ジャムナットを締め付ける。
ジャムナットをゆるめた場合には、フランジロックナットを締め付ける。
Note: ボルトの首の四角い部分にレンチを当てておくとボルトが回転しません。
もう一方のストップボルトにも同じ作業を行う。
レーキの首振り範囲のどの位置でも、レーキがタイヤに接触しないことを確認する。
タイヤが適正空気圧(48 kPa = 0.49 kg/cm2 = 7 psi)に調整されていることを確認する。
マシンをサンドトラップ(できればフラットな場所)に乗り入れる。
レーキを降下させ、左旋回でレーキが最大角度になるようにして走行する。
走行を停止し、エンジンを停止し、駐車ブレーキを掛け、キーを抜き取り、可動部すべての動作が停止するのを待つ。
マシンから降りて、レーキが砂の上を通った道筋を確認する。
Note: タイヤが通ったあとをレーキがきちんと均していて、タイヤ跡からレーキがはみ出ていなければ良い。レーキの通り道が規定どおりでない場合にはリフトインターン・システムを調整するを参照。
右側のレーキについても同じ作業を行う。
ステップ 1 から 5 まで(均しパターンを調整する)を行う。
レーキを左右どちらか一杯に振る。
ターンの内側(レーキが左に振られている場合には左側)で、レーキがタイヤ跡よりも深く砂を掻いているのか、それとも砂とレーキとの当たりが不十分なためにタイヤ跡が消えないのかを判断する。
ケーブルの上部が取り付けてある穴の位置を確認する。
ショルダボルトとフランジナットを外し、ケーブルを適当な穴に移動する。
レーキが砂を掻きすぎていてタイヤ跡よりも外にはみ出ている場合には、ケーブル上部をブームの中心に近い穴に移動する。

レーキが砂を十分に掻いておらず、タイヤ跡が消えない場合には、ケーブル上部をブームの中心から遠いほうの穴に移動する。
ショルダボルトとフランジナットでケーブルを固定する。
Note: ケーブルの絡みつきなどが起こらないようにするため、ケーブル端部は図 20に示すように固定してください。
マシンのもう一方の側でも同じ作業を行う。
レーキのピッチを調整することにより、レーキの食い込み深さを調整することができます。レーキのエッジを前方に、すなわち機体に向ける(図 21)ように調整すると、レーキの食い込み深さが大きく、かきだし量が多くなります。レーキのエッジを後方に、すなわち機体と反対側に向ける(図 23)ように調整すると、レーキの食い込み深さが浅く、かきだし量が少なくなります。



レーキ・アセンブリをブラケットに固定している前側 ナットとボルトを外す(図 24)。

後側ナットおよびボルトをゆるめる。
好みのピッチにレーキを調整し、その調整に最も近い穴に合わせる。
Note: 中間位置の場合は、後ボルトに近い穴を使用する。それ以外の2つの位置の場合は、後ボルトから遠い穴を使用する。
穴にボルトを通し、ナットで固定する。
前側および後側のボルトのナットを締めつける。
レーキの上昇・下降は、アタッチメントスイッチ(マシン右側のコントロールハンドルについている)で行います。
スイッチの上側を押すとレーキが上昇し、スイッチの下側を押すとレーキが下降します;マシン本体の オペレーターズマニュアルを参照。
アタッチメントを取り付けずに法面を上ると、転倒して人身事故または物損事故を起こす危険がある。
マシンは、必ず、トロが承認したアタッチメントを取り付けた状態で運転すること。
フレームヒッチから牽引バーを外す。
アタッチメント昇降装置からシャックルを外す。
機体後部からフレームブラケットを外す。
実際にレーキ作業を行う前に、この項全体をよく読んでください。バンカーのコンディションは千差万別なので、色々な調整が必要になります。砂の質や深さ、湿り具合、雑草の有無、固結の状態など様々な要因が色々に重なり合い、ゴルフ場によって、さらにはバンカーごとにも異なっています。ですから、作業する場所の条件に合わせて、最も良い結果が得られるようにレーキを調整してください。
最初はなるべく広くてフラットなサンドバンカーを選んで練習してください。発進、停止、旋回、レーキの上昇と下降、バンカーへの出入りなどを練習します。エンジンの速度を中程度に調整し、ゆっくりとした走行で練習しましょう。十分に練習してマシンの操作に慣れれば、運転にも作業にも自信が生まれてきます。
図 25に一般的に推奨されるレーキングのパターンを示します。このパターンで作業すると、無駄な重なりをなくし、固結を最小限に抑えながら、美しい砂模様を作ることができます。これが最も効率の良いレーキ方法ですが、レーキングのパターンを固定するとそのうち洗濯板のようになりますから、これを避けるためにパターンを定期的に変更するようにしてください。

バンカーの長い軸に沿って、壁が一番低くなっているところから真っ直ぐに中に入ります。バンカーの中心線に沿ってほぼ反対側まで真っ直ぐにレーキを掛け、左右どちらかになるべく小さくUターンし、ぴったり折り返すようにしてレーキ作業を続けますこの操作を繰り返して、図 25に示すように外へ外へとらせん状にレーキ掛けを行い、最後に、平らな場所からほぼ直角に外へ出ます。
急斜面、非常に小さいバンカー、ポケット部などには無理に入り込まず、後から手作業で仕上げてください。
バンカーに入る時には、レーキが実際に砂の上に降りるまで、レーキを下げてはいけません。レーキを早く下げてしまうと、ターフを傷つけたり、刈りかすやその他のゴミをバンカーの中に引きずりこんでしまったりします。レーキは、走行しながら下げてください。
バンカーを出る時には、前輪がバンカーを出た時を見計らってレーキを上昇させます。そのままスムーズにバンカーを出れば、ターフの中に砂を引きずり込んだりすることなく、きれいに出ることができます。
バンカーへの出入りのタイミングは、少しの練習と経験で、すぐに身に着けることができます。
| Problem | Possible Cause | Corrective Action |
|---|---|---|
| グルーミングし残した部分が雨だれ形に残る。 |
|
|
| 作業跡がきれいでない。 |
|
|
| レーキがタイヤに接触する。 |
|
|
| レーキのサイドアセンブリとセンターアセンブリとの接続部のところがグルーミングされない。 |
|
|
| 作業した場所にタイヤ跡が残る。 |
|
|