Les denne håndboken nøye, slik at du lærer å bruke og vedlikeholde produktet på riktig måte og unngår person- eller produktskade. Du har ansvar for å bruke produktet på en riktig og sikker måte.
Du kan kontakte Toro direkte på www.Toro.com for informasjon om produkter og tilbehør, hjelp til å finne en forhandler eller for å registrere produktet ditt.
Hvis maskinen må repareres eller du trenger originale Toro-deler eller mer informasjon, kan du kontakte et autorisert forhandlerverksted eller Toros kundeserviceavdeling. Ha modell- og serienummer for hånden når du tar kontakt. Figur 1 viser plasseringen av modell- og serienummeret på produktet. Skriv inn numrene i de tomme feltene.

Denne brukerhåndboken identifiserer mulige farer og identifiserer sikkerhetsbeskjeder gjennom sikkerhetsvarslingssymbolet (Figur 2) som varsler om en fare som kan føre til alvorlige skader eller dødsfall hvis man ikke tar de anbefalte forhåndsreglene.

I tillegg brukes to ord for å utheve informasjon. Viktig gjør oppmerksom på spesiell mekanisk informasjon og Obs henviser til generell informasjon som er verdt å huske.
CALIFORNIA
Proposition 65-advarsel
Bruk av dette produktet kan forårsake eksponering for kjemikalier som staten California vet forårsaker kreft, fødselsdefekter eller annen forplantningsskade.
For at raken skal fungere korrekt, er det viktig at maskinen har korrekt dekktrykk. Påse at dekktrykket er 0,48 bar(Figur 3).
Kontroller dekktrykket når dekkene er kalde for å få den mest nøyaktige avlesningen.
Trykk: 0,48 bar

Før du kan montere raken på en ny maskin, må du fjerne transportbordet fra maskinen.
Fjern mutrene, boltene og skivene som fester transportbordet på baksiden til maskinen.

Sette bort festene og transportbordet.
Deler som er nødvendige for dette trinnet:
| Midtre enhet | 1 |
| Høyre sideenhet | 1 |
| Venstre sideenhet | 1 |
| Bolt (3/4 x 3-1/2 tomme) | 2 |
| Låsemutter (¾ tomme) | 2 |
| Langt avstandsstykke | 2 |
| Kabelvern | 2 |
Plasser enhetene slik at topplaten til midtre enhet vender fremover og topplaten til sideenhetene vender bakover (Figur 5).

Sett inn et langt avstandsstykke i svinghullet til hver sideenhet (Figur 6).

Innrett svinghullet i høyre sideenhet med svinghullet på høyre side av midtre enhet.
Innrett et kabelvern over svinghullet, og fest enhetene med en bolt (3/4 x 3 1/2 tomme) og en låsemutter (3/4 tomme) strammet til 163 til 217 N·m, se Figur 6.
Note: Påse at sideenheten svinger fritt. Løsne mutteren og bolten litt ved behov. Påse at låseboltene ikke kommer i kontakt med hverandre i løpet av bevegelssyklusen.
Innrett svinghullet i venstre sideenhet med svinghullet på venstre side av midtre enhet.
Innrett et kabelvern over svinghullet, og fest enhetene med en bolt (3/4 x 3 1/2 tomme) og en låsemutter (3/4 tomme) strammet til 163 til 217 N·m, se Figur 6.
Note: Påse at sideenheten svinger fritt. Løsne mutteren og bolten litt ved behov. Påse at låseboltene ikke kommer i kontakt med hverandre i løpet av bevegelssyklusen.
Deler som er nødvendige for dette trinnet:
| Slepeutstyr | 1 |
| Bolt (3/4 x 3-1/2 tomme) | 1 |
| Låsemutter (3/4 tomme) | 1 |
| Langt avstandsstykke | 1 |
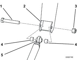
Sett inn et langt avstandsstykke i hullet bak på slepeutstyret (Figur 7).

Innrett hullet bak på slepeutstyret med hullet i svingenheten.
Sett inn bolten (3/4 x 3-1/2 tomme) for å feste slepeutstyret til svingenheten.
Monter låsemutteren (3/4 tomme) på bolten og stram til 163 til 217 N·m.
Deler som er nødvendige for dette trinnet:
| Bomenhet | 1 |
| Låsebolt (3/8 x 3/4 tomme) | 2 |
| Flensmutter (3/8 tomme) | 2 |
| Bolt (1/4 x 5/8 tomme) | 1 |
Innrett hullene i platen i bunnenden av bomenheten med hullene i platen nær bak på slepeutstyret (Figur 8).

Sett inn to låsebolter (3/8 x 3/4 tomme) i hullene, og fest boltene med to flensmutre (3/8 tomme),
Sett bolten (1/4 x 5/8 tomme) i hullet foran på platene.
Deler som er nødvendige for dette trinnet:
| Kabel | 2 |
| Skulderbolt | 4 |
| Flensmutter (5/16 tomme) | 4 |
Innrett enden til hver kabel med et hull i enden av raken (Figur 9).
Note: For å redusere muligheten for at de setter seg fast, påse at kabelendene er plassert som vist i Figur 9.

Fest hver kabel med en skulderbolt og en flensmutter (5/16 tomme).
Før hver kabelende gjennom passende kabelstøtte, og innrett hver ende med et hull øverst i bomenheten (Figur 10).
Note: For å redusere muligheten for at de setter seg fast, påse at kabelendene er plassert som vist i Figur 10.

Fest toppen til hver kabel med en skulderbolt og en flensmutter (5/16 tomme).
Note: Juser øvre kabelposisjon som nødvendig etter fullføring av installasjonen. Se Juster løft-i-tur-systemet.
Deler som er nødvendige for dette trinnet:
| Stoppkjede | 1 |
| U-bolt | 1 |
| Flensmutter (5/16 tomme) | 2 |
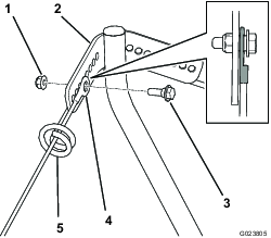
Innrett midtre tapp på slepeutstyrbraketten med hullet midt på slepeutstyret (Figur 11).

Monter U-bolten og fest den med to flensmuttere (5/16 tomme).

Flex-tannraken krever fire vekter som er inkludert med maskinen. Påse alltid at maskinen har passende antall vekter.
Se følgende tabell for hvor mange vekter som kreves foran på maskinen.
| Tilbehør | Antall påkrevde vekter |
|---|---|
| Flex-tannrake | 4 |
| Flex-tannrake med finishingbørste | 6 |
| Spikertrekk | 6 |
| Spikertrekk med trekkmatte | 8 |
Fjern de to boltene og mutterne som fester de eksisterende vektene foran på maskinen (Figur 13).
Note: Hvis maskinen er utstyrt med lyssettet, fjern mutteren og bolten som fester frontlyset på maskinen. Behold alle delene. Se Monteringsinstruksjoner for lyssett.

Legg til eller fjern vekter som nødvendig.
Fest vektene med de to boltene og mutrene.
Note: Hvis maskinen er utstyrt med lyssettet, monter frontlyset ved å sette inn bolten gjennom vektene og feste det med mutteren. Se Monteringsinstruksjoner for lyssett.
Skyv slepeutstyret under baksiden til maskinen.
Før kjedene under kablene.
Monter en laske på enden til hver løftekjetting.
Important: Pass på at kjettingene ikke blir vridd.
Innrett hver laske med passende side av tilbehørsheisen på maskinen (Figur 14).

Fest hver laske med en flenslåsemutter (5/16 tomme) og en bolt (5/16 x 2-1/2 tomme).
Note: Påse at gjengene til hver bolt er i kontakt med nyloninnlegget på flenslåsemutteren, og at hver laske svinger fritt.
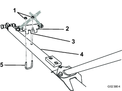
Innrett stangenden av slepeutstyret til rammefestet (Figur 15).

Innrett et avstandsstykke på hver side av stangenden, og sett inn bolten (3/4 x 4-1/2 tommer) gjennom rammefestet, stangenden og avstandsstykkene.
Fest bolten med låsemutteren (3/4 tomme) strammet til 163 til 217 N·m.
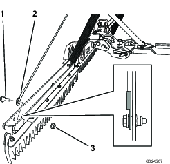
Fjern mutteren og bolten som fester lyddemperskjermen til baksiden av maskinen (Figur 16).

Innrett bolthullene i rammebraketten med bolthullene i rammen.
Note: Påse at kjeden krysses som vist i Figur 17.

Fest rammebraketten med fire bolter (5/16 x 1 tomme) og fire flensmutre (5/16 tomme), se Figur 16).
Sving raken til en side. Stoppbolten skal komme i kontakt med slepeutstyret når raken er 51 mm fra dekket (Figur 18).
Det er ikke nødvendig å justere hvis det er 51 mm klaring mellom raken og dekket.

Avgjør om klaringen mellom raken og dekket er for liten eller for stor.
Løsne flenslåsemutteren hvis klaringen er for liten.
Løsne låsemutteren hvis klaringen er for stor.
Note: Bruk en skrunøkkel på boltens firkantansats for å hindre at den roterer.

Stram passende mutter når stoppbolten er på plass, dvs. når det er 51 mm klaring mellom raken og dekket.
Stram låsemutteren hvis du løsnet flenslåsemutteren.
Stram flenslåsemutteren hvis du løsnet låsemutteren.
Note: Bruk en skrunøkkel på boltens firkantansats for å hindre at den roterer.
Gjenta prosedyren for den andre stoppbolten.
Påse at raken ikke kommer i kontakt med dekkene i bevegelsessyklusen.
Påse at dekkene fylles til 0,48 bar.
Kjør maskinen til en sandbunker med en flat bunn hvis mulig.
Med raken i senket stilling, sving maskinen til venstre mens du kjører slik at raken svinges helt.
Stopp maskinen, stopp motoren, sett på parkeringsbremsen, ta ut nøkkelen og vent til alle bevegelige deler står stille.
Gå ut av maskinen, og undersøk venstre side av rakebanen i sanden.
Note: Raken skal rake bort dekksporene, men ikke berøre sanden utenfor dekksporene. Se Juster løft-i-tur-systemet hvis rakebanen ikke er korrekt.
Gjenta prosedyren for rakens høyre side.
Fullfør trinn 1 til og med 5 i Undersøke rakemønsteret.
Sving raken helt til en side.
På innsiden av svingen, (f.eks. venstre side hvis raken svinges til venstre), avgjør hvorvidt raken sitter for dypt i sanden og raker sand utenfor dekksporene, eller om den ikke sitter dypt nok i sanden til å rake bort dekksporene.
Merk deg hvilket hull den øvre kabelenden er festet i.
Fjern skulderbolten og flensmutteren, og fjern kabelenden til passende hull.
Hvis raken sitter for dypt i sanden og raker utenfor dekksporene, flytt den øvre kabelenden til et hull nærmere midten av bommen.

Hvis raken ikke sitter dypt nok i sanden til å rake bort dekksporene, flytt den øvre kabelenden til et hull lengre unna midten av bommen.
Fest kabelen med skulderbolten og flensmutteren.
Note: For å redusere muligheten for at den setter seg fast, påse at kabelenden er plassert som vist i Figur 20.
Gjenta prosedyren på den andre siden.
Du kan justere rakestigningen for å øke eller redusere materialristing. Hvis rakens kant er vinklet framover (Figur 21), dvs. mot maskinen, vil raken kunne bære mer materiale og riste materialet på et dypere nivå. Hvis rakens kant er vinklet bakover (Figur 23), dvs. bort fra maskinen, vil raken kunne bære mer materiale og riste materialet på et dypere nivå.



Fjern de fremre mutrene og boltene som fester rakeenheten til braketten (Figur 24).

Løsne de bakre mutrene og boltene.
Juster raken til ønsket stigning, slik at de riktige hullene er innrettet.
Note: Den midtre stillingen bruker hullene som ligger nærmere de bakre boltene. De andre to stillingene bruker hull som ligger lengre vekk fra de bakre boltene.
Monter boltene i hullene, og fest dem med mutrene.
Trekk til mutrene på de fremre og bakre boltene.
For å heve og senke raken, bruk tilbehørsbryteren på det høyre kontrollhåndtaket til maskinen.
Trykk oppover på bryteren for å heve raken, og trykk nedover på bryteren for å senke raken. Se maskinens Brukerhåndbok.
Hvis du kjører maskinen uten montert tilbehør, kan den velte og skade person eller eiendom.
Ikke kjør maskinen uten Toro-godkjent tilbehør montert.
Koble slepeutstyret fra rammefestet.
Koble laskene fra tilbehørsheisen.
Fjern rammebraketten fra baksiden av maskinen.
Les hele denne delen om raking før du raker en sandbunker. Det er mange driftsforhold som er med på å avgjøre hvilke justeringer som er nødvendig. Teksturen og dybden av sanden, fuktinnhold, ugress, komprimeringsgrad – alle disse faktorene kan variere fra bane til bane, eller til og med fra bunker til bunker på samme bane. Juster raken for å oppnå optimale resultater i ditt område.
Øv deg på raking i en stor og jevn bunker på banen. Øv deg på å starte og stoppe, snu, heve og senke raken, kjøre inn i og ut av bunkeren osv. Øv deg i moderat motorturtall og langsom kjørehastighet. Denne treningen vil hjelpe føreren å bli kjent med maskinytelsen.
Det anbefalte mønsteret for raking av en bunker vises på Figur 25. Dette mønsteret unngår unødvendig overlapping og presser underlaget minst mulig sammen, i tillegg til at det blir et fint mønster i sanden. Dette er den mest effektive rakemetoden. Men det er viktig å variere rakemønsteret regelmessig for å unngå vaskebretteffekt.

Kjør inn i bunkeren fra kortsiden, der banken er minst bratt. Kjør gjennom midten av bunkeren nesten til enden, snu så skarpt du kan til en av sidene og kom tilbake ved siden av den første raden. Kjør i en spiral utover som vist på Figur 25 og forlat bunkeren i riktig vinkel i et flatt område.
Utelat bratte, korte banker og små lommer, og gå i stedet over disse med en håndrake.
Når du kjører inn i bunkeren, må du ikke senke raken før den er over sanden. Dermed unngår du å klippe plenen eller dra klippet gress eller andre rester inn i bunkeren. Senk raken mens maskinen beveger seg.
Når du forlater bunkeren, begynner du å heve raken når forhjulet forlater bunkeren. Når maskinen kjører ut, vil raken løftes slik at det ikke dras sand ut på gresset.
Operatøren vil snart, gjennom øvelse og erfaring, lære seg å kjøre inn i og ut av bunkeren i riktig flyt og tempo.
| Problem | Possible Cause | Corrective Action |
|---|---|---|
| Et tåreformet område blir ikke trimmet. |
|
|
| Sluttresultatet for den trimmede overflaten er ikke godt nok. |
|
|
| Raken kommer i kontakt med dekkene. |
|
|
| Utrimmede hauger dannes der enheter på rakesiden vipper fra den midtre enheten. |
|
|
| Dekkspor er synlige i det trimmede området. |
|
|