Leia estas informações com atenção para saber como operar e realizar a manutenção adequada do produto, além de evitar lesões e danos ao produto. A utilização correta e segura do produto é da exclusiva responsabilidade do utilizador.
Pode contactar diretamente a Toro em www.Toro.com para mais informação sobre produtos e acessórios, para obter o contacto de um distribuidor ou registar o seu produto.
Sempre que necessitar de assistência, peças genuínas Toro ou informações adicionais, entre em contato com um representante de assistência autorizado ou com o serviço de atendimento ao cliente da Toro, tendo em mãos os números de modelo e de série do produto. Figura 1 identifica a localização dos números de série e de modelo do produto. Escreva os números no espaço fornecido.

Este manual identifica potenciais perigos e tem mensagens de segurança identificadas pelo símbolo de alerta de segurança (Figura 2), que identifica perigos que podem provocar ferimentos graves ou mesmo a morte, se não respeitar as precauções recomendadas.

Neste manual são utilizados 2 termos para identificar informações importantes. A palavra Importante chama a atenção para informações mecânicas específicas e a palavra Observação destaca informações gerais que merecem atenção especial.
CALIFÓRNIA
Proposição 65 Aviso
É do conhecimento do Estado da Califórnia que a utilização deste produto pode causar exposição a químicos que podem provocar cancro, defeitos congénitos ou outros problemas reprodutivos.
Para que o ancinho funcione corretamente, é importante que a máquina tenha a pressão correta dos pneus. Certifique-se de que a pressão dos pneus é de 0,48 bar (48 kPa) (Figura 3).
Para obter uma leitura mais precisa, verifique a pressão dos pneus quando estes estiverem frios.
Pressão: 0,48 bar

Antes de poder instalar o ancinho numa nova máquina, tem de remover a placa de transporte da máquina.
Retire as porcas, parafusos e anilhas que prendem a placa de transporte à traseira da máquina.

Elimine os dispositivos de fixação e a placa de transporte.
Peças necessárias para este passo:
| Conjunto central | 1 |
| Conjunto do lado direito | 1 |
| Conjunto do lado esquerdo | 1 |
| Parafuso (¾ x 3½ pol.) | 2 |
| Porca de bloqueio (¾") | 2 |
| Espaçador comprido | 2 |
| Resguardo dos cabos | 2 |
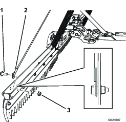
Posicione os conjuntos de forma a que a placa superior do conjunto central fique virada para a frente e que a placa superior de cada conjunto lateral fique virada para trás (Figura 5).

Insira um espaçador comprido no orifício da articulação de cada conjunto lateral (Figura 6).

Alinhe o orifício da articulação no conjunto do lado direito com o orifício da articulação no lado direito do conjunto central.
Alinhe um resguardo de cabos sobre o orifício da articulação e prenda-o com um parafuso (¾ x 3-½ pol.) e uma porca de bloqueio (¾ pol.), apertado a 163 a 217 N·m; consulte a Figura 6.
Note: Certifique-se de que as articulações dos conjuntos laterais se movem livremente. Desaperte ligeiramente a porca e o parafuso se for necessário. Certifique-se de que os parafusos de carroçaria não entram em contacto um com o outro através do curso de movimento.
Alinhe o orifício da articulação no conjunto do lado esquerdo com o orifício da articulação no lado esquerdo do conjunto central.
Alinhe um resguardo de cabos sobre o orifício da articulação e prenda-o com um parafuso (¾ x 3-½ pol.) e uma porca de bloqueio (¾ pol.), apertado a 163 a 217 N·m; consulte a Figura 6.
Note: Certifique-se de que as articulações dos conjuntos laterais se movem livremente. Desaperte ligeiramente a porca e o parafuso se for necessário. Certifique-se de que os parafusos de carroçaria não entram em contacto um com o outro através do curso de movimento.
Peças necessárias para este passo:
| Barra de engate | 1 |
| Parafuso (¾ x 3½ pol.) | 1 |
| Porca de bloqueio (¾ pol.) | 1 |
| Espaçador comprido | 1 |
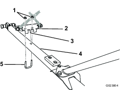
Insira um espaçador comprido no orifício na traseira do engate (Figura 7).

Alinhe o orifício na traseira do engate com o orifício no conjunto da articulação.
Insira o parafuso (3/4 x 3-1/2 pol.) para prender o engate ao conjunto da articulação.
Instale a porca de bloqueio (3/4 pol.) no parafuso e aperte com 163 a 217 N·m.
Peças necessárias para este passo:
| Conjunto da rampa | 1 |
| Parafuso de carroçaria (3/8 x 3/4 pol.) | 2 |
| Porca flangeada (⅜ pol.) | 2 |
| Parafuso (¼ x ⅝ pol.) | 1 |
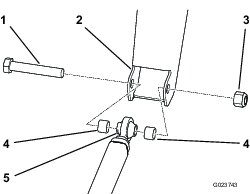
Alinhe os orifícios na placa na extremidade inferior do conjunto da rampa com os orifícios na placa perto do engate (Figura 8).

Instale 2 parafusos de carroçaria (3/8 x 3/4 pol.) nos orifícios e prenda os parafusos com 2 porcas flangeadas (3/8 pol.).
Instale o parafuso (1/4 x 5/8 pol.) no orifício em frente das placas.
Peças necessárias para este passo:
| Cabo | 2 |
| Parafuso com olhal | 4 |
| Porca flangeada (5/16 pol.) | 4 |
Alinhe a extremidade de cada cabo com um furo na extremidade do ancinho (Figura 9).
Note: Para diminuir a possibilidade de dobragem, certifique-se de que as extremidades dos cabos estão posicionadas como se mostra na Figura 9.

Prenda cada cabo com um parafuso com olhal e porca flangeada (5/16 pol.).
Encaminhe a outra extremidade de cada cabo através do suporte de cabo adequado e alinhe cada um com um furo na parte superior do conjunto da rampa (Figura 10).
Note: Para diminuir a possibilidade de dobragem, certifique-se de que as extremidades dos cabos estão posicionadas como se mostra na Figura 10.

Prenda a parte superior de cada cabo com um parafuso com olhal e uma porca flangeada (5/16 pol.).
Note: Ajuste a posição do cabo superior consoante o necessário após concluir a instalação; consulte a Ajuste do sistema Lift-in-turn (elevação em curva).
Peças necessárias para este passo:
| Conjunto do batente da corrente | 1 |
| Cavilha em U | 1 |
| Porca flangeada (5/16 pol.) | 2 |
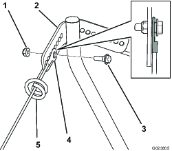
Alinhe a patilha central no suporte do engate com o furo no centro do engate (Figura 11).

Instale a cavilha em U e fixe-a com 2 porcas flangeadas (5/16 pol.)

O ancinho dentado flex necessita de 4 pesos, que estão incluídos com a máquina. Certifique-se sempre de que a máquina tem o número adequado de pesos.
Consulte a tabela seguinte para saber quantos pesos são necessários na parte frontal da máquina:
| Acessórios | Número de pesos necessários |
|---|---|
| Ancinho dentado Flex | 4 |
| Ancinho dentado Flex com escova de acabamento | 6 |
| Barra escarificadora | 6 |
| Barra escarificadora com tapete de arrastamento de acabamento | 8 |
Retire os 2 parafusos e as 2 porcas que prendem os pesos existentes na frente da máquina (Figura 13).
Note: Se a máquina estiver equipada com o kit de luzes, retire a porca e o parafuso que prendem o farol frontal à máquina. Guarde todas as peças; consulte as Instruções de instalação do kit de luzes.

Adicione ou retire pesos consoante o necessário.
Prenda os pesos com os 2 parafusos e 2 porcas.
Note: Se a máquina estiver equipada com o kit de luzes, instale o farol frontal inserindo o parafuso através dos pesos e prenda com a porca; consulte as Instruções de instalação do kit de luzes.
Deslize o engate sob a traseira da máquina.
Encaminhe as correntes sob os cabos.
Instale um aro na extremidade de cada corrente de elevação.
Important: Certifique-se de que as correntes não estão torcidas.
Alinhe cada aro com o lado adequado da elevação do acessório na máquina (Figura 14).

Prenda cada aro com uma porca flangeada (5/16 pol.) e um parafuso (5/16 x 2-1/2 pol.).
Note: Certifique-se de que as roscas de cada parafuso entram em contacto com o inserto de nylon e que cada aro se move livremente.
Alinhe a extremidade da barra de engate com o engate do chassis (Figura 15).

Alinhe um espaçador em cada lado da extremidade da barra e insira o parafuso (3/4 x 4-1/2 pol.) através do engate do chassis, extremidade da barra e espaçadores.
Prenda um parafuso com a porca de bloqueio (3/4 pol.) apertado com 163 a 217 N·m.
Retire a porca e o parafuso que prende a proteção do abafador à parte de trás da máquina (Figura 16).

Alinhe os orifícios dos parafusos no suporte da estrutura com os orifícios dos parafusos na estrutura.
Note: Certifique-se de que as correntes estão cruzadas como se mostra na Figura 17.

Prenda o suporte da estrutura com quatro parafusos (5/16 x 1 pol.) e quatro porcas flangeadas (5/16 pol.); consulte a Figura 16).
Incline o ancinho para um lado. O parafuso de paragem deve entrar em contacto com o engate quando o ancinho está afastado 51 mm do pneu (Figura 18).
Se houver uma folga de 51 mm entre o ancinho e o pneu, não é necessário ajustar.

Determine se não há folga suficiente ou se há demasiada folga entre o pneu e o ancinho.
Se não houver folga suficiente, desaperte a porca flangeada.
Se existir demasiada folga, desaperte a porca de bloqueio.
Note: Utilize uma chave no colar quadrado do parafuso para evitar que o parafuso rode.

Quando o parafuso de paragem está numa posição em que exista uma folga de 51 mm entre o ancinho e o pneu, aperte a porca adequada.
Se desapertou a porca flangeada, aperte a porca de bloqueio agora.
Se desapertou a porca de bloqueio, aperte a porca flangeada agora.
Note: Utilize uma chave no colar quadrado do parafuso para evitar que o parafuso rode.
Repita o procedimento para o outro parafuso de paragem.
Certifique-se de que o ancinho não entra em contacto com os pneus através do curso de movimento.
Certifique-se de que a pressão dos pneus é de 0,48 bar.
Conduza a máquina para um banco de areia—com um fundo plano, se possível.
Com o ancinho na posição mais baixa, rode a máquina para a esquerda enquanto conduz, de forma a que o ancinho esteja totalmente inclinado.
Pare a máquina, desligue o motor, engate o travão de estacionamento, retire a chave e aguarde que todas as peças parem.
Saia da máquina e inspecione o lado esquerdo do percurso do ancinho na areia.
Note: O ancinho deve varrer sobre as marcas dos pneus, mas não deve entrar em contacto com a areia para além das marcas dos pneus. Se o percurso do ancinho for incorreto, consulte a Ajuste do sistema Lift-in-turn (elevação em curva).
Repita o procedimento no lado direito do ancinho.
Realize os passos 1 a 5 em inspeção do padrão do ancinho.
Incline o ancinho totalmente para um lado.
Na parte interior da curva (por exemplo, o lado esquerdo do ancinho está inclinado para a esquerda), determine se o ancinho está demasiado em contacto com a areia e varre para além das marcas dos pneus ou se não está em contacto com a areia o suficiente para varrer sobre as marcas dos pneus.
Anote o furo em que está montada a parte superior do cabo.
Retire o parafuso com olhal e a porca flangeada e mova a extremidade do cabo para o orifício adequado.
Se o ancinho estiver demasiado em contacto com a areia e varrer para além das marcas dos pneus, mova a parte superior do cabo para um orifício mais próximo do centro da rampa.

Se o ancinho não estiver em contacto o suficiente com a areia para varrer sobre as marcas dos pneus, mova a parte superior do cabo para um orifício mais afastado do centro da rampa.
Prenda o cabo com o parafuso de olhal e porca flangeada.
Note: Para diminuir a possibilidade de dobragem, certifique-se de que a extremidade do cabo está posicionada como se mostra na Figura 20.
Repita o procedimento para o outro lado.
Pode ajustar o comprimento do ancinho para aumentar ou diminuir a quantidade de agitação do material. Se a extremidade do ancinho estiver virada para a frente (Figura 21), na direção da máquina, o ancinho consegue transportar mais material e agitar o material a um nível mais profundo. Se a extremidade do ancinho estiver virada para trás (Figura 23), na direção oposta da máquina, o ancinho consegue transportar menos material e agitar o material a um nível mais superficial.



Retire os parafusos e porcas frontais que fixam o conjunto do ancinho ao suporte (Figura 24).

Desaperte as porcas e parafusos traseiros.
Ajuste o ancinho na inclinação preferida até que os furos adequados fiquem alinhados.
Note: A posição intermédia utiliza os furos mais próximos dos parafusos traseiros. As outras duas posições utilizam os furos mais afastados dos parafusos traseiros.
Instale os parafusos nos furos e prenda-os com as porcas.
Aperte as porcas nos parafusos frontais e traseiros.
Para elevar e baixar o ancinho, utilize o interruptor do acessório no manípulo de controlo direito da máquina.
Carregue para cima no interruptor para elevar o ancinho e para baixo para descer o ancinho; consulte o Manual do utilizador da máquina.
Se conduzir a máquina sem um acessório instalado, ela pode capotar e ferir alguém ou danificar a propriedade.
Não conduza a máquina sem ter instalado um acessório aprovado pela Toro.
Desligar a barra de engate do engate do chassis.
Desligue os aros da elevação do acessório.
Retire o suporte da estrutura da parte posterior da máquina.
Leia toda esta secção sobre a utilização do ancinho antes de o fazer num banco de areia. Há muitas condições que determinam os ajustes necessários. A textura e profundidade da areia, conteúdo de humidade, ervas daninhas, a quantidade de compactação são fatores podem variar de campo para campo ou até de uma secção para outra do mesmo campo. Faça os ajustes no ancinho para resultados ideais na sua área particular.
Pratique a utilização do ancinho numa área grande e nivelada do campo. Pratique o arranque e paragem, viragem, elevar e descer o ancinho, entrar e sair da área, etc. Pratique com uma velocidade moderada do motor e a uma velocidade lenta no solo. Este treino vai ajudar o operador a ganhar confiança no desempenho da máquina.
O padrão recomendado ao varrer uma área é mostrado em Figura 25. Este padrão evita a sobreposição desnecessária, mantém a compactação ao mínimo e deixa um padrão bem proporcionado e atrativo nos relvados. Este é o método mais eficaz de utilização do ancinho, no entanto, é importante variar o padrão do ancinho com regularidade para reduzir a possibilidade de criar um efeito de desmoronamento.

Entre na área a direito na dimensão maior, onde o banco é menos inclinado. Conduza através do centro da área quase até à extremidade, rode em qualquer direção da forma mais acentuada que puder e regresse para junto da primeira passagem. Conduza em espiral para fora como se mostra na Figura 25 e saia da área num ângulo reto numa área nivelada.
Deixe bancos pequenos e inclinados para retoque com um ancinho manual.
Ao entrar na área, não baixe o ancinho até que este se encontre sobre a areia. Isto evita cortar relva ou danificar aparas de relva ou outros detritos na área. Baixe o ancinho enquanto a máquina se está a mover.
Ao sair da área, comece a elevar o ancinho quando a roda da frente sair da área. À medida que a máquina se move, o ancinho vai elevar e não arrasta areia para a relva.
Rapidamente o operador vai ganhar experiência e prática para saber quando entrar e sair da área corretamente.
| Problem | Possible Cause | Corrective Action |
|---|---|---|
| Existe uma área em forma de gota que permanece sem ser varrida. |
|
|
| O aspeto da superfície varrida não é aceitável. |
|
|
| O ancinho entra em contacto com os pneus. |
|
|
| Há pilhas não varridas onde os conjuntos laterais do ancinho se inclinam do conjunto central. |
|
|
| Ficam marcas dos pneus na área varrida. |
|
|