Lisez attentivement cette notice pour apprendre comment utiliser et entretenir correctement votre produit, et éviter ainsi de l'endommager ou de vous blesser. Vous êtes responsable de l'utilisation sûre et correcte du produit.
Vous pouvez contacter Toro directement sur www.Toro.com pour tout renseignement concernant un produit ou un accessoire, pour obtenir l'adresse des concessionnaires ou pour enregistrer votre produit.
Pour obtenir des prestations de service, des pièces d'origine Toro ou des renseignements complémentaires, munissez-vous des numéros de modèle et de série du produit et contactez un concessionnaire-réparateur agréé ou le service client Toro. La Figure 1 indique l'emplacement des numéros de modèle et de série du produit. Inscrivez les numéros dans l'espace réservé à cet effet.

Les mises en garde de ce manuel soulignent les dangers potentiels et sont signalées par le symbole de sécurité (Figure 2), qui indique un danger pouvant entraîner des blessures graves ou mortelles si les précautions recommandées ne sont pas respectées.

Ce manuel utilise deux termes pour faire passer des renseignements essentiels. Important, pour attirer l'attention sur des renseignements mécaniques spécifiques et Remarque, pour insister sur des renseignements d'ordre général méritant une attention particulière.
CALIFORNIE
Proposition 65 - Avertissement
L'utilisation de ce produit peut entraîner une exposition à des substances chimiques considérées pas l'état de Californie comme capables de provoquer des cancers, des anomalies congénitales ou d'autres troubles de la reproduction.
Pour permettre le bon fonctionnement du râteau, il est important de gonfler les pneus de la machine à la pression correcte. Vérifiez que les pneus sont gonflés à 0,48 bar(Figure 3).
Pour obtenir une valeur précise, contrôlez la pression de gonflage lorsque les pneus sont froids.
Pression : 0,48 bar

Avant de pouvoir installer le râteau sur une machine neuve, vous devez enlever la plaque d'expédition.
Retirez les écrous, boulons et rondelles qui fixent la plaque d'expédition à l'arrière de la machine.

Mettez au rebut les fixations et la plaque d'expédition.
Pièces nécessaires pour cette opération:
| Ensemble central | 1 |
| Ensemble latéral droit | 1 |
| Ensemble latéral gauche | 1 |
| Boulon (3/4 x 3-1/2 po) | 2 |
| Contre-écrou (¾") | 2 |
| Entretoise longue | 2 |
| Protège-câble | 2 |
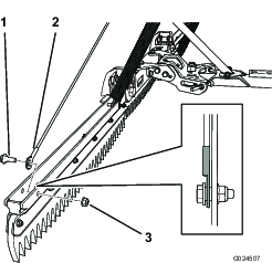
Positionnez les ensembles en dirigeant la plaque supérieure de l'ensemble central vers l'avant et la plaque supérieure de chaque ensemble latéral vers l'arrière (Figure 5).

Insérez une longue entretoise dans le trou de pivot de chaque ensemble latéral (Figure 6).

Alignez le trou de pivot de l'ensemble droit sur le trou de pivot situé sur le côté droit de l'ensemble central.
Placez un protège-câble en face du trou de pivot et fixez-le avec un boulon (3/4 x 3-1/2 po) et un contre-écrou (3/4 po), serrés à un couple de 163 à 217 N·m ; voir Figure 6.
Note: Vérifiez que cet ensemble latéral pivote librement. Desserrez légèrement l'écrou et le boulon au besoin. Assurez-vous qu'il n'y a aucun contact entre les boulons de carrosserie sur toute la course.
Alignez le trou de pivot de l'ensemble gauche sur le trou de pivot situé sur le côté gauche de l'ensemble central.
Placez un protège-câble en face du trou de pivot et fixez-le avec un boulon (3/4 x 3-1/2 po) et un contre-écrou (3/4 po), serrés à un couple de 163 à 217 N·m ; voir Figure 6.
Note: Vérifiez que cet ensemble latéral pivote librement. Desserrez légèrement l'écrou et le boulon au besoin. Assurez-vous qu'il n'y a aucun contact entre les boulons de carrosserie sur toute la course.
Pièces nécessaires pour cette opération:
| Barre d'attelage | 1 |
| Boulon (3/4 x 3-1/2 po) | 1 |
| Contre-écrou (3/4 po) | 1 |
| Entretoise longue | 1 |
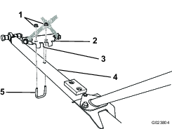
Insérez une longue entretoise dans le trou à l'arrière de la barre d'attelage (Figure 7).

Alignez le trou à l'arrière de la barre d'attelage sur le trou dans le pivot.
Insérez le boulon (3/4 x 3-1/2 po) pour fixer la barre d'attelage au pivot.
Placez le contre-écrou (3/4 po) sur le boulon et serrez-le à un couple de 163 à 217 N·m.
Pièces nécessaires pour cette opération:
| Flèche | 1 |
| Boulon de carrosserie (3/8 x 3/4 po) | 2 |
| Écrou à embase (⅜") | 2 |
| Boulon (1/4" x 5/8") | 1 |
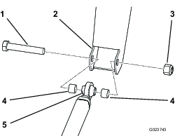
Alignez les trous de la plaque au bas de la flèche sur les trous de la plaque près de l'arrière de la barre d'attelage (Figure 8).

Insérez 2 boulons carrosserie (3/8 x 3/4 po) dans les trous et fixez les boulons avec 2 écrous à embase (3/8 po).
Insérez le boulon (1/4 x 5/8 po) dans le trou à l'avant des plaques.
Pièces nécessaires pour cette opération:
| Câble | 2 |
| Boulon à épaulement | 4 |
| Écrou à embase (5/16") | 4 |
Alignez le bout de chaque câble sur un trou au bout du râteau (Figure 9).
Note: Pour réduire le risque de coincement, veillez à positionner les extrémités des câbles comme montré à la Figure 9.

Fixez chaque câble avec un boulon à épaulement et un écrou à embase (5/16 po).
Faites passer l'autre extrémité de chaque câble dans le support approprié, et alignez chacun d'eux sur un trou au sommet de la flèche (Figure 10).
Note: Pour réduire le risque de coincement, veillez à positionner les extrémités des câbles comme montré à la Figure 10.

Fixez le haut de chaque câble avec un boulon à épaulement et un écrou à embase (5/16 po).
Note: Ajustez la position supérieure du câble selon les besoins une fois installation terminée ; voir Réglage du système de levage en virage.
Pièces nécessaires pour cette opération:
| Chaîne d'arrêt | 1 |
| Étrier fileté | 1 |
| Écrou à embase (5/16") | 2 |
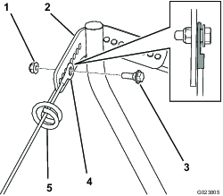
Alignez la languette centrale du support de la barre d'attelage sur le trou au centre de la barre d'attelage (Figure 11).

Posez l'étrier fileté et fixez-le avec 2 écrous à embase (5/16 po).

Le râteau d'entretien Flex nécessite 4 masses qui sont inclues avec la machine. Assurez-vous que votre machine est équipée du nombre correct de masses.
Reportez-vous au tableau suivant pour connaître le nombre de masses nécessaires à l'avant de la machine :
| Accessoire | Nombre de masses nécessaires |
|---|---|
| Râteau d'entretien Flex | 4 |
| Râteau d'entretien flexible avec brosse de finition | 6 |
| Scarificateur traîné | 6 |
| Scarificateur traîné avec tapis de finition traînant | 8 |
Retirez les 2 boulons et les 2 écrous qui fixent les masses existantes à l'avant de la machine (Figure 13).
Note: Si la machine est équipée du kit d'éclairage, retirez l'écrou et le boulon qui fixent l'éclairage avant à la machine. Conservez toutes les pièces ; voir les Instructions d'installation du kit d'éclairage.

Ajoutez ou retirez des masses selon les besoins.
Fixez les masses au moyen des 2 boulons et des 2 écrous.
Note: Si la machine est équipée du kit d'éclairage, montez l'éclairage avant en insérant le boulon dans les masses et en le fixant avec l'écrou ; voir les Instructions d'installation du kit d'éclairage.
Glissez la barre d'attelage sous l'arrière de la machine.
Acheminez les chaînes sous les câbles.
Montez une manille au bout de chaque chaîne de levage.
Important: Faites en sorte de ne pas tordre les chaînes.
Alignez chaque manille sur le côté correct du dispositif de levage d'accessoire de la machine (Figure 14).

Fixez chaque manille avec un contre-écrou à embase (5/16 po) et un boulon (5/16 x 2-1/2 po).
Note: Vérifiez que les filets de chaque boulon touchent l'insert en nylon du contre-écrou à embase, et que chaque manille pivote librement.
Alignez le côté tige de la barre d'attelage sur le cadre d'attelage (Figure 15).

Alignez une entretoise de chaque côté de l'extrémité de la tige et insérez le boulon (3/4 x 4-1/2 po) dans le cadre d'attelage, l'extrémité de la tige et les entretoises.
Fixez le boulon avec le contre-écrou (3/4 po) serré à un couple de 163 à 217 N·m.
Retirez l'écrou et le boulon qui fixent la protection du silencieux à l'arrière de la machine (Figure 16).

Alignez les trous de boulon dans le support de cadre sur les trous de boulon dans le cadre.
Note: Veillez à croiser les chaînes comme montré à la Figure 17.

Fixez le support de cadre au moyen de 4 boulons (5/16 x 1 po) et 4 écrous à embase (5/16 po) ; voir Figure 16.
Faites pivoter le râteau d'un côté. Le boulon de butée doit toucher la barre d'attelage quand le râteau se trouve à 51 mm du pneu (Figure 18).
S'il existe un espace de 51 mm entre le râteau et le pneu, aucun réglage n'est nécessaire.

Vérifiez si l'espace est correct entre le pneu et le râteau.
Si l'espace est insuffisant, desserrez le contre-écrou à embase.
Si l'espace est excessif, desserrez l'écrou de blocage.
Note: Placez une clé sur le collet carré du boulon pour l'empêcher de tourner.

Lorsque le boulon de butée est en position et qu'un espace de 51 mm sépare le râteau et le pneu, serrez l'écrou approprié.
Si vous avez desserré le contre-écrou à embase, serrez le boulon de blocage maintenant.
Si vous avez desserré l'écrou de blocage, serrez le contre-écrou à embase maintenant.
Note: Placez une clé sur le collet carré du boulon pour l'empêcher de tourner.
Répétez la procédure avec l'autre boulon de butée.
Assurez-vous qu'il n'y a aucun contact entre le râteau et les pneus sur toute la course.
Vérifiez que les pneus sont gonflés à 0,48 bar.
Conduisez la machine jusqu'à un bunker, de préférence à fond plat.
Lorsque le râteau est abaissé, faites tourner la machine vers la gauche tout en avançant de façon à faire pivoter le râteau complètement.
Arrêtez la machine, coupez le moteur, serrez le frein de stationnement, enlevez la clé de contact et attendez l'arrêt complet de toutes les pièces mobiles.
Descendez de la machine et inspectez le côté gauche du chemin de ratissage dans le sable.
Note: Le râteau doit aplanir les traces de pneus, mais il ne doit pas toucher le sable au-delà. Si le chemin de ratissage n'est pas correct, voir Réglage du système de levage en virage.
Répétez la procédure sur le côté droit du râteau.
Répétez les opérations 1 à 5 de Contrôle du parcours de ratissage.
Faites pivoter complètement le râteau d'un côté.
À l'intérieur du virage (par exemple, du côté gauche si le râteau pivote vers la gauche), déterminez si le râteau s'enfonce trop profondément dans le sable que les traces de pneus ou si, au contraire, il est trop éloigné de la surface du sable pour aplanir les traces de pneus.
Notez le trou dans lequel le haut du câble est monté.
Retirez le boulon à épaulement et l'écrou à embase, et placez l'extrémité du câble dans le trou approprié.
Si le râteau s'enfonce dans le sable plus profondément que les traces de pneus, placez le haut du câble dans un trou plus proche du centre de la flèche.

Si le râteau est trop loin du sable pour aplanir les traces de pneus, placez le haut du câble dans un trou plus éloigné du centre de la flèche.
Fixez le câble au moyen du boulon à épaulement et de l'écrou à embase.
Note: Pour réduire le risque de coincement, veillez à positionner l'extrémité du câble comme montré à la Figure 20.
Répétez la procédure de l'autre côté.
Vous pouvez régler l'angle du râteau pour accroître ou réduire la quantité de matériau agité. Si le bord du râteau est incliné en avant (Figure 21), vers la machine, le râteau ramassera davantage de matériau et l'agitera plus profondément. Si le bord du râteau est incliné en arrière (Figure 23), à l'opposé de la machine, le râteau ramassera moins de matériau et l'agitera moins profondément.



Retirez les écrous et boulons avant qui fixent le râteau au support (Figure 24).

Desserrez les écrous et boulons arrière.
Inclinez le râteau à l'angle préféré jusqu'à ce que les trous appropriés soient alignés.
Note: La position centrale utilise les trous les plus proches des boulons arrière. Les 2 autres positions utilisent les trous les plus éloignés des boulons arrière.
Insérez les boulons dans les trous et fixez-les avec les écrous.
Serrez les écrous sur les boulons avant et arrière.
Pour relever et abaissez le râteau, utilisez la commande d'accessoire située sur la poignée de commande droite de la machine.
Appuyez sur le haut de la commande pour relever le râteau et sur le bas pour abaisser le râteau ; voir le manuel de l'utilisateur de la machine.
Si vous conduisez la machine sans qu'un accessoire soit installé, elle peut se renverser et causer dommages corporels ou matériels.
Ne conduisez pas la machine si elle n'est pas équipée d'un accessoire agréé par Toro.
Détachez la barre d'attelage du cadre d'attelage.
Détachez les manilles du dispositif de relevage d'accessoire.
Déposez le support de cadre de l'arrière de la machine.
Lisez toute la section consacrée au ratissage avant de ratisser un bunker. Plusieurs conditions vont déterminer les réglages nécessaires. La texture et la profondeur du sable, son humidité, les mauvaises herbes et le compactage sont des facteurs qui varient suivant le terrain ou même d'un bunker à l'autre sur un même terrain. Ajustez le râteau de sorte à obtenir les meilleurs résultats pour le terrain où vous vous trouvez.
Entraînez-vous à ratisser dans un bunker de grande dimension et bien nivelé. Entraînez-vous à démarrer et à vous arrêter, à tourner, à lever et abaisser le râteau, à entrer dans le bunker et en sortir, etc. Sélectionnez un régime moteur modéré et une vitesse de déplacement réduite pour vous entraîner. Cette période d'entraînement vous aide à prendre de l'assurance dans le fonctionnement de la machine.
Le parcours de ratissage recommandé est illustré à la Figure 25. Ce parcours évite les chevauchements inutiles, minimise le compactage du sable et trace un dessin agréable à l'œil sur le sable. Cette méthode de ratissage est la plus efficace ; toutefois, il est important de varier régulièrement le parcours de ratissage pour éviter autant que possible de créer des ondulations.

Entrez dans le bunker en ligne droite par la grande longueur, au point où la berge est la moins escarpée. Traversez le centre du bunker presque jusqu'au bout, tournez d'un côté ou de l'autre en braquant autant que possible et revenez directement en sens inverse, parallèlement à la première passe. Continuez ainsi en progressant vers l'extérieur, comme montré à la Figure 25, et quittez le bunker à angle droit dans une zone bien nivelée.
Finissez le ratissage des petites berges escarpées et des petites fosses à la main.
Lorsque vous entrez dans le bunker, attendez que le râteau soit juste au-dessus du sable pour l'abaisser. Vous éviterez ainsi de couper la pelouse ou d'entraîner des déchets d'herbe ou autres dans le bunker. Abaissez le râteau quand la machine se déplace.
Quand vous quittez le bunker, commencez à lever le râteau lorsque les roues avant sortent du bunker. Ainsi, quand la machine sort du bunker, le râteau est déjà en train de se lever et n'entraîne donc pas de sable sur l'herbe.
À force de travail et d'entraînement, vous apprendrez rapidement à programmer l'entrée dans le bunker et la sortie.
| Problem | Possible Cause | Corrective Action |
|---|---|---|
| Il reste une zone en forme de goutte non ratissée. |
|
|
| L'aspect de la surface ratissée n'est pas acceptable. |
|
|
| Le râteau touche les roues. |
|
|
| Il reste des tas non ratissés au point de pivotement des râteaux latéraux par rapport au râteau central. |
|
|
| Des traces de pneus sont visibles sur la surface ratissée. |
|
|