Wartung
Auswechseln der Nägel
-
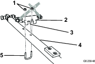
Lassen Sie die Maschine an und heben Sie den Anbaugeräthub an, damit der Nagelrechen Bodenfreiheit hat.
-
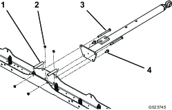
Nehmen Sie die Klappstecker aus den acht Lastösenbolzen heraus, mit denen die oberen Platten an der Nagelplatte und der unteren Platte befestigt sind (Bild 18)
Note: Bewahren Sie die Klappstecker für die Befestigung an den oberen Platten auf.

-
Entfernen Sie die oberen Platten.
Note: Sie müssen u. U. die oberen Muttern und Schrauben lösen, mit denen die Deichsel am Nagelrechen befestigt ist, siehe Bild 4.
-
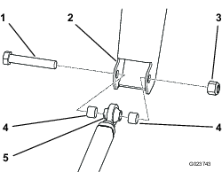
Entfernen Sie die alten Nägel.
-
Setzen Sie die neuen Nägel durch die Nagelplatte und die untere Platte ein.
-
Befestigen Sie die oberen Platten und befestigen sie mit den Klappsteckern.
-
Wenn Sie die oberen Muttern und Schrauben gelöst haben, mit denen die Deichsel am Nagelrechen befestigt ist, ziehen Sie sie an.
Reinigen des Nagelrechens
Halten Sie den Nagelrechen sauber. Zu große Erdablagerungen erhöhen das Gewicht des Anbaugeräts und können sich auf die Handhabung der Maschine auswirken.















