Manutenzione
Sostituzione dei chiodi
-
Avviate la macchina, quindi sollevate il dispositivo di sollevamento attrezzi in modo che lo scarificatore sia sollevato da terra.
-
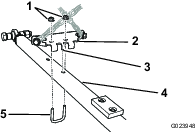
Rimuovete gli acciarini dagli otto cavallotti con perno che fissano le piastre superiori alla piastra dei chiodi e a quella inferiore (Figura 18).
Note: Conservate i cavallotti con perno per il montaggio delle piastre superiori.

-
Rimuovete le piastre superiori.
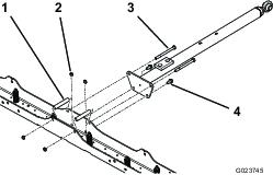
Note: Potreste aver bisogno di allentare i dadi e i bulloni superiori che fissano la barra di traino al gruppo scarificatore; fate riferimento a Figura 4.
-
Rimuovete i vecchi chiodi.
-
Inserite i nuovi chiodi attraverso la piastra dei chiodi e la piastra inferiore.
-
Montate le piastre superiori e fissatele con i cavallotti con perno.
-
Se avevate allentato i dadi e i bulloni superiori che fissano la barra di traino al gruppo scarificatore, serrateli di nuovo.
Pulizia dello scarificatore
Tenete pulito lo scarificatore. Eccessivi accumuli di terreno aumentano il peso dell'attrezzo e possono influenzare la movimentazione della macchina.















