Vedligeholdelse
Udskiftning af sømmene
-
Start maskinen, hæv redskabsløftet, så trækriven er hævet fra jorden.
-
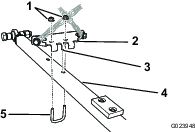
Fjern ringstifterne fra de 8 gaffelbolte, der fastholder toppladerne på sømpladen og bundpladen (Figur 18).
Note: Gem ringstifterne til montering af toppladerne.

-
Fjern toppladerne.
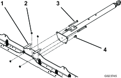
Note: Du skal eventuelt løsne de øverste møtrikker og bolte, der fastholder trækstangen på trækriveenheden, se Figur 4.
-
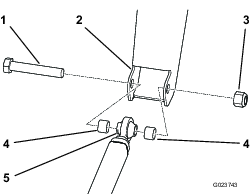
Fjern de gamle søm.
-
Indsæt de nye sømmene ned gennem sømpladen og bundpladen.
-
Monter toppladerne og fastgør dem med ringstifterne.
-
Hvis du løsnede de øverste møtrikker og bolte, der fastholder trækstangen på trækriveenheden, skal du stramme dem.
Rengøring af trækriven
Hold trækriven ren. Ved overdreven ophobning af jord øges redskabets vægt, hvilket kan påvirke håndteringen af maskinen.















