保守
ネイルの交換
-
エンジンを始動し、アタッチメント昇降装置でネイル・ドラッグを床から浮かせる。
-
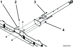
トップ・プレートをネイル・プレートとボトム・プレートに固定している8本のクレビスピンから、リンチピンを抜き取る(図 18)。
Note: リンチピンはトップ・プレートの取り付けに使用するので捨てないでください。

-
トップ・プレートを取り外す。
Note: 牽引バーをネイル・ドラッグ・アセンブリに固定している上部ナットとボルトを取り外さないと作業ができない場合があります;図 4を参照。
-
古いネイルを取り外す。
-
ネイル・プレートとボトム・プレートの上から新しいネイルを挿入する。
-
トップ・プレートを取り付けて、リンチピンで固定する。
-
牽引バーをネイル・ドラッグ・アセンブリに固定している上部ナットとボルトを取り外した場合には、元通りに取り付けて締め付ける。
ネイル・ドラッグのクリーニング
ネイル・ドラッグはいつもきれいにしておきましょう。大量の土がこびりついていると、アタッチメントが重くなって運転操作に悪影響が出ます。















