Kunnossapito
Piikkien vaihto
-
Käynnistä laite ja nosta nostolaitetta niin, että piikkilana nousee ylös maasta.
-
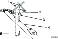
Irrota lukitussokat kahdeksasta liitintapista, jotka kiinnittävät ylälevyt piikkilevyyn ja alalevyyn (Kuva 18).
Note: Säilytä lukitussokat ylälevyjen asennusta varten.

-
Irrota ylälevyt.
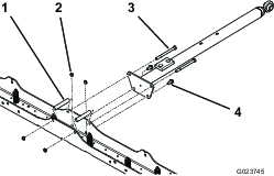
Note: Hinausaisan piikkilanakokoonpanoon kiinnittävät ylemmät mutterit ja pultit on ehkä löysättävä. Katso Kuva 4.
-
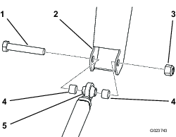
Irrota vanhat piikit.
-
Asenna uudet piikit alaspäin piikkilevyn ja alalevyn läpi.
-
Asenna ylälevyt ja kiinnitä ne lukitussokilla.
-
Jos hinausaisan piikkilanakokoonpanoon kiinnittävät ylemmät mutterit ja pultit on löysätty, kiristä ne.
Piikkilanan puhdistus
Pidä piikkilana puhtaana. Liiallinen maaperän kertymä lisää lisälaitteen painoa ja voi vaikuttaa laitteen käsittelyyn.















