Onderhoud
De tanden vervangen
-
Start de machine en breng het werktuig omhoog zodat de sleephark van de grond komt.
-
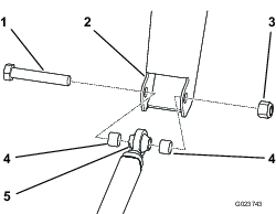
Verwijder de borgpennen van de 8 gaffelpennen waarmee de bovenste platen bevestigd zijn aan de tandenplaat en aan de onderste plaat (Figuur 18).
Note: Bewaar de borgpennen voor de montage van de bovenste platen.

-
Verwijder de bovenste platen.
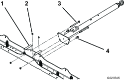
Note: Mogelijk moet u de bovenste moeren en bouten waarmee de trekstang bevestigd is aan de sleephark losdraaien; zie Figuur 4.
-
Verwijder de gebruikte tanden.
-
Steek de nieuwe tanden door de tandenplaat en de onderste plaat.
-
Bevestig de bovenste platen en maak ze vast met de borgpennen.
-
Als u de bovenste moeren en bouten waarmee de trekstang aan de sleephark is bevestigd hebt losgedraaid, dient u deze nu terug aan te draaien.
De sleephark reinigen
Hou de sleephark schoon. Een teveel aan aangekoekte aarde maakt het werktuig zwaarder en kan de machine moeilijker bestuurbaar maken.















