Underhåll
Byta ut spikarna
-
Starta maskinen och höj upp redskapslyften så att spikdressnätet befinner sig ovanför marken.
-
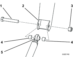
Ta bort hjulsprintarna från de åtta sprintbultar som håller fast de övre plattorna vid spikplattan och den nedre plattan (Figur 18).
Note: Spara hjulsprintarna tills du monterar de övre plattorna.

-
Ta bort de övre plattorna.
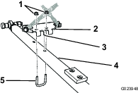
Note: Du kan behöva lossa på de övre skruvarna och muttrarna som håller fast dragkroken vid spikdressnätet. Se Figur 4.
-
Ta bort de gamla spikarna.
-
Sätt i de nya spikarna genom spikplattan och den nedre plattan.
-
Montera de övre plattorna och fäst dem med hjulsprintarna.
-
Om du har lossat på de övre skruvarna och muttrarna som håller fast dragkroken vid spikdressnätet ska du dra åt dem nu.
Rengöra spikdressnätet
Håll spikdressnätet rent. Alltför mycket smutsavlagringar ökar redskapets vikt, vilket kan påverka maskinens drift.















