Vedlikehold
Skifte ut spikerne
-
Start maskinen, og hev tilbehørsheisen slik at spikertrekket løftes opp fra bakken.
-
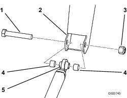
Fjern ringstiftene fra de åtte splittpinnene som fester topplatene til spikerplaten og bunnplaten (Figur 18).
Note: Ta vare på ringstiftene for montering av topplatene.

-
Fjern topplatene.
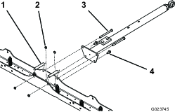
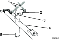
Note: Det kan være nødvendig å løsne de øvre mutterne og boltene som fester slepeutstyret til spikertrekkenheten. Se Figur 4.
-
Fjern de gamle spikerne.
-
Før de nye spikerne gjennom spikerplaten og bunnplaten.
-
Monter topplatene og fest dem med ringstiftene.
-
Hvis du løsnet toppmutterne og boltene som festet slepeutstyret til spikertrekkenheten, stram dem igjen.
Rengjøre spikertrekket
Hold spikertrekket rent. Oppbygging av mye jord gjør tilbehøret tungt, og kan virke inn på håndteringen av maskinen.















