Manutenção
Substituir os dentes
-
Ligue a máquina e suba a elevação do acessório de forma a que a barra escarificadora fique fora do chão.
-
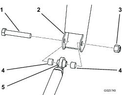
Remova os pinos de sujeição dos oito passadores de forquilha que prendem a placa de dentes e as placas superiores à placa inferior (Figura 18).
Note: Guarde os pinos de sujeição para instalar as placas superiores.

-
Retire as placas superiores.
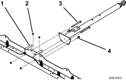
Note: Pode ter de desapertar as porcas e parafusos superiores que prendem a barra de engate ao conjunto da barra escarificadora; consulte a Figura 4.
-
Retire os dentes antigos.
-
Insira os novos dentes através da placa de dentes e a placa inferior.
-
Instale as placas superiores e prenda-as com os pinos de sujeição.
-
Se desapertou as porcas e parafusos superiores que prendem a barra de engate ao conjunto da barra escarificadora, aperte-os.
Limpeza da barra escarificadora
Mantenha a barra escarificadora limpa. A acumulação excessiva de solo aumenta o peso do acessório e pode afetar o manuseamento da máquina.















