Mantenimiento
Note: Los lados derecho e izquierdo de la máquina se determinan desde la posición normal del operador.
Seguridad en el mantenimiento
-
Aparque la máquina en una superficie nivelada, desengrane las transmisiones, ponga el freno de estacionamiento, pare el motor y retire la llave. Espere a que se detengan todas las piezas en movimiento antes de abandonar el puesto del operador. Deje que se enfríe la máquina antes de hacer trabajos de mantenimiento, ajuste, repostaje, desatascado, limpieza o almacenamiento.
Advertencia
El motor puede alcanzar temperaturas muy altas. El contacto con un motor caliente puede causar graves quemaduras.
Deje que el motor se enfríe totalmente antes de realizar mantenimiento o efectuar reparaciones alrededor de la zona del motor.
-
Si deja la llave en el interruptor, alguien podría arrancar el motor accidentalmente y causar lesiones graves a usted o a otras personas. Retire la llave del interruptor de encendido antes de realizar cualquier operación de mantenimiento.
-
No permita jamás que la máquina sea revisada o reparada por personal no debidamente formado.
-
Mantenga colocados y en buenas condiciones de funcionamiento todos los protectores, defensas e interruptores y todos los dispositivos de seguridad. Compruebe frecuentemente que no hay componentes desgastados o deteriorados, y sustitúyalos por piezas genuinas Exmark cuando sea necesario.
Advertencia
La retirada o la modificación de equipos, piezas y/o accesorios originales puede afectar a la garantía, el nivel de control, y la seguridad de la máquina. La modificación sin autorización del equipo original o el uso de piezas que no sean piezas originales de Exmark puede causar lesiones graves o la muerte. La modificación sin autorización de la máquina, el motor o el sistema de combustible o ventilación puede contravenir las normas de seguridad aplicables, como por ejemplo las normas ANSI, OSHA y NFPA, y/o normales gubernamentales tales como EPA y CARB.
-
Mantenga las manos y los pies alejados de las piezas en movimiento y las superficies calientes. Si es posible, NO haga ajustes con el motor en marcha.
Advertencia
El contacto con piezas en movimiento o superficies calientes puede causar lesiones personales.
Mantenga alejados de los componentes rotativos y de la superficies calientes los dedos, las manos y la ropa.
-
Mantenga todas las piezas en buenas condiciones de funcionamiento, y todas las fijaciones bien apretadas.
Calendario recomendado de mantenimiento
| Intervalo de mantenimiento y servicio | Procedimiento de mantenimiento |
|---|---|
| Cada vez que se utilice o diariamente |
|
| Cada 25 horas |
|
| Cada 50 horas |
|
| Cada año o antes del almacenamiento |
|
Mantenimiento periódico
Compruebe la carcasa/impulsor del soplador
| Intervalo de mantenimiento y servicio | Procedimiento de mantenimiento |
|---|---|
| Cada vez que se utilice o diariamente |
|
-
Pare el motor, espere a que se detengan todas las piezas en movimiento y retire la llave. Ponga el freno de estacionamiento.
-
Inspeccione a diario en busca de desgaste o daños. Cambie o repare las piezas desgastadas según sea necesario.
Note: Al segar en zonas de suelo arenoso, utilice cuchillas de baja elevación en la carcasa de corte y alturas de corte mayores para minimizar el desgaste de los componentes del soplador.
Compruebe la malla de la puerta
| Intervalo de mantenimiento y servicio | Procedimiento de mantenimiento |
|---|---|
| Cada vez que se utilice o diariamente |
|
-
Pare el motor, espere a que se detengan todas las piezas en movimiento y retire la llave. Ponga el freno de estacionamiento.
-
Inspeccione la malla de la puerta en busca de señales de desgaste, desgarre o daños.
Advertencia
En el uso normal, la malla se deteriorará y se desgastará. Podrían salir lanzados objetos a través de la malla desgastada a altas velocidades. Los objetos lanzados pueden causar lesiones graves o la muerte a usted o a otras personas.
Compruebe la malla frecuentemente en busca de desgarros y agujeros. Cambie la malla desgastada.
Compruebe el desviador de escape
| Intervalo de mantenimiento y servicio | Procedimiento de mantenimiento |
|---|---|
| Cada vez que se utilice o diariamente |
|
Cuidado
El desviador de escape está caliente. Tocar un desviador de escape caliente puede causar quemaduras graves.
Deje que el desviador de escape se enfríe totalmente antes de realizar tareas de mantenimiento.
-
Pare el motor, espere a que se detengan todas las piezas en movimiento y retire la llave. Ponga el freno de estacionamiento.
-
Inspeccione y limpie cualquier suciedad del desviador de escape.
Lubrique los engrasadores
| Intervalo de mantenimiento y servicio | Procedimiento de mantenimiento |
|---|---|
| Cada 25 horas |
|
Note: Consulte en la tabla los intervalos de mantenimiento.
-
Pare el motor, espere a que se detengan todas las piezas en movimiento y retire la llave. Ponga el freno de estacionamiento.
-
Lubrique los engrasadores con grasa multiuso para pistolas NGLI N.º 2.
Consulte en la tabla siguiente los lugares y el calendario de lubricación.
Tabla de lubricación Ubicación de los engrasadores Aplicaciones iniciales Número de lugares Intervalo de mantenimiento 1. Bujes de la polea tensora 1–2 1 25 horas 2. Palanca de la puerta 1–2 1 25 horas 3. Pivote de la palanca de elevación (Unidad de 388 litros (11 bushels) solamente) 1–2 1 Cada año
Compruebe la condición de la correa
| Intervalo de mantenimiento y servicio | Procedimiento de mantenimiento |
|---|---|
| Cada 50 horas |
|
Todas las unidades
-
Pare el motor, espere a que se detengan todas las piezas en movimiento y retire la llave. Ponga el freno de estacionamiento.
-
Inspeccione la correa en busca de desgaste o desperfectos. Sustituya la correa con una de las siguientes opciones:
Carcasa Pieza N.º 122 cm (48") 1-653333 132 cm (52") 1-653438 152 cm (60") 103-0866 183 cm (72") 103-0867
Ajustes
Ajuste de la posición de la correa de transmisión del soplador
-
Lea el manual del operador del Ultra Vac y del cortacésped antes de realizar este ajuste. Asegúrese de comprender los controles, su ubicación, su función y sus requisitos de seguridad.
-
Asegúrese de que el soplador, la cubierta de la correa, los tubos y la tolva están en buenas condiciones y que están correctamente conectados y enganchados.
-
Haga funcionar la máquina con la TDF y el soplador activados durante dos minutos.
-
Desengrane la TDF, pare el motor y retire la llave.
-
Retire la cubierta de la correa y compruebe que la correa está cerca del centro de la polea plana en el brazo de la polea tensora. Si la correa no está cerca del centro de la polea tensora, retire el soplador y doble ligeramente el brazo de la polea.
-
Vuelva a instalar el soplador y la cubierta de la correa y siga otra vez los pasos 3 a 5 para verificar la posición de la correa.
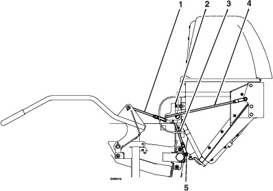
Ajuste del acoplamiento de la puerta
Unidad de 247 litros (7 bushels):
-
Si la puerta no se cierra correctamente, ajuste las varillas según se muestra en Figura 22.
-
Acorte la varilla para aumentar la fuerza de cierre.
-
Alargue la varilla para reducir la fuerza.
Ajuste las varillas en cada lado para que queden de la misma longitud aproximadamente.

-
-
Si los topes derecho e izquierdo no hacen contacto con el acoplamiento de la puerta cuando está extendida:
Ajuste la posición de los topes (ver Figura 22) de manera que el acoplamiento de la puerta entre en contacto con los topes cuando el tubo superior del marco de la puerta está a menos de 6.35 mm (¼") ± 3.2 mm (⅛") del borde inferior de la tapa.
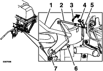
Unidad de 388 litros (11 bushels):

-
Cierre de la puerta: El cierre de la puerta se controla mediante las dos varillas de giro y los dos tornillos de tope (ver Figura 23). Los tornillos de tope deben ajustarse de manera que ambos están en contacto cuando el brazo de contacto está en posición vertical. Con los tornillos de tope ajustados, puede modificarse la longitud de las varillas de giro para permitir el cierre completo de la puerta, con una fuerza razonable en la palanca para enganchar o desenganchar la puerta. Alargue las varillas para reducir la resistencia. Acorte las varillas para aumentar la resistencia. Con la puerta cerrada, las varillas deben estar ligeramente apretadas para evitar ruidos y vibraciones.
-
Abertura de la puerta: Después de ajustar las varillas de giro para que la puerta se cierre correctamente, puede ajustarse el acoplamiento de la palanca para obtener una abertura máxima de la puerta (ver Figura 23). Alargue el acoplamiento para que la puerta se abra más. Acorte el acoplamiento para que la puerta se abra menos. La abertura máxima de la puerta se produce cuando el brazo de contacto llega al tope. Este tope no es ajustable, y evita que se produzcan daños en el acoplamiento por una abertura excesiva de la puerta.
-
Cierres: Una vez que se hayan ajustado las posiciones de abertura y cierre, pueden ajustarse los cierres (ver Figura 23). Con la puerta cerrada, debe ajustarse el acoplamiento de cierre hasta que el cerradero se enganche completamente con la varilla de cierre soldada a la puerta. Los cerraderos no deben quedar apretados contra la varilla de cierre. Deben “bailar” fácilmente.
Limpieza
Seguridad durante la limpieza y el almacenamiento
-
Aparque la máquina en una superficie nivelada, desengrane las transmisiones, ponga el freno de estacionamiento, pare el motor y retire la llave. Espere a que se detengan todas las piezas en movimiento antes de abandonar el puesto del operador. Deje que se enfríe la máquina antes de hacer trabajos de mantenimiento, ajuste, repostaje, desatascado, limpieza o almacenamiento.
-
Limpie la hierba y los residuos de la unidad de corte, el silenciador, las transmisiones, el recogedor y el compartimento del motor para prevenir incendios.
-
Espere a que se enfríe la máquina antes de guardarla en un recinto cerrado. No guarde la máquina o un recipiente de combustible, ni reposte, en un lugar donde pudiera haber una llama desnuda, chispas o una llama piloto, por ejemplo en un calentador de agua u otro electrodoméstico.
Limpie el silenciador y la zona del bastidor trasero
| Intervalo de mantenimiento y servicio | Procedimiento de mantenimiento |
|---|---|
| Cada vez que se utilice o diariamente |
|
Pare el motor, espere a que se detengan todas las piezas en movimiento y retire la llave. Ponga el freno de estacionamiento.
Advertencia
Las piezas del motor, especialmente el silenciador, pueden alcanzar temperaturas extremadamente altas durante el uso. Pueden provocar quemaduras graves por contacto, e incendiar residuos tales como hojas, hierbas, maleza, etc.
-
Deje que las piezas del motor, sobre todo el silenciador, se enfríen antes de tocarlos.
-
Elimine cualquier acumulacion de residuos del silenciador, el desviador de escape y la zona del motor.
Limpie la rejilla trasera de la tolva
| Intervalo de mantenimiento y servicio | Procedimiento de mantenimiento |
|---|---|
| Cada vez que se utilice o diariamente |
|
-
Pare el motor, espere a que se detengan todas las piezas en movimiento y retire la llave. Ponga el freno de estacionamiento.
-
Abra la puerta y retire los recortes pegados a la malla.
Limpie el soplador
| Intervalo de mantenimiento y servicio | Procedimiento de mantenimiento |
|---|---|
| Cada año o antes del almacenamiento |
|
Una acumulación de hierba puede causar problemas con el impulsor cuando la máquina vuelva a funcionar.
-
Pare el motor, espere a que se detengan todas las piezas en movimiento y retire la llave. Ponga el freno de estacionamiento.
-
Elimine cualquier acumulación de hierba de alrededor del impulsor antes de almacenarlo.






























