Este producto cumple todas las directivas europeas aplicables; si desea más detalles; consulte la Declaración de Incorporación (DOI) al final de esta publicación.

Important: El sistema de cableado de esta máquina se ha diseñado solo para su uso con luces LED. Utilice únicamente las luces suministradas por Toro.

Seguridad

Pegatinas de seguridad e instrucciones

Graphic

Las pegatinas de seguridad e instrucciones están a la vista del operador y están ubicadas cerca de cualquier zona de peligro potencial. Sustituya cualquier pegatina que esté dañada o que falte.

decal134-5457

Instalación

Preparación para instalar el kit de luces de carretera

Preparación de la máquina

  1. Aparque la máquina en una superficie nivelada.

  2. Baje las unidades de corte.

  3. Accione el freno de estacionamiento.

  4. Apague el motor y retire la llave.

  5. Espere a que se detengan todas las piezas en movimiento.

  6. Deje que el motor se enfríe por completo.

Elevación de la plataforma del operador

  1. Mueva la palanca de cierre de la plataforma (Figura 1) hacia la parte delantera de la máquina hasta que los ganchos del cierre se liberen de la barra de bloqueo.

    g290373
  2. Eleve la plataforma (Figura 2).

    Note: El cilindro de elevación de gas ayuda a la hora de elevar la plataforma.

    g290372

Retirada del compartimento de almacenamiento

Modelos 31657 y 31659
  1. A la izquierda de la plataforma del operador, abra la puerta del compartimento de almacenamiento (Figura 3).

    g328513
  2. Retire los 3 pomos y las 3 arandelas que sujetan el compartimento de almacenamiento a la máquina, y retire el compartimento (Figura 3).

Apertura del capó

Modelos 31654

Desenganche y abra el capó.

Desconexión de la batería

  1. Afloje la tuerca delantera del terminal del cable negativo de la batería (Figura 4).

    g344733
  2. Levante el cable negativo del borne de la batería (Figura 4).

    Note: Coloque el cable negativo de la batería donde no pueda entrar en contacto con el borne negativo.

Instalación de los componentes del ROPS

Piezas necesarias en este paso:

Conjunto de luz trasera derecha1
Conjunto de luz trasera izquierda1
Perno (16 x 110 mm)2
Tuerca con arandela prensada (16 mm)2
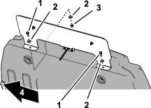
  1. Retire el perno de pivote (16 x 100 mm) y la tuerca con arandela prensada (16 mm) del lado derecho de la barra antivuelco (Figura 5).

    Deseche el perno de pivote (16 x 100 mm) y la tuerca con arandela prensada (16 mm).

    g344223
  2. Fije el conjunto de luz trasera derecha a la barra antivuelco con el nuevo perno (16 x 110 mm) y la nueva tuerca con arandela prensada (16 mm), tal y como se muestra en la Figura 6.

    g344222
  3. Repita este procedimiento en el lado izquierdo de la barra antivuelco.

Instalación de los reflectores

Piezas necesarias en este paso:

Reflector 2

Retire la película posterior y monte los 2 reflectores en la parte trasera del capó, tal y como se muestra en la Figura 7 o en la Figura 8.

g344248
g344249

Instalación de los interruptores de los faros, los intermitentes y de las luces de emergencia

Piezas necesarias en este paso:

Interruptor de faros1
Interruptor de intermitentes1
Interruptor de las luces de emergencia1

Instalación de los interruptores

Modelo 31654
  1. Retire los tapones mostrados del brazo de control (Figura 9 y Figura 10).

    Deseche los tapones.

    g344366
    g344364
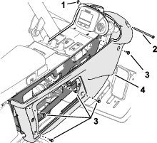
  2. Retire el panel de instrumentos y la placa de los interruptores del brazo de control (Figura 11 y Figura 12).

    Guarde las fijaciones para su instalación posterior.

    g344365
    g344367
  3. Tire de los conectores del arnés del brazo de control con las siguientes etiquetas:

    • LIGHTS (FAROS)

    • INDICATORS (INTERMITENTES)

    • HAZARDS (EMERGENCIA)

  4. Conecte los 3 interruptores en los conectores del arnés correspondientes (Figura 13 y Figura 14).

    g344363
    g344362
  5. Instale el panel de instrumentos y la placa de los interruptores que retiró antes del brazo de control (Figura 11 y Figura 12).

Instalación de los interruptores

Modelos 31657 y 31659
  1. Retire los 2 tornillos de cabeza Phillips (¼" x 1") que fijan la cubierta del brazo de control al brazo y retire la cubierta (Figura 15).

    g344284
  2. Retire el tornillo de cabeza Phillips (n.º 10 x 3-½"), la contratuerca (n.º 10) y 5 tornillos con arandela prensada (n.º 10 x ⅜") que fijan el panel del brazo de control derecho al brazo de control (Figura 14).

    g351205
  3. Retire los tapones que se muestran en la Figura 17 y la Figura 18 del brazo de control.

    Deseche los tapones.

    g351226
    g351225
  4. Pase los conectores del arnés que llevan las etiquetas siguientes a través del brazo de control:

  5. Conecte los 3 interruptores a los conectores del arnés correspondientes (Figura 19 y Figura 20).

    g351223
    g351224
  6. Monte el panel del brazo de control derecho en el brazo de control (Figura 21) con el tornillo de cabeza Phillips (n.º 10 x 3-½"), la contratuerca (n.º 10) y 5 tornillos con arandela prensada (n.º 10 x ⅜").

    g351204

Montaje del conjunto de barra de luces delanteras

Piezas necesarias en este paso:

Conjunto de barra de luces delanteras1
Conjunto de luz derecha1
Conjunto de luz izquierda1
Perno de cabeza hexagonal (12 x 80 mm)2
  1. Retire las fijaciones del conjunto de luz derecha.

    Conserve la contratuerca (12 mm) y la arandela de freno (12 mm). Deseche el tornillo.

  2. Fije el conjunto de luz derecha en el conjunto de barra de luces delanteras con 1 perno de cabeza hexagonal nuevo (12 x 80 mm), la contratuerca que retiró anteriormente (12 mm) y la arandela de freno (12 mm), tal y como se muestra en la Figura 22.

    Important: No apriete demasiado las fijaciones, o se podría dañar el conjunto de luz.

    g344461
  3. Repita los pasos 1 y 2 en el lado izquierdo.

Instalación de los soportes de montaje de la barra de luz

Piezas necesarias en este paso:

Bastidor de la barra de luces2
Tuerca con arandela prensada (8 mm)4
Perno con arandela prensada (8 x 65 mm)4
Arandela (8 mm)4

Identificación de las posiciones de los taladros del soporte de montaje

g344484

Utilice la ilustración en la Figura 24 para identificar las posiciones de los taladros del soporte de montaje en el brazo de la barra de luces de su máquina.

g344485

Note: También puede consultar la pegatina en la barra de luces (Figura 25) para obtener información sobre las posiciones de los taladros del soporte de montaje.

g344605

Instalación de los soportes de montaje en la barra de luz

  1. Alinee los orificios del soporte de montaje con los orificios del brazo de la barra de luces (Figura 26) que ha identificado en Identificación de las posiciones de los taladros del soporte de montaje.

    Note: Asegúrese de que la pestaña del soporte de montaje está alineada y hacia fuera con respecto al conjunto de luz.

    g345100
  2. Monte provisionalmente el soporte de montaje al brazo de la barra de luces (Figura 26) con 2 pernos (8 x 65 mm), 2 arandelas (8 mm) y 2 contratuercas con arandela prensada (8 mm).

  3. Repita los pasos 1 y 2 en el otro brazo de la barra de luces.

Instalación de la barra de luz

Piezas necesarias en este paso:

Perno con arandela prensada (6 x 25 mm)2
Contratuerca con arandela prensada (6 mm)2
Perno con arandela prensada (8 x 30 mm)4
Contratuerca con arandela prensada (8 mm)4
  1. Alinee los taladros del soporte de montaje de la barra de luces con los taladros en la placa de cierre y la placa del brazo de pivote (Figura 27, Figura 28, o Figura 29).

    g344558
    g344556
    g344557
  2. Monte provisionalmente el soporte de montaje a la placa de cierre (Figura 30) con un perno con arandela prensada (6 x 25 mm) y una contratuerca con arandela prensada (6 mm).

  3. Monte provisionalmente el soporte de montaje a la placa del brazo de pivote (Figura 30) con un perno con arandela prensada (8 x 30 mm) y una contratuerca con arandela prensada (8 mm).

  4. Repita los pasos 2 y 3 en el otro soporte de montaje.

  5. Apriete todos los pernos de 6 mm y las contratuercas (Figura 30) a entre 11 y 13 N∙m.

    g344584
  6. Apriete todos los pernos de 8 mm y las contratuercas (Figura 30) a entre 26 y 30 N∙m.

Instalación del transductor de presión del freno

Piezas necesarias en este paso:

Transductor de presión1
Acoplamiento (¾" x 7/16")1
Acoplamiento de adaptador (¼" x 7/16")1
Junta (¼") – Para máquinas con el kit de bloqueo del diferencial instalado únicamente1

Instalación del transductor

Modelo 31654
  1. A la derecha de la bomba de tracción, retire el tapón del acoplamiento en T en el puerto B de la bomba de tracción (Figura 31).

    g344293g344289
  2. Monte el acoplamiento de adaptador (¼" x 7/16") en el acoplamiento en T (Figura 31).

  3. Apriete el montaje del adaptador a entre 34 y 41 N∙m.

  4. Monte el transductor de presión del freno en el acoplamiento del adaptador (Figura 32).

    g344291
  5. Apriete el transductor de presión del freno a 27 N∙m.

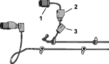
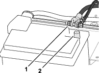
  6. Retire la brida para cables que fija el conector de 3 pines del arnés de cables de la máquina con la etiqueta SENSOR DE PRESIóN DEL FRENO a la manguera adyacente al colector de tracción delantera (Figura 33).

    g344439
  7. Enrute el conector de 3 pines y los cables hacia el lado derecho de la bomba de tracción.

    g344293
  8. Retire la tapa del conector del sensor de presión del freno (Figura 35).

    g344325
  9. Enchufe el conector del sensor de presión del freno en el transductor de presión del freno (Figura 35).

Instalación del transductor

Modelos 31657 y 31659 sin el kit de bloqueo del diferencial
  1. En el lado derecho de la bomba de tracción, retire el tapón del puerto MB de la bomba (Figura 36).

    Note: En máquinas que tengan 4WD en marcha atrás instalado, cambie el punto de prueba del puerto MB de la bomba de tracción por el transductor de presión del freno suministrado en este kit.

    g343559g344078
  2. Monte el acoplamiento del reductor en el puerto MB de la bomba (Figura 36).

  3. Apriete el acoplamiento del reductor a 81 N∙m.

  4. Monte el transductor de presión del freno (Figura 37) en el acoplamiento del reductor (¾" x 7/16").

    g344080
  5. Apriete el transductor a 27 N∙m.

  6. Retire la brida para cables que fija el conector de 3 pines del arnés de cables de la máquina con la etiqueta SENSOR DEPRESIóN DEL FRENO a la manguera adyacente al colector de tracción delantera (Figura 38).

    g344440
  7. Enrute el conector de 3 pines y los cables hacia el lado derecho de la bomba de tracción (Figura 39).

    g343559
  8. Retire la tapa del conector de 3 pines del arnés de cables de la máquina con la etiqueta SENSOR DE PRESIóN DEL FRENO(arnés de la cabina) (Figura 40).

    g344073
  9. Enchufe el conector de 3 pines con la etiqueta SENSOR DE PRESIóN DEL FRENO en el conector del transductor de presión (Figura 40).

Instalación del transductor de presión del freno

Máquinas con el kit opcional de bloqueo del diferencial
  1. Enrute el conector de 3 pines con la etiqueta y el cableado hacia el colector de tracción delantera (Figura 41).

    g344918
  2. Retire el tapón con cabeza allen del puerto PS del colector de tracción delantera (Figura 42).

    g344933
  3. Monte el acoplamiento de adaptador (¼" x 7/16") en el puerto del colector de tracción delantera (Figura 43) con una junta (¼").

    g344935
  4. Apriete el acoplamiento de adaptador a entre 34 y 41 N∙m.

  5. Monte el transductor de presión del freno en el acoplamiento del adaptador (Figura 43).

  6. Apriete el transductor a 27 N∙m.

  7. Enchufe el conector de 3 pines con la etiqueta en el transductor de presión del freno (Figura 44).

    g344934

Montaje de la matrícula

Máquinas sin la cabina opcional

Piezas necesarias en este paso:

Matrícula1
Soporte de matrícula1
Luz de matrícula1
Tornillo de cabeza Philips (n.º 6 x 1")2
Contratuerca (n.º 6)2
Perno con arandela prensada (6 x 20 mm)2
Tuerca con arandela prensada (6 mm)2
  1. Fije la luz de la matrícula al soporte de la matrícula con los 2 tornillos de cabeza Philips (n.º 6 x 1") y 2 contratuercas (n.º 6), tal y como se muestra en la Figura 45.

    Conserve el conector y el bloqueo de cuña para su instalación posterior.

    g344531
  2. Fije la matrícula al soporte de matrícula con 2 pernos con arandela prensada (6 x 20 mm) y 2 tuercas con arandela prensada (6 mm), tal y como se muestra en la Figura 46.

    g344532

Instalación del soporte y la luz de matrícula

Máquinas sin la cabina opcional

Piezas necesarias en este paso:

Perno con arandela prensada (6 x 20 mm)2
Arandela (¼" x ¾")3
Tuerca con arandela prensada (6 mm)2
Abrazadera acolchada1

Retirada de la división

Retire los 4 pernos, las 4 arandelas de freno y las 4 arandelas que fijan la división (Figura 47) al panel eléctrico y retire la división.

Note: Conserve la división, los pernos, las arandelas de freno y las arandelas.

g346880

Instalación de la matrícula y la luz

  1. Coloque el soporte de la matrícula montado en la división y alinee el soporte lo más hacia delante posible.

  2. Centre la matrícula montada en la división.

  3. Utilizando el soporte como plantilla, perfore 2 taladros (7 mm) a través de la división (Figura 48).

    g347227
  4. Perfore un taladro (6,5 mm) a través de la división a la izquierda de la luz de matrícula (Figura 49).

    g347228
  5. Monte provisionalmente el soporte de matrícula en la división con 2 pernos con arandela prensada (6 x 20 mm), 3 arandelas (¼" x ¾") y una contratuerca con arandela prensada (6 mm), tal y como se muestra en la Figura 50.

    Instalará la contratuerca en el perno con arandela prensada izquierdo de la máquina en Fijación del arnés de luz de matrícula a la división.

    g349858
  6. Enrute el arnés de la luz de matrícula (Figura 51) a través del taladro (6,5 mm) que realizó en el paso 4.

    Note: Instalará el conector de 2 pines y el bloqueo de cuña en Montaje del conector de luz de matrícula.

    g346837

Montaje del conector de luz de matrícula

  1. En la división, inserte el terminal del cable de luz blanco en la posición del pin 1 del conector de 2 pines (Figura 52).

    g351247
  2. Inserte el terminal del cable de luz negro en la posición del pin 2 del conector de 2 pines (Figura 52).

  3. Inserte el bloqueo de cuña en el conector de 2 pines.

Fijación del arnés de luz de matrícula a la división

  1. Monte la abrazadera acolchada en el arnés de la luz de matrícula (Figura 53).

    g349935
  2. Monte la abrazadera acolchada y una tuerca con arandela prensada (6 mm) en el perno con arandela prensada izquierdo de la máquina (Figura 53)

  3. Apriete los 2 pernos con arandela prensada y las 2 contratuercas con arandela prensada que fijan el soporte de la matrícula y la abrazadera a la división.

Instalación del arnés de cables

Piezas necesarias en este paso:

Arnés de cables del kit de luces1
Abrazadera adhesiva6
Inserción de tubo2
Abrazadera acolchada1
Brida8

Vista general de la colocación del arnés de cables

Consulte la Figura 54 para obtener una vista general de dónde se enruta el arnés de cables en la máquina.

g344563

Preparación de los conectores del arnés de cables de los faros

  1. Localice el conector de 6 pines con la etiqueta (faro izquierdo) y el conector de 6 pines con la etiqueta (faro derecho) de los conectores del arnés del kit (Figura 55).

    g347279
  2. Separe la carcasa posterior de 90° de la carcasa de la interfaz giratoria (Figura 55).

  3. Separe la carcasa de la interfaz giratoria del conector de 6 pines (Figura 55).

  4. Repita los pasos 2 y 3 del otro conector de los faros.

Enrutado y conexión del arnés de cables al conjunto de barra de luces delanteras

  1. Enrute el segmento del arnés de cables con la etiqueta (faro izquierdo) a través de la abertura izquierda en el soporte de la placa de pivote del brazo delantero y, a continuación, a través de la placa de cierre (Figura 56).

    g345099
  2. Enrute el segmento del arnés de cables con la etiqueta (faro derecho) a través de la abertura derecha en el soporte de la placa de pivote del brazo delantero y, a continuación, a través de la placa de cierre (Figura 56).

  3. Fije el arnés al soporte de la placa de pivote del brazo delantero con 2 abrazaderas adhesivas (Figura 56).

  4. Enrute el arnés de cables por el interior de los lados izquierdo y derecho del conjunto de barra de luces delanteras (Figura 57).

  5. Sujete el arnés de cables en la parte delantera con 4 abrazaderas adhesivas (Figura 57).

    g344582
  6. Enrute el arnés de cables a través del taladro en el canal delantero empujando el arnés a través hasta que vea el arnés desde el lateral del conjunto de la barra de luces (Figura 58).

    g344617

Conexión de los faros

  1. Monte la carcasa de la interfaz giratoria al conector de 6 pines (Figura 59).

    g347278
  2. Monte la carcasa posterior de 90° a la carcasa de la interfaz giratoria (Figura 59).

    Note: Asegúrese de que el conducto está fijo en la carcasa posterior de 90° .

  3. Repita los pasos 1 y 2 del otro conector de los faros.

  4. Conecte los conectores del arnés de cables a los conjuntos de luz izquierdo y derecho (Figura 60).

    g344574
  5. Instale las 2 inserciones de tubo en los laterales del conjunto de la barra de luces delanteras (Figura 61).

    g344583
  6. Sujete el arnés de cables con una brida.

Conexión del arnés de cables de luces al arnés de cables de la máquina

  1. En el travesaño del ROPS inferior (Figura 62), retire la tapa del conector de 6 pines del arnés de cables de la máquina con la etiqueta (interconexión del arnés de luces) (Figura 63).

    g346879
    g346878
  2. Enchufe el conector de 6 pines del arnés de cables del kit de luces con la etiqueta (interconexión del arnés de luces) en el conector de 6 pines del arnés de cables de la máquina con la etiqueta (interconexión del arnés de luces) (Figura 63).

Enrutado del arnés de cables

En la parte trasera del panel eléctrico, enrute el arnés de cables del kit a lo largo del arnés de cables de la máquina en la parte inferior del panel (Figura 64).

g344639

Conexión del arnés de la matrícula

Modelo 31654
  1. En la parte trasera del panel eléctrico, retire la contratuerca derecha superior y la arandela que fijan el controlador al panel (Figura 65).

    g349956
  2. Monte una abrazadera acolchada en la rama del arnés del kit con la etiqueta (luz de matrícula), tal y como se muestra en la Figura 66.

    g349960
  3. Monte la abrazadera en el perno y fije la abrazadera y el controlador en el panel eléctrico con la arandela y la contratuerca (Figura 66).

  4. Alinee la división con el panel eléctrico.

  5. Enchufe el conector del arnés de luz de matrícula en el conector del arnés del kit con la etiqueta (luz de matrícula) (Figura 67).

    g349985

Conexión del arnés de la matrícula

Modelos 31657 y 31659
  1. En la parte trasera del panel eléctrico, retire la contratuerca con arandela prensada superior derecha que fija el controlador al panel (Figura 68).

    g349957
  2. Monte una abrazadera acolchada en la rama del arnés del kit con la etiqueta (luz de matrícula), tal y como se muestra en la Figura 69.

    g349961
  3. Monte la abrazadera en el perno con arandela prensada y fije la abrazadera y el controlador en el panel eléctrico con la contratuerca con arandela prensada (Figura 69).

  4. Alinee la división con el panel eléctrico.

  5. Enchufe el conector del arnés de luz de matrícula en el conector del arnés del kit con la etiqueta (luz de matrícula) (Figura 70).

    g349986

Enrutado y conexión del arnés de cables en las luces traseras

  1. Identifique los conectores del arnés de kit de luces con la etiqueta (luces traseras izquierdas) y (luces traseras derechas) y a lo largo de los conectores en la mitad trasera inferior del panel eléctrico (Figura 71).

    g344628
  2. Conecte en los conectores (luces traseras izquierdas) y (luces traseras derechas) a los conjuntos de luces traseras izquierda y derecha (Figura 71).

Fijación del arnés de cables del kit

Fije el arnés a la máquina (Figura 72 o Figura 73) con los 8 sujetacables.

g349989
g349988

Instalación de la división

Monte la división en el panel eléctrico (Figura 74) con los 4 pernos, las 4 arandelas de freno y las 4 arandelas que retiró en Retirada de la división.

g347229

Instalación de fusibles y del relé de intermitencia

Modelo 31654

Piezas necesarias en este paso:

Fusible (10 A)1
Fusible (15 A)1
Relé de intermitencia1
  1. Instalación del fusible (10 A) y el fusible (15 A) por debajo del claxon, tal y como se muestra en la Figura 75.

    g028923
  2. En la parte trasera del panel de montaje eléctrico, enchufe el relé de intermitencia en el conector hembra de relé libre (Figura 76).

    g295696

Instalación de fusibles y del relé de intermitencia

Modelos 31657 y 31659

Piezas necesarias en este paso:

Minifusible (7,5 A)2
Relé de intermitencia1
  1. Retire la tapa del bloque de fusibles situada junto a la batería (Figura 77).

    g328464
  2. Instale los 2 minifusibles (7,5 A) en las ubicaciones de luces y de emergencia del bloque de fusibles (Figura 77).

    Note: Utilice la pegatina en la tapa del bloque de fusibles para conocer la posición de los fusibles.

  3. Instale la tapa del bloque de fusibles (Figura 77).

  4. Dentro del brazo de control, localice el conector hembra de 2 vías del arnés del brazo de control con la etiqueta (relé de intermitencia) (Figura 78).

    g347112
  5. Enchufe el relé de intermitencia en el conector hembra de 2 vías y fije el relé y el arnés con una brida para cables.

  6. Instale la cubierta de brazo de control (Figura 79).

    g344284

Conexión de la batería, bajada de la plataforma y cierre del capó

Conexión de la batería

  1. Monte el terminal del cable negativo de la batería (Figura 80) en el borne negativo de la batería.

    g344733
  2. Apriete la tuerca delantera y el perno en T (Figura 80) del terminal de cable negativo de la batería.

Instalación del compartimento de almacenamiento

Modelos 31657 y 31659
  1. Alinee los taladros en la parte inferior del compartimiento de almacenamiento con los taladros en los soportes del chasis.

  2. Monte el compartimento de almacenamiento en la máquina con los 3 pomos y las 3 arandelas (Figura 81).

    g328512
  3. Cierre la puerta del compartimento de almacenamiento.

Bajada de la plataforma del operador

Advertencia

El uso de la máquina con la plataforma sin cerrar puede hacer que pierda el control de la máquina y provocar lesiones graves a usted y a otras personas.

No utilice nunca la máquina sin antes comprobar que el mecanismo de cierre de la plataforma del operador está correctamente bloqueado y en buenas condiciones de funcionamiento.

  1. Baje la plataforma con cuidado (Figura 82).

    Note: El cilindro de elevación de gas ayuda a sostener la plataforma.

    g290371
  2. Cuando la plataforma se acerque a la posición de totalmente bajada, mueva la palanca de cierre de la plataforma (Figura 83) hacia la parte delantera de la máquina.

    Note: De esta forma, los cierres no chocarán contra la barra de bloqueo.

    g290369
  3. Baje la plataforma del todo y mueva la palanca de cierre de la plataforma hacia la parte trasera de la máquina hasta que el cierre se enganche del todo en la barra de bloqueo (Figura 84).

    g290370

Prueba y calibración de las luces de freno

Prueba de las luces de freno

  1. Modelo 31654: cierre el capó.

  2. Arranque el motor y déjelo en funcionamiento hasta calentar el refrigerante a entre 70 y 75 °C.

  3. Eleve las unidades de corte y quite el freno de estacionamiento.

  4. Conduzca lentamente la máquina hacia delante.

    Note: Las luces de freno deben apagarse de inmediato.Si las luces de freno se quedan encendidas o se quedan encendidas durante demasiado tiempo al pisar el pedal de avance, calibre el transductor de presión del freno.

  5. Suelte el pedal de tracción.

    Note: Las luces de freno deben encenderse de inmediato.Si las luces de freno no se encienden o no se encienden rápidamente al soltar el pedal de avance, calibre el transductor de presión del freno.

  6. Baje las unidades de corte, accione el freno de estacionamiento, apague el motor, retire la llave y espere a que se detengan todas las piezas en movimiento.

Preparación para la calibración

Modelo 31654
  1. Abra el capó.

  2. A la izquierda del motor, junto al controlador principal (Figura 85), retire la tapa del conector de 2 pines del arnés de la máquina.

    g347179
  3. Enchufe el cable de diagnóstico en el conector del .

    Póngase en contacto con su distribuidor Toro autorizado para obtener un cable.

  4. Enchufe el cable en el ordenador.

Calibración del transductor de presión del freno

Modelo 31654
  1. Abra el programa .

    Póngase en contacto con su distribuidor Toro autorizado para tener acceso a este programa.

  2. Seleccione Brake Light Parameters (Parámetros de luz de freno) en el menú (Figura 86).

    g345519
  3. Ajuste la presión de la luz de freno (Figura 86) del siguiente modo:

    • Si las luces de freno no se encienden o no se encienden rápidamente al soltar el pedal de avance, reduzca la presión (kPa).

    • Si las luces de freno se quedan encendidas o se quedan encendidas durante demasiado tiempo al soltar el pedal de avance, aumente la presión (kPa).

  4. Pruebe la luz de freno; consulte Prueba de las luces de freno.

Preparación para la calibración

Modelos 31657 y 31659
  1. Dentro del brazo de control, retire la tapa del conector de 3 pines del arnés del brazo de control con la etiqueta (puerto de diagnóstico can)(Figura 87).

    g347123
  2. Enchufe el cable de diagnóstico en el conector del .

    Póngase en contacto con su distribuidor Toro autorizado para obtener un cable.

  3. Enchufe el cable en el ordenador.

  4. Compruebe que el freno de estacionamiento está accionado y arranque el motor.

Calibración del transductor de presión del freno

Modelos 31657 y 31659
  1. Abra el programa Toro Diag en ToroConnect.

  2. Seleccione T:Primary situado a la izquierda de la pantalla (Figura 88).

    g345518
  3. Seleccione la pestaña Config (Configuración) en la parte superior de la pantalla (Figura 88).

  4. Seleccione Max Brake Pressure (psi) (Presión de freno máxima (psi)) en el menú Config (Configuración) y ajuste el valor predeterminado como estándar (Figura 88).

  5. Ajuste la presión de la luz de freno del siguiente modo:

    Important: Al aumentar o reducir la presión (psi), hágalo en incrementos de 1 a 5.

    • Si las luces de freno no se encienden o no se encienden rápidamente al soltar el pedal de avance, reduzca la presión (psi).

    • Si las luces de freno se quedan encendidas o se quedan encendidas durante demasiado tiempo al soltar el pedal de avance, aumente la presión (psi).

  6. Pruebe la luz de freno; consulte Prueba de las luces de freno.

Finalización de la calibración

  1. Apague el motor, retire la llave y espere a que se detengan todas las piezas en movimiento.

  2. Desconecte el cable de diagnóstico en el conector del .

  3. Monte la tapa en el conector con la etiqueta (puerto de diagnóstico can).

Terminación de la instalación

Cierre del capó

Modelos 31654

Cierre y enganche el capó.

Instalación de la cubierta del brazo de control

Modelos 31657 y 31659

Instale la cubierta del brazo de control (Figura 89) con los 2 tornillos de cabeza Phillips (¼" x 1") que retiró en Instalación del transductor.

g344284

Operación

Ajuste de los faros

Ajuste los faros para que la parte horizontal del haz se incline un 2% hacia abajo.

  1. Afloje la tuerca que sujeta los faros al soporte.

  2. Ajuste los faros en la posición adecuada de forma manual.

  3. Apriete la tuerca para fijar la luz en la posición correcta.

Uso de las luces

Símbolos de las luces

Los controles de las luces están marcados con los símbolos que se muestran en Figura 90.

g347124

Faros y luces de posición

Los faros y las luces traseras funcionan como luces de posición.

  • Para encender las luces de posición cuando el motor está apagado, pulse la parte superior del interruptor de las luces.

  • Para encender los faros y las luces de posición, arranque el motor o gire el interruptor de encendido a la posición de MARCHA y pulse la parte superior del interruptor de las luces.

  • Para apagar las luces, pulse la parte inferior del interruptor de las luces.

Luces de emergencia

Pulse la parte superior del interruptor de las luces de emergencia para que parpadeen todos los intermitentes de forma simultánea.

Note: No es necesario tener el interruptor de encendido en la posición de MARCHA para accionar las luces de emergencia.

Intermitentes

Haga funcionar la máquina con el interruptor de encendido girado en la posición MARCHA y pulse el lado correspondiente del interruptor de los intermitentes para que parpadeen los 2 intermitentes en ese lado de la máquina.

Luces de freno

Las luces de freno se encienden automáticamente cuando la máquina decelera (cuando el pedal de control vuelve a la posición PUNTO MUERTO, solo cuando se conduce hacia delante).

Mantenimiento

Mantenimiento de las luces

Sustituya cualquier pieza desgastada o deteriorada por una pieza genuina Toro.

  • Compruebe periódicamente que todas las luces funcionen.

  • Asegúrese de que los faros están ajustados correctamente.

  • Limpie las luces a diario.

    Important: No utilice productos de limpieza basados en disolventes.