Dieses Produkt entspricht allen relevanten europäischen Richtlinien. Weitere Informationen finden Sie in der Einbauerklärung am Ende dieses Dokuments.
Das 158cm-Heckauswurfabschlusskit (Modell 30469) kann an den folgenden Zugmaschinen der Serie Groundsmaster 7200 mit 158cm-Mähwerken montiert werden:
30365
30362
30462
30465
30465N
30495 (mit 30457)
30487 (mit 30457)
30695 (mit 30457)
Das 183cm-Heckauswurfabschlusskit (Modell 30472) kann an den folgenden Zugmaschinen der Serie Groundsmaster 7200 mit 183cm-Mähwerken montiert werden:
30361
30364
30364TC
30461
30464
30464TC
30464N
30495 (mit 30353)
30487 (mit 30353)
30695 (mit 30353)
Wenn Sie die angehobene Maschine nur mit Achsständern abstützen, während Sie unter dem Mähwerk arbeiten, kann der Achsständer rutschen. Das Mähwerk kann herunterfallen und Sie und Unbeteiligte zerquetschen.
Sichern Sie die Maschine immer mit mindestens 2 Achsständern ab, wenn Sie das Mähwerk angehoben haben.
Note: Dieser Schritt ist nicht an Modellen erforderlich, die ohne installierte Mähwerkablenkbleche ausgeliefert werden.
Kuppeln Sie die Zapfwelle aus, stellen die Fahrantriebshebel in die ARRETIERTE NEUTRAL-Stellung und aktivieren die Feststellbremse.
Schieben Sie den Gasbedienungshebel in die LANGSAM-Stellung, stellen Sie den Motor ab, ziehen Sie den Schüssel ab und verlassen Sie den Sitz erst, wenn alle beweglichen Teile zum Stillstand gekommen sind.
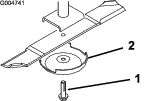
Entfernen Sie die Mutter, Schraube und das Distanzstück, mit denen die Mähwerkrolle an der Befestigungshalterung angebracht ist, und nehmen Sie die Mähwerkrolle ab (Bild 1).
Entfernen Sie die Schlossschrauben und Muttern, mit denen die Rollenbefestigungshalterung an der Unterseite des Mähwerks befestigt ist, und nehmen Sie die Rollenbefestigungshalterung ab (Bild 1).
Entfernen Sie die Schlossschrauben undMuttern, mit denen das mittlere, linke und rechte Ablenkblech an der Unterseite des Mähwerks befestigt ist, und nehmen Sie die Ablenkbleche ab (Bild 1).

Für diesen Arbeitsschritt erforderliche Teile:
| Mutter (5/16") | 36 |
| Schlossschraube (5/16" x 3/4") | 28 |
| Schlossschraube (5/16" x 7/8") | 8 |
| Linkes Fußschutzblech | 1 |
| Rechtes Fußschutzblech | 1 |
| Ablenkblech | 1 |
| Hinterer Winkel | 2 |
| Stützriemen | 2 |
| Linke Kammer | 1 |
| Mittlere Kammer | 1 |
| Rechte Kammer | 1 |
| Messer | 3 |
| Antiskalpierschale | 3 |
| Messerschraube | 3 |
| Identifizierungsaufkleber | 1 |
Befestigen Sie die neuen Kammern mit 12 Schlossschrauben (5/16" x 3/4") und 12 Muttern (5/16") lose an der Unterseite des Mähwerks.
Note: Jede Kammer sollte mit 4 Paar Schrauben und Muttern versehen sein. Die Schraubenköpfe müssen an der Innenseite des Mähwerks sein. Positionieren Sie die Kammern wie in Bild 2 dargestellt.
Note: Wenn ein benötigtes Befestigungsloch nicht im Mähwerk vorhanden ist, verwenden Sie das neue Bestandteil als Schablone für das Markieren und Bohren der Löcher mit einem Durchmesser von 8,99 mm. Nur vier Löcher pro Kammer werden benutzt.

Befestigen Sie die linke und rechte Kammer locker mit 2 Schlossschrauben (5/16" x 3/4") und 2 Muttern (5/16") an der mittleren Kammer, wie in Bild Bild 3 gezeigt.

Ziehen Sie die Befestigungen an.
Befestigen Sie die 2 Stützriemen und das Ablenkblech mit 8 Schlossschrauben (5/16" x 7/8") und 8 Muttern (5/16") an den beiden hinteren Winkelstücken, wie in Bild Bild 3 gezeigt.
Note: Die Schraubenköpfe müssen direkt neben dem hinteren Winkelstück sein.

Befestigen Sie die hinteren Winkelstücke mit den Ablenkblechen am hinteren Mähwerk mithilfe von 8 Schlossschrauben (5/16" x 7/8") und 8 Muttern (5/16"), wie in Bild Bild 4 gezeigt.
Befestigen Sie das rechte Fußschutzblech mithilfe von 3 Schlossschrauben (5/16" x 3/4") und 3 Muttern (5/16"), mit der Oberseite und Seite des Mähwerks wie in Bild Bild 5 gezeigt.

Befestigen Sie das linke Fußschutzblech mithilfe von 3 Schlossschrauben (5/16" x 3/4") und 3 Muttern (5/16"), mit der Oberseite und Seite des Mähwerks wie in Bild Bild 5 gezeigt.
Montieren Sie die Messer, die Antiskalpierschalen und die Messerschrauben (Bild 6).
Important: Der gebogene Teil des Schnittmessers muss zur Oberseite des Mähwerks zeigen, um einen guten Schnitt sicherzustellen.

Ziehen Sie die Messerschrauben bos auf 115-149 N·m an.
Drehen Sie die Messer, um sicherzustellen, dass sie sich nicht berühren
Ziehen Sie die Befestigungen an.
Befestigen Sie das Identifizierungsschild oben am Mähwerks in der Nähe der Seriennummer (Bild 7).
Note: Stellen Sie sicher, dass die Befestigungsoberfläche sauber ist.

Für diesen Arbeitsschritt erforderliche Teile:
| Mutter (5/16") | 36 |
| Schlossschraube (5/16" x 3/4") | 24 |
| Schlossschraube (5/16" x 7/8") | 10 |
| Linkes Fußschutzblech | 1 |
| Rechtes Fußschutzblech | 1 |
| Ablenkblech | 1 |
| Hinterer Winkel | 2 |
| Stützriemen | 2 |
| Linke Kammer | 1 |
| Mittlere Kammer | 1 |
| Rechte Kammer | 1 |
| Linkes Ablenkblech | 1 |
| Unterlegscheibe | 2 |
| Schraube (5/16" x ¾") | 2 |
| Messer | 3 |
| Antiskalpierschale | 3 |
| Messerschraube | 3 |
| Identifizierungsaufkleber | 1 |
Befestigen Sie die neuen Kammern mit 12 Schlossschrauben (5/16" x 3/4") und 12 Muttern (5/16") lose an der Unterseite des Mähwerks.
Note: Jede Kammer muss mit 4 Paar Schrauben und Muttern versehen sein. Die Schraubenköpfe müssen an der Innenseite des Mähwerks sein. Positionieren Sie die Kammern wie in Bild 8 dargestellt.
Note: Wenn ein benötigtes Befestigungsloch nicht im Mähwerk vorhanden ist, verwenden Sie das neue Bestandteil als Schablone für das Markieren und Bohren der Löcher mit einem Durchmesser von 8,99 mm. Nur vier Löcher pro Kammer werden benutzt.

Befestigen Sie die linke und rechte Kammer locker mit 2 Schlossschrauben (5/16" x 3/4") und 2 Muttern (5/16") an der mittleren Kammer, wie in Bild Bild 9 gezeigt.

Befestigen Sie einen Stützriemen und das linke (abgewinkelte) Ende des Ablenkblechs mit vier Schlossschrauben (5/16" x 7/8") und 4 Muttern (5/16") am hinteren Winkelstück, wie in Bild Bild 10 gezeigt.
Note: Die Schraubenköpfe müssen direkt neben dem hinteren Winkelstück sein.

Befestigen Sie das hintere Winkelstück mit dem Ablenkblech locker am Mähwerk mithilfe von 4 Schlossschrauben (5/16" x 7/4") und 4 Muttern (5/16"), wie in Bild Bild 10 gezeigt.
Befestigen Sie einen Stützriemen und das rechte (rechteckige) Ende des Ablenkblechs mit vier Schlossschrauben (5/16" x 7/8") und 4 Muttern (5/16") an der rechten Kammer, wie in Bild Bild 11 gezeigt.
Note: Die Schraubenköpfe müssen innerhalb der Kammer sein.

Ziehen Sie die Befestigungen an.
Befestigen Sie das rechte Fußschutzblech mithilfe von 4 Schlossschrauben (5/16" x 3/4") und 4 Muttern (5/16"), mit der Oberseite und Seite des Mähwerks wie in Bild Bild 12 gezeigt.

Befestigen Sie das linke Fußschutzblech und ein Ablenkblech mithilfe von 2 Schlossschrauben (5/16" x 7/8"), 2 Schlossschrauben (5/16" x 3/4"), 2 Scheiben und 4 Muttern (5/16"), mit der Oberseite und Seite des Mähwerks wie in Bild Bild 13 gezeigt.

Montieren Sie die Messer, die Antiskalpierschalen und die Messerschrauben (Bild 14).
Important: Der gebogene Teil des Schnittmessers muss zur Oberseite des Mähwerks zeigen, um einen guten Schnitt sicherzustellen.

Ziehen Sie die Messerschrauben bis auf 115-149 N·m an.
Drehen Sie die Messer, um sicherzustellen, dass sie sich nicht berühren.
Ziehen Sie die Befestigungen an.
Befestigen Sie das Identifizierungsschild oben am Mähwerks in der Nähe der Seriennummer (Bild 15).
Note: Stellen Sie sicher, dass die Befestigungsoberfläche sauber ist.

Für diesen Arbeitsschritt erforderliche Teile:
| Kotflügelbefestigung | 1 |
| Rechter Kotflügel | 1 |
| Gewindefurchende Schraube (5/16" x ⅝") | 2 |
| Schraube (¼" x ⅝") | 2 |
| Mutter (¼") | 2 |
Stellen Sie einen geeigneten Wagenheber unter das Rohr der hinteren Stoßstange und heben Sie die Hinterreifen vom Boden ab (Bild 16).
Note: Stellen Sie die Achsständer unter die hintere Stoßstange.

Entfernen Sie die Hinterräder.
Entfernen Sie Rückstände vom Fahrwerkschaft, u. a. Rückstände, die sich in der Bremse verfangen haben.
Entfernen Sie die Schraube, mit der die Schlauchklemme am Rahmenkanal an der rechten Seite der Maschine befestigt ist (Bild 17).

Stecken Sie das untere Ende der Schlauchklemme durch den Schlitz oben an der Kotflügelbefestigung (Bild 18).

Befestigen Sie die Schlauchklemme und die Kotflügelbefestigung lose mit der Schraube, die Sie vorher entfernt haben, am Rahmenkanal.
Positionieren Sie die Kotflügelbefestigung horizontal am Rahmenkanal.
Verwenden Sie die Kotflügelbefestigung als Schablone, um die anderen zwei Befestigungslöcher für den Kotflügel im Rahmenkanal zu markieren (Bild Bild 19).

Entfernen Sie die Schraube und Mutter, mit denen die Klemme und die Kotflügelbefestigung am Rahmen befestigt sind.

9Bohren Sie an den im 2. Schritt markierten Stellen 2 Löcher (Durchmesser: 7,137 mm) durch den Rahmenkanal (Bild Bild 20).
Befestigen Sie die Schlauchklemme und die Kotflügelbefestigung lose mit der Schlauchklemmenschraube und der Mutter am Rahmenkanal (siehe Bild 18).
Befestigen Sie die Kotflügelbefestigung mit 2 gewindefurchenden Schrauben (5/16" x ⅝") durch die neu gebohrten Löcher am Rahmenkanal, wie in Bild 21 gezeigt.

Ziehen Sie alle Befestigungen an.
Befestigen Sie die Seite des rechten Kotflügels lose mit zwei Schrauben (¼" x ⅝") und zwei Muttern (¼") an der Kotflügelhalterung (Bild 22).

Befestigen Sie die Halterung oben am Kotflügel lose mit zwei Schrauben (3/8" x 3/4") und 2 Muttern (3/8") an der Kraftstofftankhalterung, wie in Bild Bild 22 gezeigt.
Note: Stellen Sie sicher, dass der Kotflügel nicht am Bremsrotor reibt.
Ziehen Sie die Befestigungen an.
Für diesen Arbeitsschritt erforderliche Teile:
| Linker Kotflügel | 1 |
| Mutter (⅜") | 2 |
| Schraube (⅜" x ¾") | 2 |
Klemmen Sie das Minuskabel von der Batterie ab.
Klemmen Sie das Pluskabel von der Batterie ab.
Entfernen Sie die Schlossschraube, die Scheibe, die Batteriebefestigungsplatte und die Mutter, mit denen die Batterie befestigt ist (Bild 23).
Note: Bewahren Sie die Befestigungsplatte und die Befestigungen auf.

Nehmen Sie die Batterie aus dem Batteriekasten heraus (Bild 23).
Nehmen Sie den Batteriekasten aus dem Batterieplattform heraus (Bild 23).
Note: Werfen Sie den Batteriekasten weg.
Befestigen Sie die Halterung oben am linken Kotflügel lose mit zwei Schrauben (⅜" x ¾") und zwei Muttern (⅜") an der Halterung des Kraftstofftanks (Bild 24).

Setzen Sie die Batterie auf die Batterieplattform.
Befestigen Sie die Batterie lose mit der Schlossschraube, der Befestigungsplatte, der Scheibe und Mutter, die Sie vorher entfernt haben, an der Batterieplattform (Bild 25).

Ziehen Sie die Befestigungen an.
Schließen Sie das Pluskabel der Batterie an die Batterie an und schließen danach das Minuskabel der Batterie an die Batterie an.
Montieren Sie die Antriebsräder.
Ziehen Sie die Radmuttern bis auf 102-115 N·m an.
Entfernen Sie die Achsständer und senken Sie die Maschine ab.
Note: Stellen Sie sicher, dass die Reifen nicht an den Kotflügeln reiben, wenn Sie mit der Maschine fahren.