Ce produit est conforme à toutes les directives européennes pertinentes. Pour plus de renseignements, reportez-vous à la Déclaration d'incorporation (DOI) à la fin de ce document.
Le kit de complément éjecteur arrière de 157 cm (modèle 30469) peut être monté sur les Groundsmaster 7200 Series suivants équipés de plateaux de coupe de 157 cm :
30365
30362
30462
30465
30465N
30495 (avec 30457)
30487 (avec 30457)
30695 (avec 30457)
Le kit de complément éjecteur arrière de 183 cm (modèle 30472) peut être monté sur les Groundsmaster 7200 Series suivants équipés de plateaux de coupe de 183 cm :
30361
30364
30364TC
30461
30464
30464TC
30464N
30495 (avec 30353)
30487 (avec 30353)
30695 (avec 30353)
Si vous soulevez la machine uniquement avec un cric pour la soutenir pendant que vous travaillez sous le plateau de coupe, le cric peut tomber, entraîner la machine dans sa chute et vous écraser ou écraser toute personne à proximité.
Supportez toujours la machine sur deux chandelles quand le plateau de coupe est levé.
Note: Cette procédure n'est pas nécessaire sur les modèles expédiés sans que les déflecteurs soient montés.
Désengagez la PDF, amenez les leviers de commande de déplacement à la position de VERROUILLAGE AU POINT MORT et serrez le frein de stationnement.
Placez la commande d'accélérateur en position de BAS RéGIME (slow), coupez le moteur, enlevez la clé et attendez l'arrêt complet de toutes les pièces mobiles avant de quitter le siège.
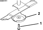
Déposez l'écrou, le boulon et l'entretoise qui fixent le galet au support de montage et déposez le galet (Figure 1).
Retirez les boulons de carrosserie et les écrous qui fixent le support du galet à la face inférieure du plateau de coupe, et déposez le support (Figure 1).
Retirez les boulons de carrosserie et les écrous à embase qui fixent les déflecteurs central, gauche et droit à la face inférieure du plateau de coupe et déposez les déflecteurs (Figure 1).

Pièces nécessaires pour cette opération:
| Écrou (5/16 po) | 36 |
| Boulon de carrosserie (5/16 x 3/4 po) | 28 |
| Boulon de carrosserie (5/16 x 7/8 po) | 8 |
| Protège-pieds gauche | 1 |
| Protège-pieds droit | 1 |
| Déflecteur | 1 |
| Angle arrière | 2 |
| Barrette de support | 2 |
| Chambre gauche | 1 |
| Chambre centrale | 1 |
| Chambre droite | 1 |
| Lame | 3 |
| Coupelle de protection | 3 |
| Boulon de lame | 3 |
| Autocollant d'identification | 1 |
Fixez légèrement les nouvelles chambres sur le dessous du plateau de coupe à l'aide de 12 boulons de carrosserie (5/16 x 3/4 po) et 12 écrous (5/16 po).
Note: Chaque chambre devrait avoir 4 jeux d'écrous et de boulons. Placez la tête des boulons à l'intérieur du plateau de coupe. Positionnez les chambres comme montré à la Figure 2.
Note: S'il manque un trou de montage dans le plateau de coupe, utilisez le nouveau composant comme guide pour localiser, repérer et percer les trous (0,89 cm de diamètre). Seulement 4 trous par chambre sont utilisés.

Fixez légèrement les chambres droite et gauche à la chambre centrale à l'aide de 2 boulons de carrosserie (5/16 x 3/4 po) et 2 écrous (5/16 po), comme montré à la Figure 3.

Serrez toutes les fixations.
Fixez légèrement les 2 barrettes de support et le déflecteur sur les 2 angles arrière à l'aide de 8 boulons de carrosserie (5/16 x 7/8 po) et 8 écrous (5/16 po), comme montré à la Figure 3.
Note: Placez la tête des boulons près de l'angle arrière.

Fixez les 2 angles arrière avec les déflecteurs sur le plateau de coupe arrière à l'aide de 8 boulons de carrosserie (5/16 x 7/8 po) et 8 écrous (5/16 po), comme montré à la Figure 4.
Fixez le protège-pieds droit en haut et sur le côté du plateau de coupe à l'aide de 3 boulons de carrosserie (5/16 x 3/4 po) et 3 écrous (5/16 po), comme montré à la Figure 5.

Fixez le protège-pieds gauche en haut et sur le côté du plateau de coupe à l'aide de 3 boulons de carrosserie (5/16 x 3/4 po) et 3 écrous (5/16 po), comme montré à la Figure 5.
Montez les lames, les coupelles de protection et les boulons de fixation (Figure 6).
Important: Pour obtenir une coupe correcte, la partie relevée de la lame doit être dirigée vers le haut du plateau de coupe.

Serrez les boulons des lames à un couple de 115 à 149 N·m.
Faites tourner les lames pour vérifier que rien ne les gêne.
Serrez toutes les fixations.
Collez un autocollant d'identification sur le haut du plateau de coupe, près de la plaque du numéro de série (Figure 7).
Note: Vérifiez que la surface de montage est propre.

Pièces nécessaires pour cette opération:
| Écrou (5/16 po) | 36 |
| Boulon de carrosserie (5/16 x 3/4 po) | 24 |
| Boulon de carrosserie (5/16 x 7/8 po) | 10 |
| Protège-pieds gauche | 1 |
| Protège-pieds droit | 1 |
| Déflecteur | 1 |
| Angle arrière | 2 |
| Barrette de support | 2 |
| Chambre gauche | 1 |
| Chambre centrale | 1 |
| Chambre droite | 1 |
| Déflecteur gauche | 1 |
| Rondelle | 2 |
| Boulon (5/16 x ¾ po) | 2 |
| Lame | 3 |
| Coupelle de protection | 3 |
| Boulon de lame | 3 |
| Autocollant d'identification | 1 |
Fixez légèrement les nouvelles chambres sur le dessous du plateau de coupe à l'aide de 12 boulons de carrosserie (5/16 x 3/4 po) et 12 écrous (5/16 po).
Note: Chaque chambre possède 4 jeux d'écrous et de boulons. Placez la tête des boulons à l'intérieur du plateau de coupe. Positionnez les chambres comme montré à la Figure 8.
Note: S'il manque un trou de montage dans le plateau de coupe, utilisez le nouveau composant comme guide pour localiser, repérer et percer les trous (0,89 cm de diamètre). Seulement 4 trous par chambre sont utilisés.

Fixez légèrement les chambres droite et gauche à la chambre centrale à l'aide de 2 boulons de carrosserie (5/16 x 3/4 po) et 2 écrous (5/16 po), comme montré à la Figure 9.

Fixez légèrement une barrette de support et l'extrémité gauche (oblique) du déflecteur sur l'angle arrière à l'aide de 4 boulons de carrosserie (5/16 x 7/4 po) et 4 écrous (5/16 po), comme montré à la Figure 10.
Note: Placez la tête des boulons près de l'angle arrière.

Fixez les l'angle arrière avec le déflecteur sur le plateau de coupe à l'aide de 4 boulons de carrosserie (5/16 x 7/8 po) et 4 écrous (5/16 po), comme montré à la Figure 10.
Fixez légèrement une barrette de support et l'extrémité droite (carrée) du déflecteur sur la chambre droite à l'aide de 4 boulons de carrosserie (5/16 x 7/8 po) et 4 écrous (5/16 po), comme montré à la Figure 11.
Note: Placez la tête des boulons dans la chambre.

Serrez toutes les fixations.
Fixez le protège-pieds droit en haut et sur le côté du plateau de coupe à l'aide de 4 boulons de carrosserie (5/16 x 3/4 po) et 4 écrous (5/16 po), comme montré à la Figure 12.

Fixez le protège-pieds gauche en haut et sur le côté du plateau de coupe à l'aide de 2 boulons de carrosserie (5/16 x 7/8 po), 5 boulons de carrosserie (5/16 x 3/4 po), 2 rondelles et 4 écrous (5/16 po), comme montré à la Figure 13.

Montez les lames, les coupelles de protection et les boulons de fixation (Figure 14).
Important: Pour obtenir une coupe correcte, la partie relevée de la lame doit être dirigée vers le haut du plateau de coupe.

Serrez les boulons des lames à un couple de 115 à 149 N·m.
Faites tourner les lames pour vérifier que rien ne les gêne..
Serrez toutes les fixations.
Collez un autocollant d'identification sur le haut du plateau de coupe, près de la plaque du numéro de série (Figure 15).
Note: Vérifiez que la surface de montage est propre.

Pièces nécessaires pour cette opération:
| Support d'aile | 1 |
| Aile droite | 1 |
| Vis autotaraudeuse (5/16" x ⅝") | 2 |
| Boulon (¼" x ⅝") | 2 |
| Écrou (¼") | 2 |
Placez un cric d'atelier adapté sous le tube de pare-chocs arrière et soulevez les roues arrière du sol (Figure 16).
Note: Placez les chandelles sous le pare-chocs arrière.

Déposez les roues arrière.
Enlevez les débris présents dans le passage de roue, y compris ceux coincés dans le frein.
Retirez le boulon qui fixe le collier de flexible au profilé du cadre, sur le côté droit de la machine (Figure 17).

Insérez le bas du collier dans la fente située située au sommet du support d'aile (Figure 18).

Montez le collier de flexible et le support d'aile sur le profilé du cadre en serrant légèrement le boulon retiré précédemment.
Placez le support du cadre sur le profilé du cadre.
Utilisez le support du cadre comme gabarit pour localiser et repérer les 2 autres trous de montage de l'aile dans le profilé du cadre (Figure 19).

Retirez le boulon et l'écrou qui fixent le collier et le support d'aile au cadre.

Percez 2 trous de 7,13 mm de diamètre dans le profilé du cadre (Figure 20) aux emplacements repérés à l'opération (9).
Montez le collier de flexible et le support d'aile sur le profilé du cadre en serrant légèrement le boulon et l'écrou (voir Figure 18).
Fixez le support d'aile au profilé du cadre en insérant 2 vis autotaraudeuses (5/16" x ⅝") dans les trous que vous venez de percer (Figure 21).

Serrez toutes les fixations.
Fixez le côté de l'aile droite sur le support en serrant légèrement les 2 boulons (¼" x ⅝") et écrous (¼"), comme montré à la Figure 22.

Fixez le support situé au sommet de l'aile droite sur le support du réservoir de carburant en serrant légèrement les 2 boulons (3/8 x 3/4 po) et les 2 écrous (3/8 po), comme montré à la Figure 22.
Note: Vérifiez que l'aile ne frotte pas sur le disque de frein.
Serrez les fixations.
Pièces nécessaires pour cette opération:
| Aile gauche | 1 |
| Écrou (⅜") | 2 |
| Boulon (⅜" x ¾") | 2 |
Débranchez le câble de la borne négative de la batterie.
Débranchez le câble de la borne positive de la batterie.
Retirez le boulon de carrosserie, la rondelle, le dispositif de retenue et l'écrou qui fixent la batterie (Figure 23).
Note: Conservez le dispositif de retenue et les fixations.

Enlevez la batterie de son support (Figure 23).
Enlevez le support de la batterie de la plateforme (Figure 23).
Note: Mettez le support de batterie au rebut.
Fixez le support situé au sommet de l'aile gauche sur le support du réservoir de carburant en serrant légèrement les 2 boulons (⅜" x ¾") et les 2 écrous (⅜"), comme montré à la Figure 24.

Posez la batterie sur la plateforme.
Fixez la batterie sur la plateforme en serrant légèrement le boulon de carrosserie, la barre de retenue, la rondelle et l'écrou retirés précédemment (Figure 25).

Serrez les fixations.
Rebranchez le câble positif de la batterie puis le câble négatif.
Posez les roues motrices.
Serrez les écrous de roue à un couple de 102 à 115 N·m.
Retirez les chandelles et abaissez la machine.
Note: Vérifiez que les pneus ne frottent pas contre les ailes pendant la conduite de la machine.