Tämä tuote on soveltuvien eurooppalaisten direktiivien mukainen. Lisätietoja on tämän julkaisun lopussa olevassa liittämisvakuutuksessa.
158 cm:n taaksepoiston täydennyssarja (malli 30469) voidaan asentaa seuraaviin Groundsmaster 7200 -sarjan ajoyksiköihin, joissa on 158 cm:n leikkuri:
30365
30362
30462
30465
30465N
30495 (ja 30457)
30487 (ja 30457)
30695 (ja 30457)
183 cm:n taaksepoiston täydennyssarja (malli 30472) voidaan asentaa seuraaviin Groundsmaster 7200 -sarjan ajoyksiköihin, joissa on 183 cm:n leikkuri:
30361
30364
30364TC
30461
30464
30464TC
30464N
30495 (ja 30353)
30487 (ja 30353)
30695 (ja 30353)
Jos kone nostetaan pelkän tunkin avulla leikkuupöydän alla työskentelyä varten, tunkki voi kaatua, jolloin koneen alla olevat henkilöt ovat vaarassa jäädä leikkuupöydän alle puristuksiin.
Tue kone aina vähintään kahdella pukilla, kun leikkuupöytä on nostettu.
Note: Tämä toimenpide voidaan ohittaa niiden mallien kohdalla, joihin ei ole asennettu leikkuuyksikön levittimiä.
Vapauta voimanulosotto, siirrä liikkeenohjausvivut LUKITTU VAPAA -asentoon ja kytke seisontajarru.
Siirrä kaasuvipu HIDAS-asentoon, sammuta moottori, irrota avain ja odota, että kaikki liikkuvat osat pysähtyvät, ennen kuin poistut käyttäjän paikalta.
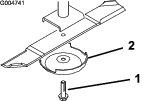
Irrota mutteri, pultti ja välikappale, joilla leikkuupöydän rulla on kiinnitetty asennuskannattimeen, ja irrota leikkuupöydän rulla (Kuva 1).
Irrota lukkopultit ja mutterit, joilla rullan asennuskannatin on kiinnitetty leikkuupöydän alapuolelle, ja irrota rullan asennuskannatin (Kuva 1).
Irrota lukkopultit ja mutterit, joilla keskimmäinen, vasemmanpuoleinen ja oikeanpuoleinen levitin on kiinnitetty leikkuupöydän alapuolelle, ja irrota levittimet (Kuva 1).

Vaiheeseen tarvittavat osat:
| Mutteri (5/16 tuumaa) | 36 |
| Lukkopultti (5/16 × 3/4 tuumaa) | 28 |
| Lukkopultti (5/16 × 7/8 tuumaa) | 8 |
| Vasen jalkasuojus | 1 |
| Oikea jalkasuojus | 1 |
| Suuntain | 1 |
| Takakulmakappale | 2 |
| Tukihihna | 2 |
| Vasen kammio | 1 |
| Keskikammio | 1 |
| Oikea kammio | 1 |
| Terä | 3 |
| Nurmisuojakupu | 3 |
| Teräpultti | 3 |
| Tunnistustarra | 1 |
Asenna uudet kammiot löysästi leikkuupöydän alapuolelle kahdellatoista lukkopultilla (5/16 × 3/4 tuumaa) ja kahdellatoista mutterilla (5/16 tuumaa).
Note: Jokaista kammiota kohti on oltava neljä mutteria ja pulttia. Aseta pulttien päät leikkuupöydän sisään. Aseta kammiot paikoilleen kuvan mukaisesti (Kuva 2).
Note: Jos leikkuupöydässä ei ole vaadittavaa asennusreikää, käytä uutta osaa mallina ja etsi, merkitse ja poraa reiät (0,354 tuumaa eli 9 mm). Kammiota kohti käytetään vain neljää reikää.

Kiinnitä vasen ja oikea kammio löysästi keskikammioon kahdella lukkopultilla (5/16 × 3/4 tuumaa) ja kahdella mutterilla (5/16 tuumaa) kuvan mukaisesti (Kuva 3).

Kiristä kaikki kiinnikkeet.
Kiinnitä kaksi tukihihnaa ja suuntain kahteen takakulmakappaleeseen kahdeksalla lukkopultilla (5/16 × 7/8 tuumaa) ja kahdeksalla mutterilla (5/16 tuumaa) kuvan mukaisesti (Kuva 3).
Note: Pulttien päät tulevat takakulmakappaleen viereen.

Kiinnitä takakulmakappaleet ja suuntaimet takaleikkuupöytään kahdeksalla lukkopultilla (5/16 × 7/8 tuumaa) ja kahdeksalla mutterilla (5/16 tuumaa) kuvan mukaisesti (Kuva 4).
Kiinnitä oikea jalkasuojus leikkuupöydän päälle ja sivuun kolmella lukkopultilla (5/16 × 3/4 tuumaa) ja kolmella mutterilla (5/16 tuumaa) kuvan mukaisesti (Kuva 5).

Kiinnitä vasen jalkasuojus leikkuupöydän päälle ja sivuun kolmella lukkopultilla (5/16 × 3/4 tuumaa) ja kolmella mutterilla (5/16 tuumaa) kuvan mukaisesti (Kuva 5).
Asenna terät, nurmisuojakuvut ja teräpultit (Kuva 6).
Important: Terän kaarevan puolen on osoitettava leikkuuyksikön yläosaa kohti, jotta leikkuujäljestä tulee moitteeton.

Kiristä teräpultit momenttiin 115–149 N·m.
Varmista pyörittämällä teriä, että ne liikkuvat vapaasti.
Kiristä kaikki kiinnikkeet.
Kiinnitä tunnistustarra leikkuupöydän yläosaan lähelle sarjanumerokilpeä (Kuva 7).
Note: Varmista, että kiinnityspinta on puhdas.

Vaiheeseen tarvittavat osat:
| Mutteri (5/16 tuumaa) | 36 |
| Lukkopultti (5/16 × 3/4 tuumaa) | 24 |
| Lukkopultti (5/16 × 7/8 tuumaa) | 10 |
| Vasen jalkasuojus | 1 |
| Oikea jalkasuojus | 1 |
| Suuntain | 1 |
| Takakulmakappale | 2 |
| Tukihihna | 2 |
| Vasen kammio | 1 |
| Keskikammio | 1 |
| Oikea kammio | 1 |
| Vasen suuntain | 1 |
| Aluslaatta | 2 |
| Pultti (5/16 × 3/4 tuumaa) | 2 |
| Terä | 3 |
| Nurmisuojakupu | 3 |
| Teräpultti | 3 |
| Tunnistustarra | 1 |
Asenna uudet kammiot löysästi leikkuupöydän alapuolelle kahdellatoista lukkopultilla (5/16 × 3/4 tuumaa) ja kahdellatoista mutterilla (5/16 tuumaa).
Note: Jokaista kammiota kohti on oltava neljä mutteria ja pulttia. Aseta pulttien päät leikkuupöydän sisään. Aseta kammiot paikoilleen kuvan mukaisesti (Kuva 8).
Note: Jos leikkuupöydässä ei ole vaadittavaa asennusreikää, käytä uutta osaa mallina ja etsi, merkitse ja poraa reiät (0,354 tuumaa eli 9 mm). Kammiota kohti käytetään vain neljää reikää.

Kiinnitä vasen ja oikea kammio löysästi keskikammioon kahdella lukkopultilla (5/16 × 3/4 tuumaa) ja kahdella mutterilla (5/16 tuumaa) kuvan mukaisesti (Kuva 9).

Kiinnitä tukihihna ja suuntaimen vasen (kulmikas) pää takakulmakappaleeseen neljällä lukkopultilla (5/16 × 7/8 tuumaa) ja neljällä mutterilla (5/16 tuumaa) kuvan mukaisesti (Kuva 10).
Note: Pulttien päät tulevat takakulmakappaleen viereen.

Kiinnitä takakulmakappale ja suuntain löysästi leikkuupöytään neljällä lukkopultilla (5/16 × 7/8 tuumaa) ja neljällä mutterilla (5/16 tuumaa) kuvan mukaisesti (Kuva 10).
Kiinnitä tukihihna ja suuntaimen oikea (suorakulmainen) pää oikeaan kammioon neljällä lukkopultilla (5/16 × 7/8 tuumaa) ja neljällä mutterilla (5/16 tuumaa) kuvan mukaisesti (Kuva 11).
Note: Pulttien päät tulevat kammion sisäpuolelle.

Kiristä kaikki kiinnikkeet.
Kiinnitä oikea jalkasuojus leikkuupöydän päälle ja sivuun neljällä lukkopultilla (5/16 × 3/4 tuumaa) ja neljällä mutterilla (5/16 tuumaa) kuvan mukaisesti (Kuva 12).

Kiinnitä vasen jalkasuojus ja suuntain leikkuupöydän päälle ja sivuun kahdella lukkopultilla (5/16 × 7/8 tuumaa), kahdella lukkopultilla (5/16 × 3/4 tuumaa), kahdella aluslaatalla ja neljällä mutterilla (5/16 tuumaa) kuvan mukaisesti (Kuva 13).

Asenna terät, nurmisuojakuvut ja teräpultit (Kuva 14).
Important: Terän kaarevan puolen on osoitettava leikkuuyksikön yläosaa kohti, jotta leikkuujäljestä tulee moitteeton.

Kiristä teräpultit momenttiin 115–149 N·m.
Varmista teriä pyörittämällä, että ne liikkuvat vapaasti.
Kiristä kaikki kiinnikkeet.
Kiinnitä tunnistustarra leikkuupöydän yläosaan lähelle sarjanumerokilpeä (Kuva 15).
Note: Varmista, että kiinnityspinta on puhdas.

Vaiheeseen tarvittavat osat:
| Lokasuojan teline | 1 |
| Oikeanpuoleinen lokasuoja | 1 |
| Itsekierteittävä ruuvi (5/16 × 5/8 tuumaa) | 2 |
| Pultti (¼ × ⅝ tuumaa) | 2 |
| Mutteri (¼ tuumaa) | 2 |
Aseta soveltuva tunkki takapuskurin putken alle ja nosta takarenkaat ylös maasta (Kuva 16).
Note: Aseta pukit takapuskurin alle.

Irrota takapyörät.
Poista kaikki pyöräkotelossa olevat ja jarrukokoonpanoon tarttuneet roskat.
Irrota pultti, jolla letkunkiristin on kiinnitetty koneen oikealla puolella olevaan runkokiskoon (Kuva 17).

Asenna letkunkiristimen alaosa lokasuojan telineen päällä olevan aukkoon (Kuva 18).

Asenna letkunkiristin ja lokasuojan teline löysästi runkokiskoon aiemmin irrotetulla pultilla.
Aseta rungon teline vaakasuuntaisesti runkokiskolle.
Käytä rungon telinettä mallina ja etsi kaksi muuta runkokiskossa olevaa lokasuojan asennusaukkoa ja merkitse niiden sijainnit (Kuva 19).

Irrota pultti ja mutteri, joilla kiristin ja lokasuojan teline on kiinnitetty runkoon.

Poraa kaksi reikää (0,281 tuuman eli 7,137 mm:n halkaisija) runkokiskon läpi vaiheessa 9 merkityissä kohdissa (Kuva 20).
Asenna letkunkiristin ja lokasuojan teline löysästi runkokiskoon letkunkiristimellä, pultilla ja mutterilla (katso Kuva 18).
Käytä vasta porattuja reikiä ja kiinnitä lokasuojan teline runkokiskoon kahdella itsekierteittävällä ruuvilla (5/16 × 5/8 tuumaa) kuvan mukaisesti (Kuva 21).

Kiristä kaikki kiinnikkeet.
Asenna oikeanpuoleisen lokasuojan sivu löysästi lokasuojan telineeseen kahdella pultilla (1/4 × 5/8 tuumaa) ja kahdella mutterilla (1/4 tuumaa) kuvan mukaisesti (Kuva 22).

Asenna lokasuojan päällä oleva kannatin löysästi polttoainesäiliön kannattimeen kahdella pultilla (3/8 × 3/4 tuumaa) ja kahdella mutterilla (3/8 tuumaa) kuvan mukaisesti (Kuva 22).
Note: Varmista, että lokasuoja ei hankaa jarrukiekkoa.
Kiristä kiinnikkeet.
Vaiheeseen tarvittavat osat:
| Vasemmanpuoleinen lokasuoja | 1 |
| Mutteri (⅜ tuumaa) | 2 |
| Pultti (3/8 × 3/4 tuumaa) | 2 |
Irrota kaapeli akun miinusnavasta.
Irrota kaapeli akun plusnavasta.
Irrota lukkopultti, aluslaatta, akun pidike ja akun kiinnitysmutteri (Kuva 23).
Note: Säilytä pidike ja kiinnikkeet.

Irrota akku akkualustasta (Kuva 23).
Irrota akkualusta akkutasolta (Kuva 23).
Note: Hävitä akkualusta.
Asenna vasemmanpuoleisen lokasuojan päällä oleva kannatin löysästi polttoainesäiliön kannattimeen kahdella pultilla (3/8 × 3/4 tuumaa) ja kahdella mutterilla (3/8 tuumaa) kuvan mukaisesti (Kuva 24).

Aseta akku akkutasolle.
Asenna akku löysästi akkutasolle aiemmin irrotetulla lukkopultilla, akun pidikkeellä, aluslaatalla ja mutterilla (Kuva 25).

Kiristä kiinnikkeet.
Kytke akun pluskaapeli akkuun ja kytke sitten akun miinuskaapeli akkuun.
Asenna pyörät.
Kiristä pyöränmutterit momenttiin 102–115 N·m.
Poista pukit ja laske kone.
Note: Tarkista, että renkaat eivät hankaa lokasuojiin konetta ajettaessa.