Dit product voldoet aan alle relevante Europese richtlijnen. Voor meer informatie, zie de inbouwverklaring aan het einde van deze handleiding.
De aanvulset voor de achterafvoer van 158 cm maaiers (model 30469) kan worden gemonteerd op de volgende tractie-eenheden met 158 cm maaiers uit de Groundsmaster 7200-serie:
30365
30362
30462
30465
30465N
30495 (met 30457)
30487 (met 30457)
30695 (met 30457)
De aanvulset voor de achterafvoer van 183 cm maaiers (model 30472) kan worden gemonteerd op de volgende tractie-eenheden met 183 cm maaiers uit de Groundsmaster 7200-serie:
30361
30364
30364TC
30461
30464
30464TC
30464N
30495 (met 30353)
30487 (met 30353)
30695 (met 30353)
Als u de machine opkrikt en op slechts op de krik laat steunen terwijl u onder het maaidek werkt, bestaat de kans dat de krik omvalt zodat het maaidek naar beneden valt waarbij u of omstanders worden verpletterd.
Plaats de machine altijd op minstens 2 assteunen als u de machine hebt opgekrikt.
Note: Deze procedure is niet nodig voor modellen die geleverd worden met de maaidekschotten gemonteerd.
Schakel de aftakas uit, zet de rijhendels in de VERGRENDELDE NEUTRAALSTAND en stel de parkeerrem in werking.
Zet de gashendel in de stand LANGZAAM, schakel de motor uit, verwijder het contactsleuteltje en wacht totdat alle bewegende delen tot stilstand zijn gekomen voordat u de bestuurdersstoel verlaat.
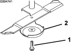
Verwijder de moer, de bout en het afstandsstuk waarmee de maaidekrol aan de montagebeugel is bevestigd en verwijder de maaidekrol (Figuur 1).
Verwijder de slotbouten en moeren waarmee de montagebeugel van de rol onderaan het maaidek bevestigd is en verwijder de montagebeugel van de rol (Figuur 1).
Verwijder de slotbouten en moeren waarmee de linker-, rechter- en middelste schotten onderaan het maaidek bevestigd zijn en verwijder de schotten (Figuur 1).

Benodigde onderdelen voor deze stap:
| Moer (5/16 inch) | 36 |
| Slotbout (5/16 x 3/4 inch) | 28 |
| Slotbout (5/16 x 7/8 inch) | 8 |
| Linker voetscherm | 1 |
| Rechter voetscherm | 1 |
| Geleider | 1 |
| Achterste hoekprofiel | 2 |
| Draagband | 2 |
| Linkerkamer | 1 |
| Middelste kamer | 1 |
| Rechterkamer | 1 |
| Mes | 3 |
| Antiscalpeercup | 3 |
| Mesbout | 3 |
| Identificatiesticker | 1 |
Monteer de nieuwe kamers losjes aan de onderkant van het maaidek met 12 slotbouten (5/16 x 3/4") en 12 moeren (5/16").
Note: Elke kamer heeft 4 sets met bouten en moeren. Plaats de boutkoppen aan de binnenkant van het maaidek. Plaats de kamers zoals getoond in Figuur 2.
Note: Als er geen montageopening in het maaidek zit, gebruikt u het nieuwe onderdeel als sjabloon om de openingen van 9 mm te lokaliseren, af te tekenen en te boren. Per kamer worden slechts 4 openingen gebruikt.

Monteer de linker- en rechterkamer losjes aan de middelste kamer met 2 slotbouten (5/16 x 3/4") en 2 moeren (5/16") zoals getoond in Figuur 3.

Draai alle bevestigingen stevig vast.
Monteer de 2 draagbanden en de geleider losjes aan de 2 achterste hoekprofielen met 8 slotbouten (5/16 x 7/8") en 8 moeren (5/16") zoals getoond in Figuur 3.
Note: Plaats de boutkoppen naast het achterste hoekprofiel.

Monteer de achterste hoekprofielen met de geleiders achteraan het maaidek met 8 slotbouten (5/16 x 7/8") en 8 moeren (5/16") zoals getoond in Figuur 4.
Monteer het rechter voetscherm aan de bovenkant en zijkant van het maaidek met 3 slotbouten (5/16 x 3/4") en 3 moeren (5/16") zoals getoond in Figuur 5.

Monteer het linker voetscherm aan de bovenkant en zijkant van het maaidek met 3 slotbouten (5/16 x 3/4") en 3 moeren (5/16") zoals getoond in Figuur 5.
Monteer de messen, de antiscalpeercups en de mesbouten (Figuur 6).
Important: Het gebogen deel van het mes moet naar de bovenzijde van het maaidek wijzen om een goede maaikwaliteit te garanderen.

Draai de mesbouten vast met een torsie van 115 tot 149 N·m.
Draai de messen om te controleren of deze nergens tegenaan komen.
Draai alle bevestigingen stevig vast.
Bevestig een identificatiesticker aan de bovenzijde van het maaidek naast het plaatje met het serienummer (Figuur 7).
Note: Zorg ervoor dat de plaats waar hij wordt bevestigd, schoon is.

Benodigde onderdelen voor deze stap:
| Moer (5/16 inch) | 36 |
| Slotbout (5/16 x 3/4 inch) | 24 |
| Slotbout (5/16 x 7/8 inch) | 10 |
| Linker voetscherm | 1 |
| Rechter voetscherm | 1 |
| Geleider | 1 |
| Achterste hoekprofiel | 2 |
| Draagband | 2 |
| Linkerkamer | 1 |
| Middelste kamer | 1 |
| Rechterkamer | 1 |
| Linker geleider | 1 |
| Ring | 2 |
| Bout (5/16" x ¾") | 2 |
| Mes | 3 |
| Antiscalpeercup | 3 |
| Mesbout | 3 |
| ID-sticker | 1 |
Monteer de nieuwe kamers losjes aan de onderkant van het maaidek met 12 slotbouten (5/16 x 3/4") en 12 moeren (5/16").
Note: Elke kamer heeft 4 sets met bouten en moeren. Plaats de boutkoppen aan de binnenkant van het maaidek. Plaats de kamers zoals getoond in Figuur 8.
Note: Als er geen montageopening in het maaidek zit, gebruikt u het nieuwe onderdeel als sjabloon om de openingen van 9 mm te lokaliseren, af te tekenen en te boren. Per kamer worden slechts 4 openingen gebruikt.

Monteer de linker- en rechterkamer losjes aan de middelste kamer met 2 slotbouten (5/16 x 3/4") en 2 moeren (5/16") zoals getoond in Figuur 9.

Monteer een draagband en het linker (gehoekte) uiteinde van de geleider losjes aan het achterste hoekprofiel met 4 slotbouten (5/16 x 7/8") en 4 moeren (5/16") zoals getoond in Figuur 10.
Note: Plaats de boutkoppen naast het achterste hoekprofiel.

Monteer het hoekprofiel met de geleider losjes aan het maaidek met 4 slotbouten (5/16 x 7/8") en 4 moeren (5/16") zoals getoond in Figuur 10.
Monteer een draagband en het rechter (vierkante) uiteinde van de geleider losjes aan de rechterkamer met 4 slotbouten (5/16 x 7/8") en 4 moeren (5/16") zoals getoond in Figuur 11.
Note: Plaats de boutkoppen aan de binnenkant van het maaidek.

Draai alle bevestigingen stevig vast.
Monteer het rechter voetscherm aan de bovenkant en zijkant van het maaidek met 4 slotbouten (5/16 x 3/4") en 4 moeren (5/16") zoals getoond in Figuur 12.

Monteer het linker voetscherm en een geleider aan de bovenkant en zijkant van het maaidek met 2 slotbouten (5/16 x 7/8"), 2 slotbouten (5/16 x 3/4"), 2 ringen en 4 moeren (5/16") zoals getoond in Figuur 13.

Monteer de messen, de antiscalpeercups en de mesbouten (Figuur 14).
Important: Het gebogen deel van het mes moet naar de bovenzijde van het maaidek wijzen om een goede maaikwaliteit te garanderen.

Draai de mesbouten vast met een torsie van 115 tot 149 N·m.
Draai de messen om te controleren of deze nergens tegenaan komen..
Draai alle bevestigingen stevig vast.
Bevestig een identificatiesticker aan de bovenzijde van het maaidek naast het plaatje met het serienummer (Figuur 15).
Note: Zorg ervoor dat de plaats waar hij wordt bevestigd, schoon is.

Benodigde onderdelen voor deze stap:
| Montagebeugel voor het spatscherm | 1 |
| Rechter spatscherm | 1 |
| Zelftappende schroef (5/16 x 5/8") | 2 |
| Bout (1/4 x 5/8 inch) | 2 |
| Moer (¼") | 2 |
Plaats een geschikte vloerkrik onder de buis van de achterbumper en hef de achterwielen van de grond (Figuur 16).
Note: Plaats de assteunen onder de achterbumper.

Verwijder de achterwielen.
Verwijder al het vuil uit het wielgebied, inclusief vuil dat in de remconstructie klem zit.
Verwijder de bout waarmee de slangklem aan het framekanaal aan de rechterzijde van de machine is bevestigd (Figuur 17).

Steek de onderzijde van de slangklem door de sleuf in de bovenzijde van de montagebeugel voor het spatscherm (Figuur 18).

Monteer de slangklem en de montagebeugel losjes aan het framekanaal met de bout die u eerder hebt verwijderd.
Plaats de framemontagebeugel horizontaal op het framekanaal.
Gebruik de framemontagebeugel als sjabloon om de andere 2 montageopeningen voor het spatscherm te markeren op het framekanaal (Figuur 19).

Verwijder de bout en moer waarmee de klem en de montagebeugel aan het frame gemonteerd zijn.

Boor op de plaatsen die u bij stap 9 hebt gemarkeerd 2 openingen met een diameter van 7,1 mm door het framekanaal (Figuur 20).
Monteer de slangklem en de montagebeugel voor het spatscherm losjes aan het framekanaal met slangklem, bout en moer (zie Figuur 18).
Gebruik de nieuw geboorde openingen om de montagebeugel voor het spatscherm aan het framekanaal te bevestigen met 2 zelftappende schroeven (5/16 x 5/8 inch) zoals getoond in Figuur 21.

Bevestig alle bevestigingsmaterialen.
Monteer de zijkant van het rechter spatscherm losjes aan de montagebeugel voor het spatscherm met 2 bouten (1/4 x 5/8") en 2 moeren (1/4"), zoals getoond in Figuur 22.

Monteer de beugel aan de bovenkant van het spatscherm losjes aan de beugel van de brandstoftank met 2 bouten (3/8 x 3/4") en 2 moeren (3/8") zoals getoond in Figuur 22.
Note: Zorg ervoor dat het spatscherm niet aanloopt tegen de remrotor.
Draai de bevestigingen vast.
Benodigde onderdelen voor deze stap:
| Linker spatscherm | 1 |
| Moer (⅜") | 2 |
| Bout (3/8 x 3/4 inch) | 2 |
Maak de kabel los van de minpool van de accu.
Maak de kabel los van de pluspool van de accu.
Verwijder de slotbout, de ring, de bevestiging van de accu en de moer waarmee de accu is bevestigd (Figuur 23).
Note: Bewaar de bevestiging en de bevestigingsmaterialen.

Verwijder de accu uit de accubak (Figuur 23).
Verwijder de accubak uit het accuplatform (Figuur 23).
Note: Werp de accubak weg.
Monteer de beugel aan de bovenkant van het linker spatscherm losjes aan de beugel van de brandstoftank met 2 bouten (3/8 x 3/4") en 2 moeren (3/8") zoals getoond in Figuur 24.

Plaats de accu op het accuplatform.
Monteer de accu aan het accuplatform met de slotbout, de bevestiging van de accu, de ring en de moer die u eerder hebt verwijderd (Figuur 25).

Draai de bevestigingen vast.
Sluit de pluskabel aan op de accu en sluit vervolgens de minkabel aan op de accu.
Monteer de aandrijfwielen.
Draai de wielmoeren vast met een torsie van 102 tot 115 N·m.
Verwijder de assteunen en breng de machine omlaag.
Note: Controleer of de banden de spatschermen niet raken terwijl de machine rijdt.