CALIFORNIEN
Advarsel i henhold til erklæring nr. 65
Brug af dette produkt kan medføre eksponering over for kemikalier, der ifølge staten Californien er kræftfremkaldende og giver medfødte defekter eller andre forplantningsskader.
Maskinen skal have det rette dæktryk, for at riven fungerer korrekt.(Figur 1).
Dæktrykket skal kontrolleres, når dækkene er kolde. På den måde opnås den mest præcise måling.
Slidbanedæk: 0,70 bar
Note: Hvis der påkræves yderligere traktion i forbindelse med skæreknivsbetjening, skal trykket reduceres til 0,55 bar.
Glatte dæk: 0,55 til 0,70 bar

Dele, der skal bruges til dette trin:
| Afstandsbøsning | 2 |
| Bolt (3/4 x 3-1/2 tomme) | 2 |
| Låsemøtrik (¾ tomme) | 2 |
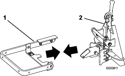
Placer enhederne, så toppladen på den midterste enhed peger fremad, og toppladen på hver sideenhed peger bagud (Figur 2).

Placer en afstandsbøsning i drejebeslagets hul på hver sideenhed (Figur 3).

Ret drejebeslagets hul på venstre sideenhed ind efter drejebeslagets hul på venstre side af den midterste enhed.
Fastgør den venstre sideenhed med en bolt (3/4" x 3-1/2") og en låsemøtrik (3/4") med et moment på 163 til 217 N-m. Se Figur 3
Ret drejebeslagets hul på højre sideenhed ind efter drejebeslagets hul på højre side af den midterste enhed.
Fastgør den højre sideenhed med en bolt (3/4" x 3-1/2") og en låsemøtrik (3/4") med et moment på 163 til 217 N-m. Se Figur 3
Note: Kontroller, at sideenhederne kan dreje frit. Løsn om nødvendigt boltene og møtrikkerne en smule. Sørg for, at bræddeboltene ikke rører hinanden under hele bevægelsen.
Dele, der skal bruges til dette trin:
| Drejestang | 1 |
| Split | 3 |
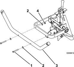
Ret hullerne i løftearmen ind med hullerne i QAS-enheden (Figur 4).

Sæt drejestangen igennem hullerne (Figur 5).

Ret hullet i holdepladen ind med hullet i løftearmen, og monter flangehovedbolten og flangemøtrikken (Figur 5).
Monter en låseclips i hver af de tre huller i drejestangen (Figur 6).
Note: Sørg for, at hullerne i drejestangen er placeret som vist i Figur 6.

Bøj enderne af låseclipsene så clipsen holdes på plads.
Dele, der skal bruges til dette trin:
| Bolt (⅜" x 3") | 2 |
| Spændeskive | 4 |
| Flangemøtrik (⅜") | 2 |
Fastgør løfterøret til løftearmen som vist i Figur 7.

Dele, der skal bruges til dette trin:
| Bolt (1/2" x 1-3/4") | 1 |
| Flangehovedbolt (⅜" x 1") | 1 |
| Flangemøtrik (⅜") | 1 |
| Flangemøtrik (1/2 tomme) | 1 |
| Låsemøtrik (½") | 1 |
Ret de to huller i beslaget i midten af riveenheden ind efter de to huller i bugsertrækkets rør (Figur 8).

Fastgør riveenheden til bugsertrækkets rør med en bolt (1/2" x 1-3/4"), en flangemøtrik (1/2"), en låsemøtrik (1/2"), en flangehovedbolt (3/8" x 1"), og en flangemøtrik (3/8").
Fjern bolten og møtrikken fra bøjlen i enden af hver løftekæde.
Note: Gem boltene og møtrikkerne til montering af løftekæderne til løfterøret.
Ret hullerne i bøjlen ind efter hullerne i løfterøret.

Læs hele dette afsnit om rivning, før du river en sandbunker. Der er mange forhold, der afgør de nødvendige justeringer. Faktorer som sandets struktur og dybde, fugtindhold, ukrudt og kompaktering kan variere fra bane til bane og selv fra bunker til bunker på den samme bane. Foretag de nødvendige justeringer af riven for at opnå optimale resultater i dit område.
Øv dig i at rive på en stor, jævn bunker på banen. Øv dig i at starte og stoppe, dreje, hæve og sænke riven, køre ind og ud af bunkere osv. Du kan også øve dig i at ændre motorens hastighed og køre ved lav hastighed. Føreren kan via træningen lære at betjene maskinen på fortrolig vis.
Det anbefalede mønster for rivning i en bunker er vist i Figur 10. Dette mønster betyder, at unødvendige overlapninger undgås, at kompakteringen holdes nede på et minimum, og at der opnås et pænt og jævnt mønster i sandet. Dette er den mest effektive rivemetode, men det er dog vigtigt at variere rivemønsteret med jævne mellemrum for at reducere risikoen for, at der opstår en vaskebræteffekt.

Kør ind i den lange del af bunkeren, hvor skråningen er mindst stejl. Kør gennem midten af bunkeren og næsten helt ned til enden, drej så skarpt som muligt i en given retning, og kør tilbage, så du bevæger dig langs med det første spor. Foretag spiralformet kørsel udad som vist i Figur 10, og forlad bunkeren i en lige vinkel på et jævnt område.
Udbedr områder på stejle, korte skråninger og små fordybninger med en håndrive.
Når du kører ind i en bunker, må du ikke sænke riven, før den befinder sig over sandet. På den måde undgår du at rive op i plænen eller trække afklippet græs eller andet affald ned i bunkeren. Sænk riven, mens maskinen er i bevægelse.
Når du forlader bunkeren, skal du begynde at hæve riven, når forhjulet forlader bunkeren. I takt med, at maskinen bevæger sig ud af bunkeren, hæves riven og trækker ikke sand ud på græsset.
Føreren vil snart – med erfaring og øvelse – blive bekendt med den nødvendige timing for kørsel ind og ud af bunkeren.