Para que el rastrillo funcione correctamente, es importante que los neumáticos de la máquina tengan la presión correcta.(Figura 1).
Para obtener una lectura precisa, compruebe la presión de los neumáticos con los neumáticos fríos.
Neumáticos con dibujo: 0,7 bar
Note: Si se necesita una tracción mayor para trabajar con determinados accesorios, reduzca la presión a 0,55 bar.
Neumáticos lisos: 0,55–0,7 bar

Piezas necesarias en este paso:
| Espaciador | 2 |
| Perno (¾" x 3½") | 2 |
| Contratuerca (¾") | 2 |
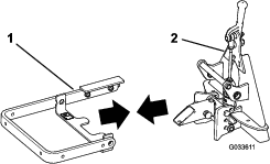
Posicione los conjuntos con la placa superior del conjunto central orientada hacia adelante, y la placa superior de cada conjunto lateral orientada hacia atrás (Figura 2)

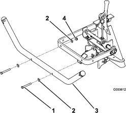
Introduzca un espaciador en el taladro de giro de cada conjunto lateral (Figura 3).

Alinee el taladro de giro del conjunto lateral izquierdo con el taladro de giro del lado izquierdo del conjunto central.
Sujete el conjunto lateral izquierdo con un perno (¾" x 3½") y una contratuerca (¾"), y apriete a 163–217 N·m; consulte Figura 3.
Alinee el taladro de giro del conjunto lateral derecho con el taladro de giro del lado derecho del conjunto central.
Sujete el conjunto lateral derecho con un perno (¾" x 3½") y una contratuerca (¾"), y apriete a 163–217 N·m; consulte Figura 3.
Note: Asegúrese de que los conjuntos laterales pivotan libremente. Afloje ligeramente los pernos y las tuercas si es necesario. Asegúrese de que los pernos de cuello cuadrado no se tocan en todo el intervalo de movimiento.
Piezas necesarias en este paso:
| Barra de giro | 1 |
| Chaveta | 3 |
Alinee los taladros del brazo de elevación con los taladros del conjunto QAS (Figura 4).

Inserte la barra de giro por los taladros (Figura 5).

Alinee el taladro de la pletina de sujeción con el taladro del brazo de elevación, e instale el perno con arandela prensada y la tuerca con arandela prensada (Figura 5).
Instale una chaveta en cada uno de los 3 taladros de la barra de giro (Figura 6).
Note: Asegúrese de que los taladros de la barra de giro están en las posiciones indicadas en Figura 6.

Doble los extremos de las chavetas para sujetarlas.
Piezas necesarias en este paso:
| Perno (⅜" x 3") | 2 |
| Arandela | 4 |
| Tuerca con arandela prensada (3/8") | 2 |
Sujete el tubo de elevación al brazo de elevación como se indica en Figura 7.

Piezas necesarias en este paso:
| Perno (½" x 1¾") | 1 |
| Perno con arandela prensada (⅜" x 1") | 1 |
| Tuerca con arandela prensada (⅜") | 1 |
| Tuerca con arandela prensada (½") | 1 |
| Contratuerca (½") | 1 |
Alinee los 2 taladros del soporte del centro del conjunto del rastrillo con los 2 taladros de la barra del enganche (Figura 8).

Sujete el conjunto de rastrillo a la barra del enganche con un perno (½" x 1¾"), una tuerca con arandela prensada (½"), una contratuerca (½"), un perno con arandela prensada (3/8" x 1") y una tuerca con arandela prensada (3/8").
Retire el perno y la tuerca del grillete del extremo de cada cadena de elevación.
Note: Guarde los pernos y las tuercas para la instalación de las cadenas de elevación en el tubo de elevación.
Alinee los taladros del grillete con los taladros del tubo de elevación.

Lea toda esta sección sobre el rastrillado antes de rastrillar una trampa de arena. Los ajustes necesarios dependen de muchos factores. La textura y la profundidad de la arena, la humedad, la presencia de malas hierbas y el grado de compactación son todos factores que pueden variar de un campo a otro, o incluso de una trampa a otra en el mismo campo. Haga los ajustes necesarios en el rastrillo para obtener los mejores resultados para su caso particular.
Practique el rastrillado en una trampa del campo amplia y llana. Practique operaciones como arrancar y detenerse, girar, elevar y bajar el rastrillo, entrar y salir de la trampa de arena, etc. Practique con una velocidad del motor moderada y una velocidad sobre el terreno lenta. Este entrenamiento será beneficioso para el operador, y aumentará su confianza en el manejo de la máquina.
El patrón de rastrillado recomendado para una trampa de arena es el que se muestra en Figura 10. Este patrón evita solapes innecesarios, reduce la compactación al mínimo y deja un dibujo sencillo y atractivo en la arena. Éste es el método de rastrillado más eficaz; sin embargo, es importante variar el patrón de rastrillado con regularidad para reducir la posibilidad de crear un efecto ondulado persistente.

Entre en la trampa en línea recta por la dimensión más larga, donde el talud es menos pronunciado. Conduzca siguiendo la línea central de la trampa casi hasta el final, haga un giro lo más cerrado posible en cualquier sentido, y vuelva junto a la primera pasada. Siga una espiral hacia fuera según se muestra en Figura 10, y salga de la trampa en ángulo recto por una zona llana.
Deje los taludes cortos y empinados y las pequeñas zonas de difícil acceso; pueden retocarse después con un rastrillo de mano.
Al entrar en la trampa, no baje el rastrillo hasta que esté por encima de la arena. De esta manera se evita cortar el césped o arrastrar recortes de hierba u otros residuos a la trampa. Baje el rastrillo con la máquina en marcha.
Al salir de la trampa, empiece a levantar el rastrillo cuando la rueda delantera salga de la trampa. Al salir la máquina, el rastrillo se irá levantando y no arrastrará arena al césped.
Con experiencia y práctica, el operador pronto comprenderá la sincronización necesaria para entrar y salir de la trampa correctamente.