耙要想正常工作,机器的轮胎气压必须正确(图 1)。
要获得最准确的读数,请在轮胎冷态时检查轮胎气压。
花纹轮胎:0.7bar
Note: 如果推土板操作需要额外的牵引,请将压力减至 0.55bar。
光胎: 0.55~0.7bar

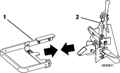
此程序中需要的物件:
| 隔片 | 2 |
| 螺栓(¾ x 3½ 英寸) | 2 |
| 锁紧螺母(¾ 英寸) | 2 |
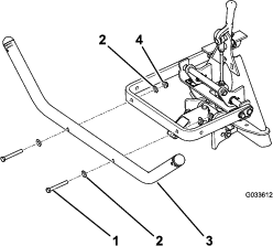
此程序中需要的物件:
| 螺栓 (½ x 1¾ 英寸) | 1 |
| 凸缘头螺栓(⅜ x 1 英寸) | 1 |
| 凸缘螺母 (⅜ 英寸) | 1 |
| 凸缘螺母(½ 英寸) | 1 |
| 锁紧螺母 (½ 英寸) | 1 |
将耙总成中心支架上的 2 个孔与挂钩管上的 2 个孔对齐(图 8)。

用螺栓(½ x 1¾ 英寸)、凸缘螺母(½ 英寸)、锁紧螺母(½ 英寸)、凸缘头螺栓(⅜ x 1 英寸)和凸缘螺母(⅜ 英寸)将耙总成固定到挂钩管上。
从每个升降链末端的钩环上拆下螺栓和螺母。
Note: 保留用于将升降链安装到提升管的螺栓和螺母。
将钩环中的孔与提升管中的孔对齐。

在耙平沙坑障碍之前,请阅读本节全文,了解与耙平有关的信息。在许多情况下,需要确定要做出某些必要调整。沙坑的纹理和深度、水分含量、杂草和压实度等因素因球场而异,即使是同一个球场的不同沙坑障碍也各不相同。对耙平作业做出调整,以确保在特定区域获得最佳效果。
在球场一个大而平整的沙坑中练习耙平作业。练习启动、停止、转弯、提起和降下沙耙,练习进入和离开沙坑等。练习时,采用中等发动机速度和缓慢的地面行驶速度。这种训练将帮助操作员增强对机器性能的信心。
耙平沙坑障碍的建议模式如图 10中所示。这种模式可以避免不必要的重叠、将压实情况降至最低、并在沙坑中留下整洁、极具吸引力的图案。这是最有效的耙平方法,但时常改变耙平模式,降低产生搓衣板状条纹痕迹的几率,这一点也非常重要。

进入沙坑时选择长边,这里的坡度最小。穿过沙坑中心几乎驾驶到最边上,然后尽可能急速转向,并紧贴着第一道路径驶回。如 图 10中所示,向外盘旋,并从平整地带以正确的角度驶出沙坑。
留下陡峭斜坡、短斜坡和小凹坑,用手耙进行修整。
进入沙坑时,切勿降下沙耙,保持沙耙在沙地的上方。这可避免切割到草坪,或将草屑或其他杂物拖到沙坑里。机器一边行进一边降下沙耙。
如果要离开沙坑,那么在前轮离开时开始提起沙耙。机器离开沙坑后,沙耙将提起,这样就不会将沙子拖到草地上。
凭借经验和反复练习,操作员将很快了解正确进入和离开沙坑所需的时间。