Der Rechen funktioniert nur richtig, wenn die Maschine den richtigen Reifendruck hat.(Bild 1).
Überprüfen Sie den Druck an kalten Reifen, um einen genauen Wert zu erhalten.
Profilreifen: 0,69 bar
Note: Wenn zusätzlicher Antrieb für das Messer benötigt wird, verringern Sie den Reifendruck auf 0,55 bar.
Rasenreifen: 0,55-0,69 bar

Für diesen Arbeitsschritt erforderliche Teile:
| Distanzstück | 2 |
| Schraube (3/4" x 3-1/2") | 2 |
| Sicherungsmutter (3/4") | 2 |
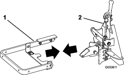
Positionieren Sie die Teile so, dass die obere Platte des mittleren Teils nach vorne und die obere Platte jedes seitlichen Teils nach hinten zeigt (Bild 2)

Setzen Sie ein Distanzstück in das Drehzapfenloch an jedem seitlichen Teil ein (Bild 3).

Fluchten Sie das Drehzapfenloch im linken Teil mit dem Drehzapfenloch an der linken Seite des mittleren Teils aus.
Befestigen Sie das linke Teil mit einer Schraube (3/4" x 3-1/2") und einer Sicherungsmutter (3/4"); ziehen Sie es mit 163-217 N·m an, siehe Bild 3.
Fluchten Sie das Drehzapfenloch im rechten Teil mit dem Drehzapfenloch an der rechten Seite des mittleren Teils aus.
Befestigen Sie das rechte Teil mit einer Schraube (3/4" x 3-1/2") und einer Sicherungsmutter (3/4"); ziehen Sie es mit 163-217 N·m an, siehe Bild 3.
Note: Stellen Sie sicher, dass sich die seitlichen Teile ungehindert drehen. Lockern Sie ggf. die Muttern und Schrauben etwas. Stellen Sie sicher, dass sich die Schlossschrauben über den ganzen Bewegungsbereich nicht berühren.
Für diesen Arbeitsschritt erforderliche Teile:
| Gelenkstange | 1 |
| Splint | 3 |
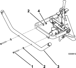
Fluchten Sie die Löcher im Hubarm mit den Löchern im Schnellkuppeldreieck aus (Bild 4).

Stecken Sie die Gelenkstange durch die Löcher (Bild 5).

Fluchten Sie das Loch in der Halteplatte mit dem Loch im Hubarm aus und setzen Sie die Bundkopfschraube und die Bundmutter ein (Bild 5).
Setzen Sie einen Splint in jedes der drei Löcher in der Gelenkstange ein (Bild 6).
Note: Stellen Sie sicher, dass die Löcher in der Gelenkstange so positioniert sind, wie in Bild 6 abgebildet.

Biegen Sie die Enden der Splinte, um den Splint zu befestigen.
Für diesen Arbeitsschritt erforderliche Teile:
| Schraube (⅜" x 3") | 2 |
| Scheibe | 4 |
| Bundmutter (3/8") | 2 |
Befestigen Sie das Hubrohr am Hubarm, wie in Bild 7 abgebildet.

Für diesen Arbeitsschritt erforderliche Teile:
| Schraube (1/2" x 1-3/4") | 1 |
| Bundbolzen (⅜" x 1") | 1 |
| Bundmutter (⅜") | 1 |
| Bundmutter (½") | 1 |
| Sicherungsmutter (½") | 1 |
Fluchten Sie die zwei Löcher in der Halterung in der Mitte des Rechens mit den zwei Löchern im Anbauvorrichtungsrohr aus (Bild 8).

Befestigen Sie den Rechen mit einer Schraube (1/2" x 1-3/4"), einer Bundmutter (1/2"), einer Sicherungsmutter (1/2"), einer Bundkopfschraube (3/8" x 1") und einer Bundmutter am Anbauvorrichtungsrohr.
Entfernen Sie die Schraube und Mutter vom Kettenstift am Ende jeder Hubkette.
Note: Bewahren Sie die Schrauben und Muttern für den Einbau der Hubketten am Hubrohr auf.
Fluchten Sie die Löcher im Kettenstift mit den Löchern im Hubrohr aus.

Lesen Sie vor dem Rechen eines Sandbunkers den ganzen Abschnitt. Es gibt viele Bedingungen, die dann die erforderlichen Einstellungen vorgeben. Die Struktur und die Tiefe des Sands, der Feuchtigkeitsgehalt, Unkraut, der Grad der Bodenverdichtung sind Faktoren, die für jeden Golfplatz oder sogar von einem Bunker zum nächsten auf demselben Golfplatz anders sind. Nehmen Sie die entsprechenden Einstellungen am Rechen vor, um die besten Ergebnisse für einen bestimmten Bereich zu erhalten.
Üben Sie das Rechen in einem großen und flachen Bunker auf dem Golfplatz. Üben Sie das Anfahren, Anhalten, Wenden, das Anheben und Absenken des Rechens, das Einfahren in und das Verlassen des Bunkers usw. Üben Sie bei geringer Motordrehzahl und langsamer Fahrgeschwindigkeit. Diese Schulungszeit gibt dem Bediener das Vertrauen in die Leistung der Maschine.
Das empfohlene Muster für das Rechen eines Bunkers wird in Bild 10 dargestellt. Bei diesem Muster vermeiden Sie unnötige Überlappungen, halten die Bodenverdichtung auf einem Minimum und erhalten ein attraktives Muster im Sand. Dies ist die beste Methode für das Rechen; es ist jedoch wichtig, dass Sie das Rechenmuster regelmäßig ändern, um einen möglichen Waschbretteffekt zu vermeiden.

Fahren Sie in Längsrichtung in den Bunker, wo die Seiten am flachsten sind. Fahren Sie durch die Mitte des Bunkers fast bis zum Ende, wenden Sie so eng wie möglich in eine Richtung und fahren Sie dann direkt neben der ersten Bahn zurück. Bewegen Sie sich spiralförmig zur Kante, wie in Bild 10 abgebildet, und verlassen Sie den Bunker in einem rechten Winkel in einem flachen Bereich.
Bearbeiten Sie steile, kurze Böschungen und kleine Bereiche mit einem Handrechen nach.
Senken Sie beim Einfahren in den Bunker den Rechen erst ab, wenn er sich über dem Sand ist befindet. Sie reißen den Rasen dann nicht auf oder schleppen Schnittgut und andere Laubabfälle in den Bunker. Senken Sie den Rechen ab, während sich die Maschine bewegt.
Beim Verlassen des Bunkers sollten Sie beginnen, den Rechen anzuheben, wenn die Vorderräder den Bunker verlassen. Wenn die Maschine aus dem Bunker fährt, hebt sich der Rechen an und zieht keinen Sand auf den Rasen.
Der Bediener wird durch Erfahrung und Übung schnell ein Gefühl für das richtige Timing zum richtigen Einfahren und Verlassen des Bunkers bekommen.