K zajištění správné funkce brány je důležité, aby byl nastaven správný tlak v pneumatikách stroje.(Obrázek 1).
Abyste naměřili správné údaje, je nutné tlak kontrolovat jen při studených pneumatikách.
Pneumatiky se vzorkem: 0,69 baru
Note: Je-li vyžadován vyšší tahový výkon pro práci s radlicí, snižte tlak na hodnotu 0,55 baru.
Hladké pneumatiky: 0,55 až 0,69 baru

Díly potřebné k provedení tohoto kroku:
| Rozpěrný kroužek | 2 |
| Šroub (3/4″ x 3-1/2″) | 2 |
| Pojistná matice (¾ in) | 2 |
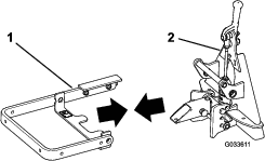
Montážní celky umístěte do takových poloh, aby vrchní deska středového montážního celku směřovala dopředu a vrchní desky každého bočního celku směřovaly dozadu (Obrázek 2)

Do otvoru otočného čepu každého bočního montážního celku vložte rozpěrný kroužek (Obrázek 3).

Vyrovnejte otvor otočného čepu v levém montážním celku s otvorem otočného čepu na levé straně středového montážního celku.
Připevněte levý boční montážní celek šroubem (3/4″ x 3-1/2″) a pojistnou maticí (3/4″), které utáhněte na utahovací moment 163 až 217 Nm, viz Obrázek 3.
Vyrovnejte otvor otočného čepu v pravém montážním celku s otvorem otočného čepu na pravé straně středového montážního celku.
Připevněte pravý boční montážní celek šroubem (3/4″ x 3-1/2″) a pojistnou maticí (3/4″), které utáhněte na utahovací moment 163 až 217 Nm, viz Obrázek 3.
Note: Přesvědčte se, zda se boční montážní celky volně otáčejí. V případě potřeby mírně povolte matice a šrouby. Přesvědčte se, zda se vratové šrouby navzájem nedotýkají v celém rozsahu pohybu.
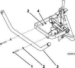
Díly potřebné k provedení tohoto kroku:
| Otočná tyč | 1 |
| Drátová závlačka | 3 |
Vyrovnejte otvory ve zvedacím ramenu s otvory v montážních celcích QAS (Obrázek 4).

Prostrčte otočnou tyč otvory (Obrázek 5).

Vyrovnejte otvor upínací desky s otvorem ve zvedacím ramenu a namontujte šroub s přírubovou hlavou a přírubovou matici (Obrázek 5).
Zasuňte drátové závlačky do všech 3 otvorů otočné tyče(Obrázek 6).
Note: Přesvědčte se, zda jsou otvory v otočné tyči správně umístěny, viz Obrázek 6.

Zahnutím konců drátových závlaček je zajistěte v poloze.
Díly potřebné k provedení tohoto kroku:
| Šroub (3/8″ x 3″) | 2 |
| Podložka | 4 |
| Přírubová matice (3/8″) | 2 |
Připevněte zvedací trubku ke zvedacímu ramenu, viz Obrázek 7.

Díly potřebné k provedení tohoto kroku:
| Šroub (1/2″ x 1-3/4″) | 1 |
| Šroub s přírubovou hlavou (3/8 x 1 in) | 1 |
| Přírubová matice (3/8 in) | 1 |
| Přírubová matice (1/2 in) | 1 |
| Pojistná matice (½") | 1 |
Vyrovnejte 2 otvory v konzole na středu montážního celku brány se 2 otvory v trubce závěsu (Obrázek 8).

Připevněte montážní celek brány k trubce závěsu šroubem (1/2″ x 1-3/4″), přírubovou maticí (1/2″), pojistnou maticí (1/2″), přírubovým šroubem (3/8″ x 1″) a přírubovou maticí (3/8″).
Demontujte šroub a matici ze třmenu na konci každého zvedacího řetězu.
Note: Šrouby a matice si uschovejte pro připevnění zvedacích řetězů ke zvedací trubce.
Vyrovnejte otvory ve třmenu s otvory ve zvedací trubce.

Před hrabáním písečného bunkru si přečtěte celou tuto kapitolu. Existuje celá řada podmínek, jež určí potřebné nastavení. Struktura a hloubka písku, obsah vlhkosti, zaplevelení a míra zhutnění jsou faktory, jež se mohou na různých hřištích, nebo dokonce na různých bunkrech na stejném hřišti lišit. Provádějte taková nastavení brány, která zajistí optimální výsledky na vašem konkrétním prostoru.
Uhrabávání si nacvičte na velkém a rovném bunkru na hřišti. Nacvičte si rozjíždění a zastavování, otáčení, zvedání a spouštění brány, vjíždění do bunkru a jeho opouštění a podobné techniky. Nacvičujte při středních otáčkách motoru a nízké pojezdové rychlosti. Pomocí tohoto školení získá obsluha větší jistotu při ovládání stroje.
Doporučený vzor uhrabávání je uveden na obrázku, viz Obrázek 10. Pomocí tohoto vzoru předejdete nepotřebnému překrývání, zajistíte minimální zhutňování povrchu a vytvoříte čistý a vzhledný vzor na písku. Přestože se jedná o nejefektivnější způsob uhrabávání, je důležité pravidelně měnit vzor uhrabávání, aby se eliminovala možnost vytváření hrbolů.

Do bunkru vjíždějte v přímém podélném směru v místě, kde je jeho okraj nejméně strmý. Projeďte středem bunkru téměř až na jeho konec, co možná neostřeji zatočte jedním směrem tak, abyste se vraceli zpět těsně podél prvního průjezdu. Vytvořte spirálu, viz Obrázek 10, a opusťte bunkr v ostrém úhlu na rovném místě.
Vynechejte prudké, krátké okraje a malé kapsy, jež následně upravte pomocí ruční brány.
Při vjíždění do bunkru nespouštějte bránu, dokud nebude umístěna nad pískem. Tím předejdete poškození trávníku nebo vtažení posekané trávy nebo jiných nečistot do bunkru. Bránu spouštějte za jízdy se strojem.
Při opouštění bunkru zahajte zvedání brány v okamžiku, kdy přední kola opustí bunkr. Při vyjíždění stroje se bude brána zvedat a tím nedojde k vtažení písku do trávníku.
Po získání zkušeností a praxe obsluha brzy zjistí, jak úkon při vjíždění do bunkru a jeho opouštění správně načasovat.