Voor een juiste werking van de hark is het belangrijk dat de machine de correcte bandenspanning heeft.(Figuur 1).
Controleer de bandenspanning als de banden koud zijn; op die manier is de meting het nauwkeurigst.
Profielbanden: 0,69 bar
Note: Indien er extra tractie vereist is voor de werking van de messen, vermindert u de druk tot 0,55 bar.
Banden zonder profiel: 0,55 tot 0,69 bar

Benodigde onderdelen voor deze stap:
| Afstandsstuk | 2 |
| Bout (3/4 x 3-1/2 inch) | 2 |
| Borgmoer (¾") | 2 |
Plaats de gedeeltes zo dat de bovenplaat van het centrale gedeelte naar voren gericht is en de bovenplaat van de zijgedeelten naar achteren (Figuur 2)

Steek een afstandsstuk in het scharnierpunt van de zijgedeelten (Figuur 3).

Lijn de scharnieropening van het linkergedeelte uit met de scharnieropening aan de linkerkant van het middelste gedeelte.
Bevestig het linkergedeelte met een bout (3/4 x 3-1/2 inches) en een borgmoer (3/4 inch) die u aandraait met een torsie van 163 tot 217 N·m; zie Figuur 3.
Lijn de scharnieropening van het rechtergedeelte uit met de scharnieropening aan de rechterkant van het middelste gedeelte.
Bevestig het rechtergedeelte met een bout (3/4 x 3-1/2 inches) en een borgmoer (3/4 inch) die u aandraait met een torsie van 163 tot 217 N·m; zie Figuur 3.
Note: Controleer of de zijgedeelten soepel draaien. Draai de bouten en moeren een beetje los indien nodig. Zorg dat de slotbouten elkaar op geen enkel punt in het draaibereik raken.
Benodigde onderdelen voor deze stap:
| Draaibeugel | 1 |
| Borgpen | 3 |
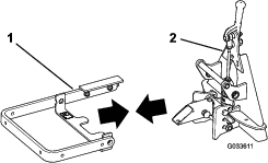
Lijn de openingen in de hefarm uit met de openingen in de snelkoppeleenheid (Figuur 4).

Steek de draaistang door de openingen (Figuur 5).

Lijn het gat in de bevestigingsplaat uit met het gat in de hefarm en monteer de flenskopbout en de flensmoer (Figuur 5).
Monteer een borgpen in elk van de 3 gaten in de draaistang (Figuur 6).
Note: Zorg ervoor dat de gaten in de draaistang gericht zijn zoals getoond in Figuur 6

Buig de uiteinden van de borgpennen om de pen vast te zetten.
Benodigde onderdelen voor deze stap:
| Bout (⅜" x 3") | 2 |
| Ring | 4 |
| Flensmoer (⅜") | 2 |
Monteer de hefbuis op de hefarm; zie Figuur 7.

Benodigde onderdelen voor deze stap:
| Bout (1/2 x 1-3/4 inches) | 1 |
| Flenskopbout (⅜" x 1") | 1 |
| Flensmoer (⅜") | 1 |
| Flensmoer (½") | 1 |
| Borgmoer (½") | 1 |
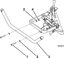
Lijn de 2 gaten in de beugel in het midden van de hark uit met de 2 gaten in de trekhaakbuis (Figuur 8).

Bevestig de hark aan de trekhaakbuis met een bout (1/2 x 1-3/4"), een flensmoer (1/2"), een borgmoer (1/2"), een flenskopbout (3/8 x 1") en een flensmoer (3/8").
Verwijder de bout en moer van de schakel aan het uiteinde van de hefkettingen.
Note: Bewaar de bouten en moeren voor de montage van de hefkettingen op de hefbuis.
Breng de gaten in de schakel op een lijn met de gaten in de hefbuis.

Neem dit hoofdstuk over harken helemaal door voordat u een bunker gaat harken. Er zijn een groot aantal omstandigheden die de benodigde afstelling bepalen. De structuur en de diepte van het zand, het vochtgehalte, onkruid en de mate van compactie zijn allemaal factoren die per golfbaan kunnen verschillen, of zelfs per bunker op dezelfde golfbaan. Stel de hark af om optimale resultaten voor een specifieke bunker te behalen.
Oefen u in het gebruik van de hark in een grote, vlakke bunker op de golfbaan. Oefen u in het starten en stoppen, draaien, omhoog brengen en neerlaten van de hark, het in- en uitrijden van de bunker, enz. Doe dit bij een matig motortoerental en een lage rijsnelheid. Deze training helpt de bestuurder vertrouwd te raken met de bediening van de machine.
Het aanbevolen harkpatroon voor een bunker wordt getoond in Figuur 10. Deze werkwijze voorkomt onnodige overlapping, beperkt de compactie tot een minimum en zorgt voor een verzorgd en aantrekkelijk patroon op het zand. Dit is de meest efficiënte methode om te harken. Het is echter van belang het harkpatroon regelmatig aan te passen om de kans op een wasbordeffect te verkleinen.

Rij de bunker in met een rechte lijn in de lengterichting, op de plaats waar de helling het minst steil is. Rij door het midden van de bunker totdat u bijna het einde ervan hebt bereikt, maak een zo scherp mogelijke bocht in een van beide richtingen en rij in een rechte lijn terug naast de eerste baan. Werk in een spiraal naar buiten zoals wordt getoond in Figuur 10 en verlaat de bunker in een rechte hoek op een vlak stuk.
Sla steile, korte taluds en kleine holle stukken over en werk die naderhand bij met een handhark.
Als u de bunker inrijdt, mag u de hark pas neerlaten als deze zich boven het zand bevindt. Hiermee voorkomt u dat het gras wordt beschadigd of maaisel of andere rommel wordt meegesleept in de bunker. Laat de hark neer terwijl de machine in beweging is.
Als u de bunker uitrijdt, moet u beginnen met de hark omhoog te brengen zodra het voorwiel de bunker verlaat. Als de machine dan de bunker uitrijdt, wordt de hark omhoog gebracht zonder dat deze zand naar het gras meesleept.
De bestuurder zal door ervaring en oefening snel leren om de bunker met een correcte timing in en uit te rijden.