Pour permettre le bon fonctionnement du râteau, il est important de gonfler les pneus de la machine à la pression correcte (Figure 1).
Pour obtenir une valeur précise, contrôlez la pression de gonflage lorsque les pneus sont froids.
Pneus à sculpture : 0,7 bar
Note: Si la traction doit être augmentée pour utiliser une lame, réduisez la pression à 0,55 bar.
Pneus lisses : 0,55 à 0,7 bar.

Pièces nécessaires pour cette opération:
| Entretoise | 2 |
| Boulon (3/4 x 3-1/2 po) | 2 |
| Contre-écrou (¾") | 2 |
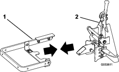
Positionnez les ensembles en dirigeant la plaque supérieure de l'ensemble central vers l'avant et la plaque supérieure de chaque ensemble latéral vers l'arrière (Figure 2)

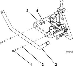
Insérez une entretoise dans le trou de pivot de chaque ensemble latéral (Figure 3).

Alignez le trou de pivot de l'ensemble gauche sur le trou de pivot situé sur le côté gauche de l'ensemble central.
Fixez l'ensemble gauche avec un boulon (3/4 x 3-1/2 po) et un contre-écrou (3/4 po), serrés à un couple de 163 à 217 N·m ; voir Figure 3.
Alignez le trou de pivot de l'ensemble droit et le trou de pivot situé sur le côté droit de l'ensemble central.
Fixez l'ensemble droit avec un boulon (3/4 x 3-1/2 po) et un contre-écrou (3/4 po), serrés à un couple de 163 à 217 N·m ; voir Figure 3.
Note: Vérifiez que les ensembles latéraux pivotent librement. Desserrez légèrement les écrous et les boulons au besoin. Assurez-vous qu'il n'y a aucun contact entre les boulons de carrosserie sur toute la course.
Pièces nécessaires pour cette opération:
| Barre de pivotement | 1 |
| Goupille fendue | 3 |
Alignez les trous dans le bras de levage et les trous dans l'ensemble QAS (Figure 4).

Insérez la barre de pivotement dans les trous (Figure 5).

Alignez le trou dans la plaque de retenue et le trou dans le bras de levage, puis insérez le boulon à embase et l'écrou à embase (Figure 5).
Insérez une goupille fendue dans chacun des 3 trous de la barre de pivotement (Figure 6).
Note: Vérifiez que les trous de la barre de pivotement sont positionnés comme montré à la Figure 6.

Repliez les extrémités de la goupille fendue pour bloquer la goupille en position.
Pièces nécessaires pour cette opération:
| Boulon (⅜" x 3") | 2 |
| Rondelle | 4 |
| Écrou à embase (3/8 po) | 2 |
Montez le tube de levage sur le bras de levage comme montré à la Figure 7.

Pièces nécessaires pour cette opération:
| Boulon (1/2 x 1-3/4 po) | 1 |
| Boulon à embase (â…œ" x 1") | 1 |
| Écrou à embase (â…œ") | 1 |
| Écrou à embase (1/2") | 1 |
| Contre-écrou (½") | 1 |
Alignez les 2 trous du support au centre du râteau et les 2 trous dans le tube d'attelage (Figure 8).

Fixez le râteau au tube d'attelage à l'aide d'un boulon (1/2 x 1-3/4 po), d'un écrou à embase (1/2 po), d'un contre-écrou (1/2 po), d'un boulon à embase (3/8 x 1 po) et d'un écrou à embase (3/8 po).
Retirez le boulon et l'écrou de la manille au bout de chaque chaîne de levage.
Note: Conservez les boulons et écrous pour fixer les chaînes de levage au tube de levage.
Alignez les trous de la manille et les trous du tube de levage.

Lisez toute la section consacrée au ratissage avant de ratisser un bunker. Plusieurs conditions vont déterminer les réglages nécessaires. La texture et la profondeur du sable, son humidité, les mauvaises herbes et le compactage sont des facteurs qui varient suivant le terrain ou même d'un bunker à l'autre sur un même terrain. Ajustez le râteau de sorte à obtenir les meilleurs résultats pour le terrain où vous vous trouvez.
Entraînez-vous à ratisser dans un bunker de grande dimension et bien nivelé. Entraînez-vous à démarrer et à vous arrêter, à tourner, à lever et abaisser le râteau, à entrer dans le bunker et en sortir, etc. Sélectionnez un régime moteur modéré et une vitesse de déplacement réduite pour vous entraîner. Cette période d'entraînement vous aide à prendre de l'assurance dans le fonctionnement de la machine.
Le parcours de ratissage recommandé est illustré à la Figure 10. Ce parcours évite les chevauchements inutiles, minimise le compactage du sable et trace un dessin agréable à l'Å“il sur le sable. Cette méthode de ratissage est la plus efficace ; toutefois, il est important de varier régulièrement le parcours de ratissage pour éviter autant que possible de créer des ondulations.

Entrez dans le bunker en ligne droite par la grande longueur, au point où la berge est la moins escarpée. Traversez le centre du bunker presque jusqu'au bout, tournez d'un côté ou de l'autre en braquant autant que possible et revenez directement en sens inverse, parallèlement à la première passe. Continuez ainsi en progressant vers l'extérieur, comme montré à la Figure 10, et quittez le bunker à angle droit dans une zone bien nivelée.
Finissez le ratissage des petites berges escarpées et des petites fosses à la main.
Lorsque vous entrez dans le bunker, attendez que le râteau soit juste au-dessus du sable pour l'abaisser. Vous éviterez ainsi de couper la pelouse ou d'entraîner des déchets d'herbe ou autres dans le bunker. Abaissez le râteau quand la machine se déplace.
Quand vous quittez le bunker, commencez à lever le râteau lorsque les roues avant sortent du bunker. Ainsi, quand la machine sort du bunker, le râteau est déjà en train de se lever et n'entraîne donc pas de sable sur l'herbe.
À force de travail et d'entraînement, vous apprendrez rapidement à programmer l'entrée dans le bunker et la sortie.