CALIFORNIA
Avvertenza norma "Proposition 65"
L'utilizzo del presente prodotto potrebbe esporre a sostanze chimiche che nello Stato della California sono considerate cancerogene e causa di anomalie congenite o di altre problematiche della riproduzione.
Perché il rastrello funzioni correttamente, è importante che la pressione degli pneumatici della macchina sia corretta.(Figura 1).
Per ottenere valori più attendibili, controllate la pressione degli pneumatici a freddo.
Pneumatici con battistrada: 0,70 bar
Note: Se è necessaria una trazione aggiuntiva per il funzionamento delle lame, riducete la pressione a 0,55 bar.
Pneumatici lisci: tra 0,55 e 0,70 bar

Parti necessarie per questa operazione:
| Distanziale | 2 |
| Bullone (¾ x 3½") | 2 |
| Dado di bloccaggio (¾") | 2 |
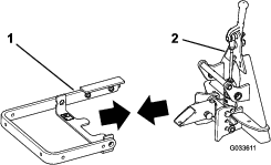
Posizionate i gruppi in modo che la piastra superiore del gruppo centrale sia rivolta in avanti e che la piastra superiore di ciascun gruppo laterale sia rivolta all'indietro (Figura 2)

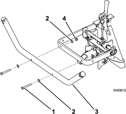
Inserite un distanziale nel foro del perno di ciascun gruppo laterale (Figura 3).

Allineate il foro del perno nel gruppo laterale sinistro con il foro del perno sul lato sinistro del gruppo centrale.
Fissate il gruppo laterale sinistro con un bullone (¾ x 3½") e un dado di bloccaggio (¾"), serrato da 163 a 217 N·m; fate riferimento a Figura 3.
Allineate il foro del perno nel gruppo laterale destro con il foro del perno sul lato destro del gruppo centrale.
Fissate il gruppo laterale destro con un bullone (¾ x 3½") e un dado di bloccaggio (¾"), serrato da 163 a 217 N·m; fate riferimento a Figura 3.
Note: Accertatevi che i gruppi laterali ruotino liberamente. Se necessario, allentate leggermente i dadi e i bulloni. Accertatevi che i bulloni a testa tonda non si tocchino durante l'intera fase di movimento dei gruppi.
Parti necessarie per questa operazione:
| Barra articolata | 1 |
| Coppiglia | 3 |
Allineate i fori nel braccio di sollevamento con i fori nel gruppo QAS (Figura 4).

Inserite la barra articolata attraverso i fori (Figura 5).

Allineate il foro nella piastra di ritenuta con il foro nel braccio di sollevamento e montate il bullone a testa flangiata e il dado flangiato (Figura 5).
Montate una coppiglia in ciascuno dei 3 fori nella barra articolata (Figura 6).
Note: Accertatevi che i fori nella barra articolata siano posizionati come illustrato nella Figura 6.

Piegate le estremità dei perni delle coppiglie per fissare il perno in posizione.
Parti necessarie per questa operazione:
| Bullone (3/8 x 3") | 2 |
| Rondella | 4 |
| Dado flangiato (3/8") | 2 |
Fissate il tubo di sollevamento al braccio di sollevamento come illustrato nella Figura 7.

Parti necessarie per questa operazione:
| Bullone (½ x 1¾") | 1 |
| Bullone a testa flangiata (⅜" x 1") | 1 |
| Dado flangiato (⅜") | 1 |
| Dado flangiato (½") | 1 |
| Dado di bloccaggio (½") | 1 |
Allineate i 2 fori nella staffa al centro del gruppo rastrello con i fori nel tubo dell'attacco di traino (Figura 8).

Fissate il gruppo rastrello al tubo dell'attacco di traino con un bullone (½ x 1¾"), un dado flangiato (½"), un dado di bloccaggio (½"), un bullone a testa flangiata (3/8 x 1") e un dado flangiato (3/8").
Rimuovete il bullone e il dado dall'anello di trazione all'estremità di ciascuna catena di sollevamento.
Note: Conservate i bulloni e i dadi per il montaggio delle catene di sollevamento sul tubo di sollevamento.
Allineate i fori nell'anello di trazione con i fori nel tubo di sollevamento.

Leggete l'intera sezione sul rastrellamento prima di rastrellare un bunker di sabbia. Sono molte le condizioni che richiedono la regolazione del rastrello. La texture e profondità della sabbia, il tenore di umidità, malerba e compattazione sono tutti fattori che variano da un campo da golf all'altro, e perfino da bunker a bunker sullo stesso campo da golf. Regolate il rastrello per ottenere risultati ottimali dove vi trovate.
Esercitatevi a rastrellare in un bunker grande e pianeggiante del campo da golf. Esercitatevi ad avviare e fermare, girare, sollevare e abbassare il rastrello, ad entrare ed uscire dal bunker, ecc. Esercitatevi con il motore a velocità moderata e guidando a bassa velocità. Queste esercitazioni vi aiuteranno ad acquisire fiducia nelle prestazioni della macchina.
Il percorso consigliato per il rastrellamento di un bunker è illustrato nella Figura 10. Questo percorso evita sovrapposizioni superflue, riduce al minimo la compattazione e lascia un motivo uniforme e attraente sulla sabbia. Si tratta del metodo di rastrellamento più efficace; tuttavia, è importante modificare a intervalli regolari il percorso per ridurre l'eventualità di creare un effetto ondulato.

Entrate nel tratto più lungo del bunker, dove la sponda è la meno alta. Guidate attraverso il centro del bunker sin quasi alla fine, girate a destra o sinistra praticando una curva quanto più a stretto raggio possibile, e ritornate a fianco della prima passata. Eseguite una spirale verso l'esterno, come illustrato in Figura 10, e uscite dal bunker ad angolo retto in una zona pianeggiante.
Lasciate le sponde alte e corte, e le piccole buche, che potranno essere ritoccate con un rastrello a mano.
Quando entrate nel bunker non abbassate il rastrello prima che si trovi sulla sabbia. In tal modo eviterete di tagliare il tappeto erboso e non trascinerete fili d'erba tagliati o altri detriti nel bunker. Abbassate il rastrello mentre la macchina è in movimento.
Quando uscite dal bunker, iniziate a sollevare il rastrello quando la ruota anteriore esce dal bunker. Mentre la macchina esce dal bunker, il rastrello si solleva e non trascina la sabbia sul tappeto erboso.
Con la pratica e l'esperienza, imparerete presto a giudicare il momento giusto per entrare ed uscire correttamente dal bunker.