For at raken skal fungere korrekt, er det viktig at maskinen har korrekt dekktrykk.(Figur 1).
Kontroller dekktrykket når dekkene er kalde for å få den mest nøyaktige avlesningen.
Profilerte dekk: 0,7 bar
Note: Hvis det kreves ekstra trekkraft til drift av kniv, bør du redusere trykket til 0,55 bar.
Glatte dekk: 0,55 til 0,7 bar

Deler som er nødvendige for dette trinnet:
| Avstandsstykke | 2 |
| Bolt (3/4 x 3-1/2 tomme) | 2 |
| Låsemutter (¾ tomme) | 2 |
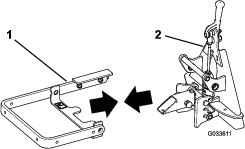
Plasser enhetene slik at topplaten til midtre enhet vender fremover og topplaten til sideenhetene vender bakover (Figur 2).

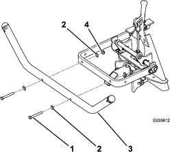
Sett inn et avstandsstykke i svinghullet til hver sideenhet (Figur 3).

Innrett svinghullet i venstre sideenhet med svinghullet på venstre side av midtre enhet.
Fest venstre sideenhet med en bolt (3/4" x 3 1/2") og en låsemutter (3/4") strammet til 163 til 217 Nm, se Figur 3.
Innrett svinghullet i høyre sideenhet med svinghullet på høyre side av midtre enhet.
Fest høyre sideenhet med en bolt (3/4" x 3 1/2") og en låsemutter (3/4") strammet til 163 til 217 Nm, se Figur 3.
Note: Påse at sideenhetene svinger fritt. Løsne mutrene og boltene litt om nødvendig. Påse at låseboltene ikke kommer i kontakt med hverandre i løpet av bevegelsessyklusen.
Deler som er nødvendige for dette trinnet:
| Dreieledd | 1 |
| Splint | 3 |
Innrett hullene i løftearmen med hullene i QAS-enheten (Figur 4).

Før dreieleddet gjennom hullene (Figur 5).

Innrett hullet i festeplaten med hullet på løftearmen, og monter flenshodebolten og flensmutteren (Figur 5).
Monter en hårnålssplint i hvert av de 3 hullene i dreieleddet (Figur 6).
Note: Påse at hullene i dreieleddet er plassert som vist i Figur 6.

Bøy endene på hårnålssplintene for å feste stiften i posisjon.
Deler som er nødvendige for dette trinnet:
| Bolt (3/8 x 3 tommer) | 2 |
| Skive | 4 |
| Flensmutter (⅜ tomme) | 2 |
Fest løfterøret på løftearmen som vist i Figur 7.

Deler som er nødvendige for dette trinnet:
| Bolt (1/2 x 1 3/4 tomme) | 1 |
| Flenshodebolt (3/8 x 1 tomme) | 1 |
| Flensmutter (⅜ tomme) | 1 |
| Flensmutter (1/2 tomme) | 1 |
| Låsemutter (½ tomme) | 1 |
Innrett de 2 hullene i braketten på midten av rakeenheten med de 2 hullene på koblingsrøret (Figur 8).

Fest rakeenheten på koblingsrøret med en bolt (1/2" x 1 3/4"), en flensmutter (1/2"), en låsemutter (1/2"), en flenshodebolt (3/8" x 1") og en flensmutter (3/8").
Fjern bolten og mutteren fra lasken i enden av hver løftekjetting.
Note: Ta vare på boltene og mutrene for å montere løftekjettingene på løfterøret.
Innrett hullene i lasken med hullene i løfterøret.

Les hele denne delen om raking før du raker en sandbunker. Det er mange driftsforhold som er med på å avgjøre hvilke justeringer som er nødvendig. Teksturen og dybden av sanden, fuktinnhold, ugress, komprimeringsgrad – alle disse faktorene kan variere fra bane til bane, eller til og med fra bunker til bunker på samme bane. Juster raken for å oppnå optimale resultater i ditt område.
Øv deg på raking i en stor og jevn bunker på banen. Øv deg på å starte og stoppe, snu, heve og senke raken, kjøre inn i og ut av bunkeren osv. Øv deg i moderat motorturtall og langsom kjørehastighet. Denne treningen vil hjelpe føreren å bli kjent med maskinytelsen.
Det anbefalte mønsteret for raking av en bunker vises på Figur 10. Dette mønsteret unngår unødvendig overlapping og presser underlaget minst mulig sammen, i tillegg til at det blir et fint mønster i sanden. Dette er den mest effektive rakemetoden. Men det er viktig å variere rakemønsteret regelmessig for å unngå vaskebretteffekt.

Kjør inn i bunkeren fra kortsiden, der banken er minst bratt. Kjør gjennom midten av bunkeren nesten til enden, snu så skarpt du kan til en av sidene og kom tilbake ved siden av den første raden. Kjør i en spiral utover som vist på Figur 10 og forlat bunkeren i riktig vinkel i et flatt område.
Utelat bratte, korte banker og små lommer, og gå i stedet over disse med en håndrake.
Når du kjører inn i bunkeren, må du ikke senke raken før den er over sanden. Dermed unngår du å klippe plenen eller dra klippet gress eller andre rester inn i bunkeren. Senk raken mens maskinen beveger seg.
Når du forlater bunkeren, begynner du å heve raken når forhjulet forlater bunkeren. Når maskinen kjører ut, vil raken løftes slik at det ikke dras sand ut på gresset.
Operatøren vil snart, gjennom øvelse og erfaring, lære seg å kjøre inn i og ut av bunkeren i riktig flyt og tempo.