KALIFORNIA
Lakiesityksen 65 mukainen varoitus
Tämän tuotteen käyttäminen voi altistaa kemikaaleille, jotka Kalifornian osavaltion tietojen mukaan aiheuttavat syöpää, synnynnäisiä epämuodostumia tai muuta lisääntymiseen liittyvää haittaa.
Haran oikean toiminnan kannalta on tärkeää, että laitteen rengaspaineet ovat oikeat.(Kuva 1).
Jotta painelukema olisi mahdollisimman tarkka, tarkista paine, kun renkaat ovat kylmät.
Kuviorenkaat: 0,7 bar
Note: Jos terien käyttöön tarvitaan lisäkitkaa, vähennä paine 0,55 bariin.
Sileät renkaat: 0,55–0,7 bar

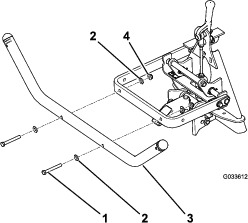
Vaiheeseen tarvittavat osat:
| Välikappale | 2 |
| Pultti (3/4 × 3-1/2 tuumaa) | 2 |
| Lukkomutteri (¾ tuumaa) | 2 |
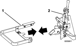
Sijoita kokoonpanot niin, että keskimmäisen kokoonpanon ylälevy osoittaa eteenpäin ja sivukokoonpanojen ylälevyt osoittavat taaksepäin (Kuva 2).

Asenna välikappale kummankin sivukokoonpanon nivelen aukkoon (Kuva 3).

Kohdista vasemmanpuoleisen kokoonpanon nivelen aukko keskimmäisen kokoonpanon vasemmanpuoleiseen nivelen aukkoon.
Kiinnitä vasemmanpuoleinen kokoonpano pultilla (3/4 × 3-1/2 tuumaa) ja lukkomutterilla (3/4 tuumaa) ja kiristä ne momenttiin 163–217 N·m. Katso Kuva 3.
Kohdista oikeanpuoleisen kokoonpanon nivelen aukko keskimmäisen kokoonpanon oikeanpuoleiseen nivelen aukkoon.
Kiinnitä oikeanpuoleinen kokoonpano pultilla (3/4 × 3-1/2 tuumaa) ja lukkomutterilla (3/4 tuumaa) ja kiristä ne momenttiin 163–217 N·m. Katso Kuva 3.
Note: Varmista, että sivukokoonpanot kääntyvät esteettä nivelten varassa. Löysää tarvittaessa muttereita ja pultteja hiukan. Varmista, että lukkopultit eivät kosketa toisiaan liikeradan missään vaiheessa.
Vaiheeseen tarvittavat osat:
| Niveltanko | 1 |
| Sokka | 3 |
Kohdista nostovarren reiät QAS-kokoonpanon reikiin (Kuva 4).

Aseta niveltanko reikien läpi (Kuva 5).

Kohdista pidikelevyn reikä nostovarren reikään ja asenna laippakantapultti ja laippamutteri (Kuva 5).
Asenna sokka niveltangon kolmeen reikään (Kuva 6).
Note: Varmista, että niveltangon reiät on asetettu kuvan mukaisesti (Kuva 6).

Taivuta sokkien päitä, jotta ne pysyvät paikoillaan.
Vaiheeseen tarvittavat osat:
| Pultti (⅜ × 3 tuumaa) | 2 |
| Aluslaatta | 4 |
| Laippamutteri (⅜ tuumaa) | 2 |
Kiinnitä nostoputki nostovarteen kuvan mukaisesti (Kuva 7).

Vaiheeseen tarvittavat osat:
| Pultti (1/2 × 1-3/4 tuumaa) | 1 |
| Laippakantapultti (3/8 × 1 tuumaa) | 1 |
| Laippamutteri (3/8 tuumaa) | 1 |
| Laippamutteri (½ tuumaa) | 1 |
| Lukkomutteri (½ tuumaa) | 1 |
Kohdista harakokoonpanon keskellä olevan kannattimen kaksi reikää vetokoukun putken kahteen reikään (Kuva 8).

Kiinnitä harakokoonpano vetokoukun putkeen pultilla (1/2 × 1-3/4 tuumaa), laippamutterilla (1/2 tuumaa), lukkomutterilla (1/2 tuumaa), laippakantapultilla (3/8 × 1 tuumaa) ja laippamutterilla (3/8 tuumaa).
Irrota pultti ja mutteri kukin nostoketjun päässä olevasta sakkelista.
Note: Säilytä pultit ja mutterit nostoketjujen nostoputkeen asennusta varten.
Kohdista sakkelin reiät nostoputken reikiin.

Lue tämä haraamista käsittelevä osa kokonaan ennen hiekkaesteen haraamista. Tarvittavat säädöt riippuvat monista tekijöistä. Hiekan rakenne ja syvyys, kosteuspitoisuus, rikkaruohot ja pakkautumisen määrä vaihtelevat eri kentillä ja jopa saman kentän eri hiekkaesteillä. Säädä hara käyttöalueen mukaisesti, jotta jälki olisi mahdollisimman hyvä.
Harjoittele haraamista suurella ja tasaisella hiekkaesteellä. Harjoittele käynnistystä ja pysäytystä, kääntymistä, haran nostoa ja laskua, hiekkaesteeseen menoa ja sieltä poistumista. Harjoittele kohtalaisella moottorin kierrosluvulla ja hitaalla ajonopeudella. Harjoittelu auttaa käyttäjää saamaan laitteen käyttövarmuutta.
Hiekkaesteen suositeltu harauskuvio: Kuva 10. Näin limittäisyys jää vähäiseksi, hiekka tiivistyy mahdollisimman vähän ja kuviosta tulee siisti. Tämä on tehokkain harausmenetelmä, mutta on silti tärkeää vaihdella kuviota säännöllisesti, jotta hiekkaan ei synny kumpareita.

Aja hiekkaesteeseen pitkittäissuunnassa kohdasta, jossa törmä on loivin. Aja hiekkaesteen keskikohdan läpi melkein päähän saakka ja käänny jompaankumpaan suuntaan mahdollisimman jyrkästi. Palaa suoraan takaisin ensimmäisen reitin vierestä. Kierrä ulospäin kuvan mukaisesti (Kuva 10) ja poistu hiekkaesteestä suorassa kulmassa tasaisella alueella.
Viimeistele jyrkät, lyhyet törmät ja pienet taskut haravalla.
Kun ajat hiekkaesteeseen, älä laske haraa ennen kuin se on hiekan yläpuolella. Näin et vahingossa leikkaa nurmea tai vedä leikkuujätettä tai muita roskia hiekkaesteeseen. Laske hara, kun kone liikkuu.
Kun poistut hiekkaesteestä, aloita haran nostaminen, kun eturengas poistuu esteestä. Kun kone siirtyy pois esteestä, hara nousee eikä vedä hiekkaa ruoholle.
Käyttäjä huomaa pian kokemuksen ja harjoittelun myötä, miten esteeseen ajo ja sieltä poistuminen kannattaa ajoittaa.