CALIFÓRNIA
Proposição 65 Aviso
É do conhecimento do Estado da Califórnia que a utilização deste produto pode causar exposição a químicos que podem provocar cancro, defeitos congénitos ou outros problemas reprodutivos.
Para que o ancinho funcione corretamente, é importante que a máquina tenha a pressão correta dos pneus.(Figura 1).
Para obter uma leitura mais precisa, verifique a pressão dos pneus quando estes estiverem frios.
Pneus recauchutados: 0,70 bar
Note: Se for necessária tração adicional para funcionamento da lâmina, reduza a pressão para 0,55 bar.
Pneus macios: 0,55–0,70 bar

Peças necessárias para este passo:
| Espaçador | 2 |
| Parafuso (¾ x 3½ pol.) | 2 |
| Porca de bloqueio (¾") | 2 |
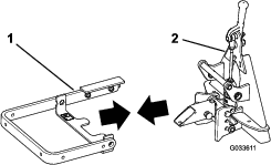
Posicione os conjuntos de forma a que a placa superior do conjunto central fique virada para a frente e que a placa superior de cada conjunto lateral fique virada para trás (Figura 2)

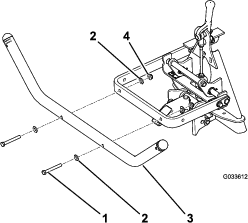
Insira um espaçador no orifício da articulação de cada conjunto lateral (Figura 3).

Alinhe o orifício da articulação no conjunto do lado esquerdo com o orifício da articulação no lado esquerdo do conjunto central.
Prenda o conjunto do lado esquerdo com um parafuso (¾ x 3½ pol.) e uma porca de bloqueio (¾"), apertado com 163 a 217 N·m; consulte a Figura 3.
Alinhe o orifício da articulação no conjunto do lado direito com o orifício da articulação no lado direito do conjunto central.
Prenda o conjunto do lado direito com um parafuso (¾ x 3½ pol.) e uma porca de bloqueio (¾"), apertado com 163 a 217 N·m; consulte a Figura 3.
Note: Certifique-se de que as articulações dos conjuntos laterais se movem livremente. Desaperte ligeiramente as porcas e parafusos se for necessário. Certifique-se de que os parafusos de carroçaria não entram em contacto um com o outro através do curso de movimento.
Peças necessárias para este passo:
| Barra de articulação | 1 |
| Contrapino | 3 |
Alinhe os orifícios no braço de elevação com os orifícios do conjunto QAS (Figura 4).

Insira a barra de articulação através dos orifícios (Figura 5).

Alinhe os orifícios na placa de retenção com o furo no braço de elevação e instale o parafuso de cabeça flangeada e porca flangeada (Figura 5).
Instale um contrapino em cada um dos três orifícios na barra de articulação (Figura 6).
Note: Certifique-se de que os orifícios na barra de articulação estão posicionados como se mostra na Figura 6.

Dobre as extremidades dos contrapinos para prender o pino no sítio.
Peças necessárias para este passo:
| Parafuso (3/8 x 3") | 2 |
| Anilha | 4 |
| Porca flangeada (⅜ pol.) | 2 |
Instale o tubo de elevação no braço de elevação como se mostra na Figura 7.

Peças necessárias para este passo:
| Parafuso (½ x 1¾ pol.) | 1 |
| Parafuso com cabeça flangeada (⅜ pol. x 1 pol.) | 1 |
| Porca flangeada (⅜ pol.) | 1 |
| Porca flangeada (½ pol.) | 1 |
| Porca de bloqueio (½ pol.) | 1 |
Alinhe os dois orifícios no suporte no centro do conjunto do ancinho com os dois orifícios no tubo de engate (Figura 8).

Prenda o conjunto do ancinho ao tubo de engate com um parafuso (½ x 1¾ pol.), uma porca flangeada (½"), uma porca de bloqueio (½"), um parafuso de cabeça de flange (3/8 x 1") e uma porca flangeada (3/8").
Retire o parafuso e a porca do aro na extremidade de cada corrente de elevação.
Note: Guarde os parafusos e porcas para a instalação das correntes de elevação no tubo de elevação.
Alinhe os orifícios no aro com os orifícios no tubo de elevação.

Leia toda esta secção sobre a utilização do ancinho antes de o fazer num banco de areia. Há muitas condições que determinam os ajustes necessários. A textura e profundidade da areia, conteúdo de humidade, ervas daninhas, a quantidade de compactação são fatores podem variar de campo para campo ou até de uma secção para outra do mesmo campo. Faça os ajustes no ancinho para resultados ideais na sua área particular.
Pratique a utilização do ancinho numa área grande e nivelada do campo. Pratique o arranque e paragem, viragem, elevar e descer o ancinho, entrar e sair da área, etc. Pratique com uma velocidade moderada do motor e a uma velocidade lenta no solo. Este treino vai ajudar o operador a ganhar confiança no desempenho da máquina.
O padrão recomendado ao varrer uma área é mostrado em Figura 10. Este padrão evita a sobreposição desnecessária, mantém a compactação ao mínimo e deixa um padrão bem proporcionado e atrativo nos relvados. Este é o método mais eficaz de utilização do ancinho, no entanto, é importante variar o padrão do ancinho com regularidade para reduzir a possibilidade de criar um efeito de desmoronamento.

Entre na área a direito na dimensão maior, onde o banco é menos inclinado. Conduza através do centro da área quase até à extremidade, rode em qualquer direção da forma mais acentuada que puder e regresse para junto da primeira passagem. Conduza em espiral para fora como se mostra na Figura 10 e saia da área num ângulo reto numa área nivelada.
Deixe bancos pequenos e inclinados para retoque com um ancinho manual.
Ao entrar na área, não baixe o ancinho até que este se encontre sobre a areia. Isto evita cortar relva ou danificar aparas de relva ou outros detritos na área. Baixe o ancinho enquanto a máquina se está a mover.
Ao sair da área, comece a elevar o ancinho quando a roda da frente sair da área. À medida que a máquina se move, o ancinho vai elevar e não arrasta areia para a relva.
Rapidamente o operador vai ganhar experiência e prática para saber quando entrar e sair da área corretamente.