Чтобы грабли работали правильно, очень важно поддерживать правильное давление в шинах машины.(Рисунок 1).
Для получения наиболее точных показаний проверяйте шины, когда они находятся в холодном состоянии.
Шины с протектором: 0,70 бар
Note: Если требуется дополнительное сцепление с поверхностью для работы отвала, снизьте давление до 0,55 бар.
Гладкие шины: от 0,55 до 0,70 бар

Детали, требуемые для этой процедуры:
| Разделитель | 2 |
| Болт (3/4 x 3-1/2 дюйма) | 2 |
| Контргайка (¾ дюйма) | 2 |
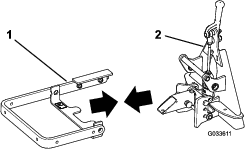
Расположите узлы таким образом, чтобы верхняя пластина центрального узла была направлена вперед и верхняя пластина каждого бокового узла была направлена назад (Рисунок 2)

Вставьте проставку в отверстие шарнира каждого бокового узла (Рисунок 3).

Совместите отверстие шарнира в левом узле с отверстием шарнира в левой части центрального узла.
Прикрепите левый боковой узел с помощью болта (3/4 x 3-1/2 дюйма) и контргайки (3/4 дюйма), затянув их с моментом от 163 до 217 Н∙м; см. Рисунок 3.
Совместите отверстие шарнира в правом узле с отверстием шарнира в правой части центрального узла.
Прикрепите правый боковой узел с помощью болта (3/4 x 3-1/2 дюйма) и контргайки (3/4 дюйма), затянув их с моментом от 163 до 217 Н∙м; см. Рисунок 3.
Note: Убедитесь, что боковые узлы свободно поворачивается в шарнирах. Если необходимо, слегка ослабьте гайки и болты. Убедитесь в том, что каретные болты не касаются друг друга во всем диапазоне перемещения.
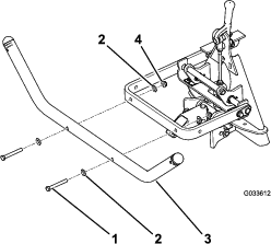
Детали, требуемые для этой процедуры:
| Поворотная штанга | 1 |
| Шплинт | 3 |
Совместите отверстия в подъемном рычаге с отверстиями в системе быстрой установки (QAS) в сборе (Рисунок 4).

Вставьте поворотную штангу в отверстия (Рисунок 5).

Совместите отверстие в крепежной пластине с отверстием в подъемном рычаге и установите болт с фланцевой головкой и фланцевую контргайку (Рисунок 5).
Вставьте шплинт в каждое из трех отверстий поворотной штанги (Рисунок 6).
Note: Убедитесь, что отверстия в поворотной штанге расположены так, как показано на Рисунок 6.

Загните концы шплинтов, чтобы закрепить шплинты.
Детали, требуемые для этой процедуры:
| Болт (⅜ x 3 дюйма) | 2 |
| Шайба | 4 |
| Фланцевая гайка (⅜ дюйма) | 2 |
Прикрепите подъемную трубу к подъемному рычагу, как показано на Рисунок 7.

Детали, требуемые для этой процедуры:
| Болт (на 3/2 x 1-1/4 дюйма) | 1 |
| Болт с фланцевой головкой (⅜ x 1 дюйм) | 1 |
| Фланцевая гайка (⅜ дюйма) | 1 |
| Фланцевая гайка (½ дюйма) | 1 |
| Контргайка (½ дюйма) | 1 |
Совместите два отверстия в кронштейне в центре грабель в сборе с двумя отверстиями в трубе сцепного устройства (Рисунок 8).

Прикрепите грабли в сборе к трубе сцепного устройства с помощью болта (1/2 x 1-3/4 дюйма), фланцевой гайки (1/2 дюйма), контргайки (1/2 дюйма), болта с фланцевой головкой (3/8 x 1 дюйм) и фланцевой гайки (3/8 дюйма).
Выверните болт и гайку от сцепной серьги в конце каждой подъемной цепи.
Note: Сохраните болты и гайки для установки подъемных цепей на подъемную трубу.
Совместите отверстия в сцепной серьге с отверстиями в подъемное трубе.

Изучите весь раздел, посвященный разравниванию граблями, прежде чем фактически разравнивать песчаную ловушку. Существует ряд условий, определяющих необходимые регулировки. Текстура и глубина песка, влагосодержание, сорняки, степень уплотнения – все эти условия могут меняться от поля к полю или даже от ловушки к ловушке на одном и том же поле. Отрегулируйте грабли для достижения оптимальных результатов на вашем конкретном поле.
Попрактикуйтесь в разравнивании граблями на одной из больших и горизонтальных песчаных ловушек на поле. Осваивайте пуск и остановку, повороты, подъем и опускание грабель, вход и выход из ловушки и т.п. Практикуйтесь на средней частоте вращения двигателя и на медленной скорости движения. Этот период обучения полезен для того, чтобы оператор стал доверять рабочим характеристикам машины.
Рекомендуемая конфигурация разравнивания ловушки граблями показана на Рисунок 10. При этом исключается ненужное перекрытие, сводится к минимуму уплотнение, а песок приобретает аккуратный, привлекательный вид. Это самый эффективный способ разравнивания граблями, однако важно помнить о необходимости регулярного изменения схемы разравнивания, чтобы снизить вероятность возникновения эффекта волнистой поверхности.

Входите в песчаную ловушку под прямым углом по длинному размеру там, где откос наименее крутой. Проведите машину через центр песчаной ловушки почти до конца, поверните в любом направлении как можно круче и двигайтесь назад рядом с первым проходом. Двигайтесь по спирали наружу, как показано на Рисунок 10, и покиньте ловушку под прямым углом в пологом месте.
Оставьте крутые короткие откосы и небольшие карманы для обработки ручными граблями.
При входе в ловушку не опускайте грабли, пока они не будут находиться над песком. Это исключит срезание травяного покрова или попадание в ловушку сухой травы или другого мусора. Опускайте грабли во время движения машины.
Выезжая из ловушки, начинайте поднимать грабли, когда из ловушки выедут передние колеса. Когда машина выезжает из ловушки, грабли должны быть подняты и не должны заносить песок на траву.
Путем проб и ошибок оператор быстро усвоит требуемые моменты правильного входа и выхода из песчаной ловушки.