この製品は、関連する全ての欧州指令に適合しています。詳細についてはこの冊子の末尾にあるDOI(適合宣誓書)をご覧ください。
Note: このキットは リールマスター 5010 シリーズのトラクションユニットのための製品であり、特許 # 7,017,703 により保護されています。
万一トラクションユニットが転倒すると、人身事故に発展する危険がある。
運転するときは必ず ROPS を取り付け、 シートベルトを着用すること。
![]() |
危険な部分の近くには、見やすい位置に安全ラベルや指示ラベルを貼付しています。破損したりはがれたりした場合は新しいラベルを貼付してください。 |


平らな場所に駐車する。
駐車ブレーキを掛ける。
PTO スイッチを切位置にする。
刈り込みコントロールレバーを刈り込み位置にする。
エンジンを止め、キーを抜き取る。
全ての動きが停止するのを待つ。
エンジンが冷えるのを待つ。
この作業に必要なパーツ
| 右ホイールモータ | 1 |
| 左ホイールモータ | 1 |
| 油圧フィッティング(45°) | 4 |
| ボルト, (½ x 2¼”) | 8 |
| ロックワッシャ(½") | 8 |
機体後部をジャッキアップしてスタンドで支える。
各後輪をホイールハブに固定しているラグナット(5個)を外す(図 1)。タイヤを外す。

各ホイールスピンドルをホイールモータハウジングに固定しているフランジボルト(4本)を外す(図 1)。ホイールスピンドルを取り外す。ホイールハブはスピンドルから取り外さなくてよい。
各ホイールモータ・アセンブリに、45° フィッティングを2つずつ取り付ける (図 2)。各フィッティングがまっすぐ後ろ向きになるように取り付ける。
Note: フィッティングのOリングをきちんと潤滑し、正しい位置にセットしてから取り付けてください。

各ホイールモータの左右の別を確認する。右用のホイールモータは、モータハウジングの表面に溝が切ってあることで区別できる。左用のホイールモータは、モータハウジングに黄色のステッカーまたはペイントによるマーキングが施されている。
それぞれのホイールモータを、対応するハウジングに取り付ける;ボルト4本(1/2 x 2-1/4 インチ)とロックワッシャ(1/2 インチ)を使用する(図 3)。ボルトを95-108N∙m(9.7-11.1 kg.m = 70-80 ft-lb)にトルク締めする。

この作業に必要なパーツ
| マニホルド | 1 |
| 油圧フィッティング(ストレート) | 7 |
| 診断用フィッティング | 2 |
| ダストキャップ | 2 |
| ボルト(3/4 x 1-3/8 インチ) | 3 |
| ロックワッシャ(3/8 インチ) | 3 |
| スペーサ | 3 |
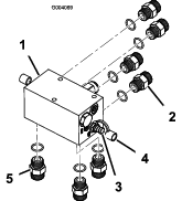
マニホルドの後部にストレートフィッティング(4個)を取り付ける(図 4)。

診断用フィッティング(ダストキャップを付け、向い合せに)2個を取り付ける (図 4)。
マニホルドの底部にストレートフィッティング(3個)を取り付ける(図 4)。
マニホルト・アセンブリを、マニホルドブラケットの底面に取り付ける;ボルト(3/8 x 1-3/4 インチ)(3本)、ロックワッシャ(3/8 インチ)、スペーサを使用する。スペーサはマニホルドブラケットとマニホルド上面との間に入れる。フィッティングが機体後部および下部を向くように取り付けるのが正しい (図 5)。
Note: フィッティングのOリングをきちんと潤滑し、正しい位置にセットしてから取り付けてください。

この作業に必要なパーツ
| 油圧ホース | 4 |
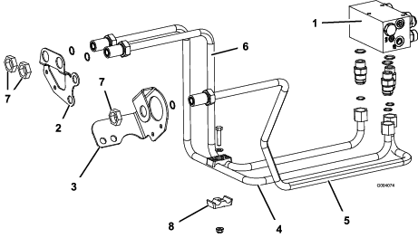
各油圧ホースの 45° 側端部を、マニホルドの後部側フィッティングに仮止めする (図 6)。

これら2本の左側用ホースを、左ホイールモータまで配設する。上側マニホルドのホースをホイールモータの上側フィッティングに、下側マニホルドのホースを下側フィッティングに接続する (図 7)。ホースの配設経路が不適切であると、ホースがタイヤや後バンパーと接触して破損するので十分注意すること。
Important: マニホルドからホイールモータまでの間でホースをクロスさせないでください。

右側のホイールモータにも同じ作業を行う。図 8 に示すようにホースが配置できたら全部のホース側フィッティングを本締めする。

外してあった後タイヤを取り付けて、ラグナットを 115-135N·m(11.8-14.0 kg.m = 85-100 ft-lb)にトルク締めする。
Important: 各ホースの配線経路が適正かどうか点検してください。機体が揺れた場合の車軸との接触、ハンドルを左右一杯に切った際の周囲と接触がないようにしてください。タイヤと車軸とのすきまが 13mm 以上であることが必要です。
この作業に必要なパーツ
| 油圧チューブ(P/N 108-7624) | 1 |
| 油圧チューブ(P/N 108-7625) | 1 |
| 油圧チューブ(P/N 108-7626) | 1 |
| バルクヘッド用ロックナット | 3 |
| チューブクランプ | 2 |
| キャップスクリュ, 5/16 x 1-1/2 インチ | 1 |
| 平ワッシャ(0.344 x 0.688) | 1 |
| ロックナット(5/16 インチ) | 1 |
油圧チューブ(P/N 108-7624)を、左側マニホルドフィッティングの RF というラベルのついたフィッティングから、右側フレームのバルクヘッドブラケットの右側の穴に配設する (図 9)。
この油圧チューブの後部をマニホルドのフィッティングに固定し、前部をバルクヘッドブラケットにバルクヘッド用ロックナットで固定する(図 9)。
油圧チューブ(P/N 108-7626)を、中央マニホルドフィッティングの REV というラベルのついたフィッティングから、左側フレームのバルクヘッドブラケットの穴に配設する (図 9)。
この油圧チューブの後部をマニホルドのフィッティングに固定し、前部をバルクヘッドブラケットにバルクヘッド用ロックナットで固定する。
油圧チューブ(P/N 108-7625)を、右側マニホルドフィッティングの LF というラベルのついたフィッティングから、右側フレームのバルクヘッドブラケットの左側の穴に配設する (図 9)。
この油圧チューブの後部をマニホルドのフィッティングに固定し、前部をバルクヘッドブラケットにバルクヘッド用ロックナットで固定する。
右側バルクヘッドのライン2本を、チューブクランプ、キャップスクリュ (5/16 x 1-1/2 インチ)、平ワッシャ (0.344 x 0.688) 、ロックナット (5/16 インチ) (図 9)で固定する。

機体の前側を持ち上げてジャッキスタンドで支える。
ホイールアセンブリを固定しているラグナットを取り外してホイールを外す。
ホイールシールドを前アクスルフランジに固定しているキャップスクリュとナットを外す(図 10)。
左前ホイールモータの上側フィッティング、および、右前ホイールモータの底部フィッティングから、油圧チューブを外す (図 10)。
チューブをフレームに固定している R クランプ (図 10) と、ブレーキケーブルを油圧チューブに固定しているケーブルタイを外す。

可変ポンプと油圧チューブから、左側ホースを取り外す (図 10)。可変ポンプの底部についている45° フィッティングも外す (図 10)。
Note: フロントチューブの付け外しがしにくい場合には、右側ホースも外すとよいでしょう。アクセスに問題がなければ外す必要はありませんが、作業が容易になります。
この作業に必要なパーツ
| 油圧チューブ(P/N 108-7622) | 1 |
| 油圧チューブ(P/N 108-7623) | 1 |
| 油圧フィッティング(90°) | 1 |
| 油圧ホース | 1 |
| ケーブルタイ | 3 |
油圧チューブ(P/N 108-7622)を、右側ホイールモータのフィッティングと、右側フレームのバルクヘッドの右側油圧チューブに接続する (図 11)。
油圧チューブ(P/N 108-7623)を、左側ホイールモータのフィッティングと、右側フレームのバルクヘッドの左側油圧チューブに接続する (図 11)。
可変ポンプの底部に、90° フィッティングを取り付ける(図 11)。
左側ポンプフィッティングと左側フレームのバルクヘッドの油圧チューブに油圧ホースを接続する。右側ホースが取り外されている場合には、この時点で取り付ける。
ケーブルタイを使って、油圧ホースをバッテリートレイの底部に固定する(図 11)。
前アクスルフランジにホイールシールドを取り付ける;先ほど外したキャップスクリュとナットを使用する(図 10)。
ケーブルタイ2本を使って、ブレーキケーブルを油圧チューブに固定する。

油圧ライン・油圧ホースにオイル漏れ、 ねじれ、 支持部のゆるみなどがないか十分に点検してください。異常を発見したら必ず運転を行う前に修理してください。
Note: 油圧システムの周辺にごみやほこりをためないようにしてください。
高圧で噴出する作動油は皮膚を貫通し、身体に重大 な損傷を引き起こす。万一、油圧オイルが体内に入った場合には、この種の労働災害に経験のある施設で数時間以内に外科手術を受けないと壊疽(えそ)を起こす。
油圧のピンホールリークやノズルからは作動油が高圧で噴出しているので、絶対に手などを近づけない。
リークの点検には新聞紙やボール紙を使う。
油圧チューブを、機体のフレームに 図 12のように固定する;取り付け作業の開始時に取り外した R クランプとねじ2本、およびロックナットを使用する。

前タイヤを取り付ける;先ほど取り外した締結部材を使用する。ラグナットを 115-135N·m(11.8-13.0 kg.m = 85-100 ft-lb)にトルク締めする。
ジャッキを外して機体を床に下ろす。
油圧オイルの量を点検する。油圧オイル量を点検し、必要に応じてディップスティックの FULL マークまで補給する。詳細については、オペレーターズマニュアル を読むこと。
試運転を行う。 オペレーターズマニュアル の手順に従ってマシンを停止させ、油圧系統にリークなどの異常がないか点検する。
油圧オイルの量を再度点検する。必要に応じてディップスティックの FULL マークまで補給する。詳細については、オペレーターズマニュアル を読むこと。
この作業に必要なパーツ
| デカル | 2 |
| デカル 110–8869, 危険 | 1 |
| デカル 110-8973(CE用危険警告;欧州向けのみ) | 1 |
それぞれのステッカーを以下に示す位置に張り付ける:
貼り付ける場所を十分にきれいにする。
貼り付け場所を水または石鹸水でぬらす。
ステッカーの裏側についている台紙を剥がし、テッカーを貼り付ける。
貼り付け後、ステッカーが機体に十分密着するように、ステッカーの中心から周辺部に向かって、むらなくしごきあげる。
図 13に示す寸法で、フードの左右の後部下のコーナー部分に CROSSTRAX のステッカーを張り付ける。

運転台に張り付けられている危険警告ステッカーの上から、新しい警告ステッカーを張り付ける (図 14):
米国内で使用する場合:110-8869
CE地域(欧州)内で使用する場合:110-89673
