Este producto cumple todas las directivas europeas aplicables. Para obtener más detalles, consulte la Declaración de Incorporación (DOI) al final de esta publicación.
Note: Este kit, una vez instalado en una Unidad de tracción Reelmaster Serie 5010, está cubierto por la Patente Nº 7,017,703.
Un vuelco de la unidad de tracción podría causar lesiones personales.
Durante la operación de la máquina, utilice siempre el cinturón de seguridad conjuntamente con el ROPS.
![]() |
Las calcomanías de seguridad e instrucciones están a la vista del operador y están ubicadas cerca de cualquier zona de peligro potencial. Sustituya cualquier calcomanía que esté dañada o que falte. |


Aparque la máquina en una superficie nivelada.
Ponga el freno de estacionamiento.
Ponga el interruptor de habilitar/deshabilitar en la posición de DESHABILITAR.
Mueva la palanca de control de segar/elevar hasta la posición SEGAR.
Apague el motor y retire la llave.
Espere a que se detengan todas las piezas.
Deje que el motor se enfríe.
Piezas necesarias en este paso:
| Motor de rueda derecho | 1 |
| Motor de rueda izquierdo | 1 |
| Acoplamiento hidráulico, 45° | 4 |
| Perno (½" x 2¼") | 8 |
| Arandela de freno (½") | 8 |
Eleve con un gato la parte trasera de la máquina y apóyela sobre gatos fijos.
Retire las 5 tuercas que sujetan cada neumático trasero al cubo de la mangueta (Figura 1). Retire los neumáticos.

Retire los 4 pernos con arandela prensada que sujetan cada mangueta al alojamiento del motor de rueda (Figura 1). Retire las manguetas. No es necesario desmontar el cubo de la mangueta.
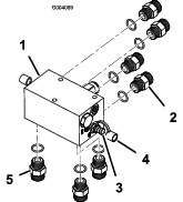
Instale dos acoplamientos hidráulicos de 45° en cada motor de rueda (Figura 2). Posicione los acoplamientos de manera que estén orientados directamente hacia atrás.
Note: Asegúrese de que las juntas tóricas están lubricadas y colocadas en todos los acoplamientos antes de instalar éstos.

Identifique los motores de rueda izquierdo y derecho. El motor de rueda del lado derecho de la máquina se identifica por las ranuras de la superficie exterior del alojamiento del motor. Para confirmar la identificación, el motor izquierdo lleva una pequeña pegatina o marca de pintura amarilla en el alojamiento del motor.
Monte el motor de rueda correspondiente en cada alojamiento del motor de rueda con 4 pernos (1/2 x 2-1/4 pulgadas) y arandelas de freno (1/2 pulgada) (Figura 3). Apriete los pernos a entre 95 y 108 N⋅m.

Piezas necesarias en este paso:
| Colector | 1 |
| Acoplamiento hidráulico recto | 7 |
| Acoplamiento diagnóstico | 2 |
| Tapón guardapolvo | 2 |
| Perno (⅜" x 1¾") | 3 |
| Arandela de freno (⅜") | 3 |
| Espaciador | 3 |
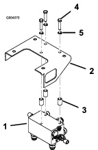
Instale 4 acoplamientos hidráulicos rectos en la parte trasera del colector (Figura 4).

Instale 2 acoplamientos diagnóstico en cada lado del colector, con sus tapones guardapolvo correspondientes (Figura 4).
Instale 3 acoplamientos hidráulicos rectos en la cara inferior del colector (Figura 4).
Monte el conjunto de colector en la parte inferior del soporte del colector con 3 pernos (⅜" x 1¾"), arandelas de freno (⅜") y espaciadores. Coloque los espaciadores entre el soporte del colector y la parte superior del colector. El colector debe orientarse con los acoplamientos orientados hacia atrás y hacia abajo (Figura 5).
Note: Asegúrese de que las juntas tóricas están lubricadas y colocadas en todos los acoplamientos antes de instalar éstos.

Piezas necesarias en este paso:
| Manguera hidráulica | 4 |
Enrosque sin apretar el extremo con acoplamiento de 45° de cada manguera hidráulica en los acoplamientos rectos de la parte trasera del colector (Figura 6).

Enrute las 2 mangueras de la izquierda hasta el motor de rueda izquierdo. Conecte la manguera superior del colector al acoplamiento superior del motor de rueda, y la manguera inferior del colector al acoplamiento inferior del motor de rueda (Figura 7). Si las mangueras no se enrutan correctamente pueden entrar en contacto con los neumáticos o con el parachoques trasero, lo que causará daños en las mangueras.
Important: No cruce las mangueras hidráulicas entre el colector y los motores de rueda.

Repita el procedimiento con el motor de rueda derecho. Posicione las mangueras según se muestra en Figura 8 y apriete todos los acoplamientos de las mangueras.

Vuelva a instalar los neumáticos traseros y apriete las tuercas de las ruedas a entre 115 y 135 N⋅m.
Important: Compruebe el enrutado de las mangueras para asegurarse de que hay suficiente holgura al oscilar el eje y al girarse el volante a tope en ambos sentidos. La holgura mínima entre el neumático y el eje debe ser de 13 mm.
Piezas necesarias en este paso:
| Tubo hidráulico, pieza n.º 108-7624 | 1 |
| Tubo hidráulico, pieza n.º 108-7625 | 1 |
| Tubo hidráulico, pieza n.º 108-7626 | 1 |
| Contratuerca del conector pasamuros | 3 |
| Abrazadera superior e inferior | 2 |
| Tornillo (5/16" x 1½") | 1 |
| Arandela plana (0,344 x 0,688) | 1 |
| Contratuerca (5/16") | 1 |
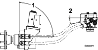
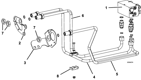
Enrute el tubo hidráulico, pieza n.º 108-7624, desde el acoplamiento izquierdo del colector, marcado “RF”, hasta el orificio derecho del tabique derecho del bastidor (Figura 9).
Sujete el extremo trasero del tubo hidráulico al acoplamiento del colector y el extremo delantero al soporte del tabique usando una contratuerca (Figura 9).
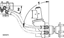
Enrute el tubo hidráulico, pieza n.º 108-7626, desde el acoplamiento central del colector, marcado “REV”, hasta el orificio del tabique izquierdo del bastidor (Figura 9).
Sujete el extremo trasero del tubo hidráulico al acoplamiento del colector y el extremo delantero al soporte del tabique usando una contratuerca.
Enrute el tubo hidráulico, pieza nº 108-7625, desde el acoplamiento derecho del colector, marcado “LF”, hasta el orificio izquierdo del tabique derecho del bastidor (Figura 9).
Sujete el extremo trasero del tubo hidráulico al acoplamiento del colector y el extremo delantero al soporte del tabique usando una contratuerca.
Sujete las 2 líneas del tabique derecho con las abrazaderas, un tornillo (5/16" x 1½"), una arandela plana (0,344 x 0,688) y una contratuerca (5/16") (Figura 9).

Eleve la parte delantera de la unidad y apóyela sobre gatos fijos.
Retire las tuercas que sujetan los conjuntos de ruedas, y retire las ruedas.
Retire los tornillos y las tuercas que sujetan los protectores de las ruedas a las bridas del eje delantero (Figura 10).
Desconecte el tubo hidráulico del acoplamiento superior del motor de rueda delantero izquierdo y del acoplamiento inferior del motor de rueda delantero derecho (Figura 10).
Retire las abrazaderas en R que sujetan el tubo al bastidor (Figura 10) y las bridas que sujetan los cables de freno a los tubos hidráulicos.

Desconecte la manguera izquierda de la bomba variable y del tubo hidráulico (Figura 10). Asimismo, retire el acoplamiento de 45° de la parte inferior de la bomba variable (Figura 10).
Note: La manguera derecha también puede retirarse para dejar más espacio para la retirada y la instalación del tubo delantero. Esto no es necesario pero puede facilitar la instalación de este kit.
Piezas necesarias en este paso:
| Tubo hidráulico, pieza n.º 108-7622 | 1 |
| Tubo hidráulico, pieza n.º 108-7623 | 1 |
| Acoplamiento hidráulico, 90° | 1 |
| Manguera hidráulica | 1 |
| Brida | 3 |
Conecte el tubo hidráulico, pieza n.º 108-7622, al acoplamiento del motor de rueda derecho y al tubo hidráulico derecho del tabique derecho del bastidor (Figura 11).
Conecte el tubo hidráulico, pieza n.º 108-7623, al acoplamiento del motor de rueda izquierdo y al tubo hidráulico izquierdo del tabique derecho del bastidor (Figura 11).
Instale un acoplamiento hidráulico de 90° en la parte inferior de la bomba variable (Figura 11).
Conecte la manguera hidráulica al acoplamiento de la bomba izquierda y al tubo hidráulico en el tabique izquierdo del bastidor. Si se había retirado la manguera derecha, conecte la manguera ahora.
Sujete la manguera hidráulica a la parte inferior de la bandeja de la batería con una brida (Figura 11).
Instale los protectores de rueda en las bridas del eje delantero con los tornillos y las tuercas que retiró anteriormente (Figura 10).
Utilice bridas para sujetar los cables de freno a los tubos hidráulicos.

Compruebe las mangueras y los tubos hidráulicos en busca de fugas, conexiones sueltas, mangueras torcidas, y abrazaderas o soportes sueltos. Haga todas las reparaciones necesarias antes de operar la máquina.
Note: Mantenga las zonas alrededor del sistema hidráulico limpias de acumulaciones de hierba y residuos.
Las fugas de aceite hidráulico bajo presión pueden penetrar en la piel y causar lesiones. Cualquier fluido inyectado accidentalmente por debajo de la piel debe ser eliminado quirúrgicamente, antes de que pasen unas horas, por un médico familiarizado con este tipo de lesión; si no, podría causar gangrena.
Mantenga el cuerpo y las manos alejados de las fugas de aceite hidráulico de pequeños taladros, o de boquillas que expulsan aceite hidráulico a alta presión.
Utilice un cartón o un papel para buscar fugas hidráulicas.
Instale las abrazaderas en R retiradas anteriormente usando 2 pernos y contratuercas para sujetar los tubos hidráulicos al bastidor de la máquina, según se muestra en Figura 12.

Instale los neumáticos delanteros usando las fijaciones que retiró anteriormente. Apriete las tuercas de las ruedas a entre 115 y 135 N⋅m.
Retire los gatos fijos y baje la máquina al suelo.
Compruebe el nivel de aceite hidráulico. Si es necesario, añada aceite hasta que el nivel llegue a la marca Lleno de la varilla. Consulte el Manual del operador si desea más información.
Ponga la máquina en marcha y compruebe que no hay fugas. Apague la máquina según lo indicado en el Manual del operador y compruebe que no hay fugas en el sistema hidráulico.
Compruebe una vez más el nivel de aceite hidráulico. Si es necesario, añada aceite hasta que el nivel llegue a la marca Lleno de la varilla. Consulte el Manual del operador si desea más información.
Piezas necesarias en este paso:
| Pegatina | 2 |
| Pegatina 110–8869, peligro | 1 |
| Pegatina 110–8973, peligro CE (Europa solamente) | 1 |
Instale cada pegatina en las posiciones indicadas a continuación:
Limpie a fondo la zona donde se va a instalar la pegatina.
Humedezca la zona con agua o con agua ligeramente jabonosa.
Separe la pegatina del papel protector y colóquela en su lugar.
Alise la pegatina con una espátula de goma, trabajando desde el centro hacia los bordes y solapando las pasadas.
Usando las dimensiones indicadas en Figura 13, localice y coloque una pegatina CROSSTRAX en la esquina inferior trasera de cada lado del capó.

Coloque la pegatina de peligro apropiada encima de la pegatina existente en la plataforma del operador (Figura 14).
Para unidades de los EE. UU., aplique la pegatina 110-8869.
Para unidades de Europa (CE), aplique la pegatina 110-89673.
