Tämä tuote on asiaankuuluvien eurooppalaisten direktiivien mukainen. Lisätietoja on tämän julkaisun lopussa olevassa liittämisvakuutuksessa.
Note: Patentti 7 017 703 kattaa tämän sarjan, kun se on asennettu Reelmaster 5010 -sarjan ajoyksiköihin.
Ajoyksikön kierähdysonnettomuuteen liittyy henkilövahingon vaara.
Kun käytät konetta, käytä aina turvavyötä ja kaatumissuojausjärjestelmää yhdessä.
![]() |
Turva- ja ohjetarrat on sijoitettu hyvin näkyville paikoille mahdollisten vaara-alueiden lähettyville. Korvaa vioittuneet tai kadonneet tarrat uusilla. |


Pysäköi kone tasaiselle alustalle.
Kytke seisontajarru.
Paina Käytössä / pois käytöstä ‑kytkin VAPAUTETTU-asentoon.
Siirrä leikkuunohjausvipu LEIKKUU-asentoon.
Sammuta moottori ja irrota virta-avain.
Odota, kunnes kaikki liikkuvat osat ovat pysähtyneet.
Anna moottorin jäähtyä.
Vaiheeseen tarvittavat osat:
| Oikea napamoottori | 1 |
| Vasen napamoottori | 1 |
| Hydrauliliitin, 45° | 4 |
| Pultti (1/2 × 2-1/4 tuumaa) | 8 |
| Varmistuslaatta (1/2 tuumaa) | 8 |
Nosta koneen takaosa ja tue se akselipukeilla.
Irrota viisi pyöränmutteria, joilla jokainen takarengas on kiinnitetty pyörän akselin napaan (Kuva 1). Irrota renkaat.

Irrota neljä laippapulttia, joilla jokainen pyörän akseli on kiinnitetty jokaiseen napamoottorin koteloon (Kuva 1). Irrota pyörän akselit. Pyörännapaa ei tarvitse irrottaa akselista.
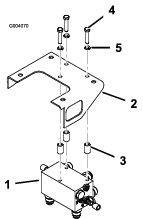
Asenna kaksi 45 asteen hydrauliliitintä jokaiseen napamoottorikokoonpanoon (Kuva 2). Aseta liittimet niin, että ne osoittavat suoraan taakse.
Note: Voitele O-renkaat ja aseta ne oikein kaikkiin liittimiin ennen asennusta.

Selvitä, kumpi napamoottoreista on vasen ja kumpi oikea. Koneen oikean puolen napamoottorin tunnistaa moottorin kotelon ulkopinnalla olevista urista. Vasemmanpuoleinen moottori voidaan lisäksi tunnistaa moottorin kotelon pienestä keltaisesta tarrasta tai maalijäljestä.
Kiinnitä vastaava napamoottorikokoonpano jokaiseen napamoottorin koteloon neljällä pultilla (½ × 2¼ tuumaa) ja neljällä varmistuslaatalla (½ tuumaa) (Kuva 3). Kiristä pultit momenttiin 95–108 N·m.

Vaiheeseen tarvittavat osat:
| Asennuslohko | 1 |
| Hydrauliliitin, suora | 7 |
| Vianmääritysliitin | 2 |
| Pölysuoja | 2 |
| Pultti (3/8 × 1-3/4 tuumaa) | 3 |
| Varmistuslaatta (3/8 tuumaa) | 3 |
| Välikappale | 3 |
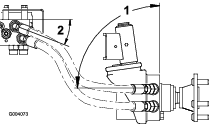
Asenna neljä suoraa hydrauliliitintä asennuslohkon taakse (Kuva 4).

Asenna kaksi vianmääritysliitintä ja pölysuojaa asennuslohkon kummallekin puolella (Kuva 4).
Asenna kolme suoraa hydrauliliitintä asennuslohkon alapuolelle (Kuva 4).
Kiinnitä asennuslohko lohkon kannattimen alapuolelle kolmella pultilla (3/8 × 1-3/4 tuumaa), kolmella varmistuslaatalla (3/8 tuumaa) ja kolmella välikappaleella. Aseta välikappaleet lohkon kannattimen ja asennuslohkon yläpuolen väliin. Asennuslohko on asetettava niin, että liittimet osoittavat taakse ja alas (Kuva 5).
Note: Voitele O-renkaat ja aseta ne oikein kaikkiin liittimiin ennen asennusta.

Vaiheeseen tarvittavat osat:
| Hydrauliletku | 4 |
Kierrä jokaisen hydrauliletkun 45 asteen liitin löysästi asennuslohkon takana oleviin suoriin liittimiin (Kuva 6).

Vie kaksi vasenta letkua vasempaan napamoottoriin. Kytke ylempi asennuslohkon letku ylempään napamoottorin liittimeen ja alempi asennuslohkon letku alempaan napamoottorin liittimeen (Kuva 7). Jos letkuja ei viedä oikein, ne saattavat osua renkaisiin tai renkaisiin tai takapuskuriin, mikä vaurioittaa letkuja.
Important: Älä laita hydrauliletkuja ristiin, kun ne viedään asennuslohkosta napamoottoreihin.

Toista toimenpide oikealle napamoottorille. Aseta letkut kuvan mukaisesti (Kuva 8) ja kiristä kaikki letkuliittimet.

Asenna takarenkaat uudelleen ja kiristä pyöränmutterit momenttiin 115–135 N·m.
Important: Tarkista letkujen vienti ja varmista, että välystä on riittävästi, kun akselia heilautetaan ja kun ohjauspyörä käännetään kokonaan oikealle tai vasemmalle. Renkaan ja akselin välinen vähimmäisvälys on 13 mm.
Vaiheeseen tarvittavat osat:
| Hydrauliputki, osanro 108-7624 | 1 |
| Hydrauliputki, osanro 108-7625 | 1 |
| Hydrauliputki, osanro 108-7626 | 1 |
| Liitinkappaleen lukkomutteri | 3 |
| Putkiliittimen puolikkaat | 2 |
| Kantaruuvi (5/16 × 1½ tuumaa) | 1 |
| Litteä aluslaatta, (.344 x .688) | 1 |
| Lukkomutteri (5/16 tuumaa) | 1 |
Vie hydrauliputki (osanro 108-7624) RF-merkitystä vasemmasta asennuslohkon liittimestä oikeaan reikään oikeassa rungon liitinkappaleen kannattimessa (Kuva 9).
Kiinnitä hydrauliputken takaosa asennuslohkon liittimeen ja etuosa liitinkappaleeseen liitinkappaleen lukkomutterilla (Kuva 9).
Vie hydrauliputki (osanro 108-7626) REV-merkitystä keskimmäisestä asennuslohkon liittimestä vasemmassa rungon liitinkappaleen kannattimessa olevaan reikään (Kuva 9).
Kiinnitä hydrauliputken takaosa asennuslohkon liittimeen ja etuosa liitinkappaleen kannattimeen liitinkappaleen lukkomutterilla.
Vie hydrauliputki (osanro 108-7625) LF-merkitystä oikeasta asennuslohkon liittimestä vasempaan reikään oikeassa rungon liitinkappaleen kannattimessa (Kuva 9).
Kiinnitä hydrauliputken takaosa asennuslohkon liittimeen ja etuosa liitinkappaleen kannattimeen liitinkappaleen lukkomutterilla.
Kiinnitä kaksi oikeanpuoleista liitinkappaleen putkea yhteen putkiliittimen puolikkailla, kantaruuvilla (5/16 × 1-1/2 tuumaa), litteällä aluslaatalla (0,344 × 0,688) ja lukkomutterilla (5/16 tuumaa) (Kuva 9).

Nosta yksikön etuosa ja tue se pukeilla.
Irrota pyöränmutterit, joilla pyöräkokoonpanot on kiinnitetty, ja irrota pyörät.
Irrota kantaruuvit ja mutterit, joilla pyörän suojukset on kiinnitetty etuakselin laippoihin (Kuva 10).
Irrota hydrauliputki etuvasemmalla olevan napamoottorin yläliittimestä ja etuoikealla olevan napamoottorin alaliittimestä (Kuva 10).
Irrota putken runkoon kiinnittävät R-liittimet (Kuva 10) ja jarruvaijerit hydrauliputkiin kiinnittävät nippusiteet.

Irrota vasemmanpuoleinen letku säätötilavuuspumpusta ja hydrauliputkesta (Kuva 10). Irrota myös 45 asteen liitin säätötilavuuspumpun pohjasta (Kuva 10).
Note: Oikeanpuoleinen letku voidaan myös irrottaa, sillä se helpottaa etuputken irrotusta ja asennusta. Se ei ole välttämätöntä, mutta voi olla avuksi tämän sarjan asennuksessa.
Vaiheeseen tarvittavat osat:
| Hydrauliputki, osanro 108-7622 | 1 |
| Hydrauliputki, osanro 108-7623 | 1 |
| Hydrauliliitin, 90° | 1 |
| Hydrauliletku | 1 |
| Nippuside | 3 |
Liitä hydrauliputki (osanro 108-7622) oikeaan napamoottoriliittimeen ja oikean rungon liitinkappaleen oikeaan hydrauliputkeen (Kuva 11).
Liitä hydrauliputki (osanro 108-7623) vasempaan napamoottoriliittimeen ja oikean rungon liitinkappaleen vasempaan hydrauliputkeen (Kuva 11).
Asenna 90 asteen hydrauliliitin säätötilavuuspumpun pohjaan (Kuva 11).
Liitä hydrauliletku vasemmanpuoleiseen pumpun liittimeen ja vasemman rungon liitinkappaleen hydrauliputkeen. Jos oikeanpuoleinen letku on irrotettu, liitä se tässä vaiheessa.
Kiinnitä hydrauliletku akkualustan pohjaan nippusiteellä (Kuva 11).
Asenna pyörän suojukset etuakselin laippoihin aiemmin irrotetuilla kantaruuveilla ja muttereilla (Kuva 10).
Kiinnitä jarruvaijerit hydrauliputkiin asentamalla nippusiteet.

Tarkista hydrauliputket ja -letkut vuotojen, löysien liitäntöjen, kiertyneiden letkujen ja löysien kiinnitystukien varalta. Tee tarvittavat korjaukset ennen koneen käyttämistä.
Note: Pidä hydraulijärjestelmän ympärillä olevat alueet puhtaina liasta ja ruohosta.
Paineella suihkuava hydraulineste voi läpäistä ihon ja aiheuttaa vammoja. Asiantuntijalääkärin on leikattava ihon sisään päässyt neste muutaman tunnin sisällä, jotta neste ei aiheuta kuoliota.
Pidä keho ja kädet kaukana vuotavista rei’istä ja suuttimista, joista suihkuaa korkeapaineista hydraulinestettä.
Etsi hydraulinestevuotoja pahvin tai paperin avulla.
Kiinnitä hydrauliputket koneen runkoon (Kuva 12) asentamalla aiemmin irrotetut R-liittimet kahdella ruuvilla ja kahdella lukkomutterilla.

Asenna eturenkaat aiemmin irrotetuilla kiinnitystarvikkeilla. Kiristä pyöränmutterit momenttiin 115–135 N·m.
Poista kone pukeilta ja laske yksikkö maahan.
Tarkista hydrauliöljyn määrä. Lisää nestettä tarvittaessa, kunnes sen taso ulottuu mittatikun Täynnä-merkkiin saakka. Lisätietoja on käyttöoppaassa.
Testaa vuodot konetta käyttämällä. Sammuta kone käyttöoppaassa määritetyllä tavalla ja tarkista hydraulijärjestelmä vuotojen varalta.
Tarkista hydrauliöljyn määrä vielä kerran. Lisää nestettä tarvittaessa, kunnes sen taso ulottuu mittatikun Täynnä-merkkiin saakka. Lisätietoja on käyttöoppaassa.
Vaiheeseen tarvittavat osat:
| Tarra | 2 |
| Tarra 110–8869, hengenvaara | 1 |
| Tarra 110–8973, CE-hengenvaara (vain Eurooppa) | 1 |
Asenna tarrat alla ilmoitettuihin paikkoihin seuraavalla tavalla.
Puhdista huolellisesti alue, johon tarra asennetaan.
Kostuta alue vedellä tai laimealla saippuavedellä.
Irrota tarra taustamateriaalista ja asenna se paikalleen.
Kiinnitä tarra vetolastan avulla käyttämällä päällekkäisiä vetoja keskeltä reunoihin päin.
Käytä kuvan mukaisia mittoja (Kuva 13) ja paikanna ja kiinnitä CROSSTRAX-tarra konepellin kaikkien sivujen alempaan takakulmaan.

Kiinnitä asianmukainen Hengenvaara-tarra kuljettajan tason olemassa olevan tarran päälle (Kuva 14):
Kiinnitä yhdysvaltalaisiin yksiköihin tarra 110-8869.
Kiinnitä (eurooppalaisiin) CE-yksiköihin tarra 110-89673.
