Dit product voldoet aan alle relevante Europese richtlijnen. Raadpleeg de inbouwverklaring achterin deze uitgave voor meer informatie.
Note: Deze set is, bij montage op Reelmaster tractie-eenheden uit de 5010-serie, gedekt door patentnr. 7.017.703.
Een omslaande tractie-eenheid kan leiden tot lichamelijk letsel.
Als u werkt met de machine, moet u altijd de rolbeugel en de veiligheidsgordel samen gebruiken.
![]() |
Veiligheidsstickers en veiligheidsinstructies zijn gemakkelijk zichtbaar voor de bestuurder en bevinden zich bij plaatsen waar gevaar kan ontstaan. Vervang alle beschadigde of verdwenen stickers. |


Parkeer de machine op een horizontaal oppervlak.
Stel de parkeerrem in werking.
Druk de aan-/uitschakelaar in de stand UITSCHAKELEN.
Zet de hoogtebediening van de maaier in de MAAIEN- stand.
Zet de motor af en haal het sleuteltje uit het contact.
Wacht totdat alle onderdelen tot stilstand zijn gekomen.
Laat de motor afkoelen.
Benodigde onderdelen voor deze stap:
| Wielmotor rechts | 1 |
| Wielmotor links | 1 |
| Hydraulische fitting, 45° | 4 |
| Bout (1/2 x 2-1/4 inch) | 8 |
| Borgring (1/2 inch) | 8 |
Krik de achterkant van de machine omhoog en plaats deze op steunen.
Verwijder de 5 wielmoeren waarmee de achterwielen bevestigd zijn aan de wielnaaf (Figuur 1). Verwijder de wielen.

Verwijder de 4 flensbouten waarmee de wielassen bevestigd zijn aan de wielmotorkasten (Figuur 1). Verwijder de wielassen. Het is niet nodig om de wielnaaf van de as te nemen.
Monteer twee hydraulische fittings van 45° op de wielmotoren (Figuur 2). Zorg ervoor dat de fittings recht naar achteren gericht zijn.
Note: Zorg ervoor dat de O-ringen vóór de montage zijn gesmeerd en op de aansluitingen zijn geplaatst.

Bepaal welke wielmotor links en welke rechts hoort. De wielmotor voor de rechterkant van de machine is herkenbaar aan de groeven in het buitenvlak van de motorbehuizing. In geval van twijfel: op de behuizing van de linkermotor is een geel stickertje of verfmarkering aangebracht.
Monteer de juiste wielmotor op de wielmotorkasten. Gebruik hierbij 4 bouten (1/2 x 2-1/4 inch) en borgringen (1/2 inch) (Figuur 3). Draai de bouten vast met een torsie van 95-108 N·m.

Benodigde onderdelen voor deze stap:
| Verdeelstuk | 1 |
| Rechte hydraulische fitting | 7 |
| Diagnostische fitting | 2 |
| Stofkap | 2 |
| Bout (3/8 x 1-3/4 inch) | 33 |
| Borgring (3/8 inch) | 33 |
| Afstandsstuk | 33 |
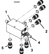
Plaats 4 rechte hydraulische fittings op de achterkant van het verdeelstuk (Figuur 4).

Monteer 2 diagnostische fittings en stofkappen aan beide kanten van het verdeelstuk (Figuur 4).
Sluit 3 rechte hydraulische fittings aan op de onderkant van het verdeelstuk (Figuur 4).
Monteer het verdeelstuk onderaan de beugel van het verdeelstuk. Gebruik hierbij 3 bouten (3/8 x 1-3/4 inches), borgringen (3/8 inch) en afstandsstukken. Plaats de afstandsstukken tussen de beugel van het verdeelstuk en de bovenkant van het verdeelstuk. Plaats het verdeelstuk zo dat de fittings naar achteren en omlaag wijzen (Figuur 5).
Note: Zorg ervoor dat de O-ringen vóór de montage zijn gesmeerd en op de aansluitingen zijn geplaatst.

Benodigde onderdelen voor deze stap:
| Hydraulische slang | 4 |
Schroef de hydraulische slangen met het 45°-fittingeinde op de rechte fittingen aan de achterzijde van het verdeelstuk (Figuur 6).

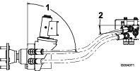
Leid de 2 linkerslangen naar de linkerwielmotor. Sluit de bovenste slang van het verdeelstuk aan op de bovenste wielmotorfitting en de onderste slang van het verdeelstuk op de onderste wielmotorfitting (Figuur 7). Als u de slangen niet naar behoren aanbrengt, kunnen ze de banden of de achterste bumper raken, wat de slangen zal beschadigen.
Important: De hydraulische slangen niet kruisen tussen het verdeelstuk en de wielmotoren.

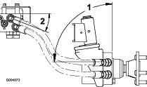
Herhaal de procedure voor de rechterwielmotor. Plaats de slangen zoals wordt getoond in Figuur 8 en draai alle slangfittings vast.

Zet de achterbanden terug op hun plaats en draai de wielmoeren aan met een torsie van 115 tot 135 N·m.
Important: Controleer of er genoeg vrije ruimte is tussen de slangen en de as als deze heen en weer beweegt en als het stuur helemaal naar links en rechts gedraaid is. Er moet minstens 13 mm vrije ruimte zijn tussen de band en de as.
Benodigde onderdelen voor deze stap:
| Hydraulische buis, onderdeelnr. 108-7624 | 1 |
| Hydraulische buis, onderdeelnr. 108-7625 | 1 |
| Hydraulische buis, onderdeelnr. 108-7626 | 1 |
| Borgmoer van schot | 33 |
| Halve buisklemmen | 2 |
| Inbusbout (5/16" x 1½") | 1 |
| Platte ring (0,344 x 0,688 inch) | 1 |
| Borgmoer (5/16") | 1 |
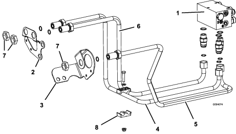
Leid de hydraulische buis (onderdeelnr. 108-7624) van de linkerfitting van het verdeelstuk (met aanduiding 'RF') naar de rechteropening in de beugel van het rechterframeschot (Figuur 9).
Bevestig de achterkant van de hydraulische buis aan de fitting van het verdeelstuk, en de voorkant aan de beugel van het schot; gebruik hierbij een schotborgmoer (Figuur 9).
Leid de hydraulische buis (onderdeelnr. 108-7626) van de middelste fitting van het verdeelstuk (met aanduiding 'REV') naar de opening in de beugel van het linkerframeschot (Figuur 9).
Bevestig de achterkant van de hydraulische buis aan de fitting van het verdeelstuk, en de voorkant aan de beugel van het schot; gebruik hierbij een schotborgmoer.
Leid de hydraulische buis (onderdeelnr. 108-7625) van de rechterfitting van het verdeelstuk (met aanduiding 'LF') naar de linkeropening in de beugel van het rechterframeschot (Figuur 9).
Bevestig de achterkant van de hydraulische buis aan de fitting van het verdeelstuk, en de voorkant aan de beugel van het schot; gebruik hierbij een schotborgmoer.
Bevestig de 2 rechterbuizen van het schot aan elkaar met de halve buisklemmen, inbusbout (5/16" x 1½"), platte ring (0,344 x 0,688 inch) en een borgmoer (5/16") (Figuur 9).

Breng de voorkant van de eenheid van de grond en plaats deze op assteunen.
Verwijder de wielmoeren waarmee de wielen bevestigd zijn en verwijder de wielen.
Verwijder de inbusbouten en moeren waarmee de wielkappen aan de flenzen van de vooras zijn bevestigd (Figuur 10).
Maak de hydraulische buis los van de bovenste fitting van de wielmotor links vooraan, en de onderste fitting van de wielmotor rechts vooraan (Figuur 10).
Verwijder de R-klemmen waarmee de buis aan het frame is bevestigd (Figuur 10) en de kabelbinders waarmee de remkabels vastzitten aan de hydraulische slangen.

Maak de linkerslang los van de regelbare pomp en de hydraulische buis (Figuur 10). Maak ook de 45°-fitting los van de onderkant van de regelbare pomp (Figuur 10).
Note: U kunt ook de rechterslang verwijderen zodat er meer ruimte is om de voorste buis te verwijderen en te monteren. Dit is niet noodzakelijk, maar het kan de montage van deze set gemakkelijker maken.
Benodigde onderdelen voor deze stap:
| Hydraulische buis, onderdeelnr. 108-7622 | 1 |
| Hydraulische buis, onderdeelnr. 108-7623 | 1 |
| Hydraulische fitting, 90° | 1 |
| Hydraulische slang | 1 |
| Kabelbinder | 33 |
Koppel de hydraulische buis (onderdeelnr. 108-7622) aan op de fitting van de rechterwielmotor en op de rechter hydraulische buis in het rechterframeschot (Figuur 11).
Koppel de hydraulische buis (onderdeelnr. 108-7623) aan op de fitting van de linkerwielmotor en op de linker hydraulische buis in het rechterframeschot (Figuur 11).
Monteer een hydraulische fitting van 90° op de onderkant van de regelbare pomp (Figuur 11).
Sluit de hydraulische slang aan op de linkerpompfitting en op de hydraulische buis van het linkerframeschot. Als u de rechterslang verwijderd had, dient u deze nu aan te koppelen.
Bevestig de hydraulische slang met een kabelbinder aan de onderkant van de accubak (Figuur 11).
Monteer de wielkappen op de flenzen van de vooras; gebruik hierbij de inbusbouten en moeren die u eerder verwijderd hebt (Figuur 10).
Breng de kabelbinders aan om de remkabels te bevestigen aan de hydraulische buizen.

Controleer de hydraulische buizen en slangen op lekkages, losgeraakte fittings, kinken en loszittende steunen. Voer alle noodzakelijke reparaties uit voordat u de machine weer in gebruik neemt.
Note: Houd de omgeving van het hydraulische systeem vrij van aangekoekt gras en vuil.
Hydraulische vloeistof die onder druk ontsnapt, kan door de huid heen dringen en letsel veroorzaken. Vloeistof die per ongeluk in de huid is geïnjecteerd, dient binnen enkele uren operatief te worden verwijderd door een arts die bekend is met deze vorm van verwondingen, omdat anders gangreen kan ontstaan.
Houd lichaam en handen uit de buurt van kleine lekgaten of spuitmonden waaruit onder hoge druk hydraulische vloeistof ontsnapt.
U kunt lekken in het hydraulische systeem opsporen met behulp van karton of papier.
Monteer de R-klemmen die u eerder verwijderd hebt met 2 schroeven en borgmoeren. Zo bevestigt u de hydraulische buizen aan het machineframe; zie Figuur 12.

Breng de voorwielen aan met het bevestigingsmateriaal dat u eerder verwijderd hebt. Draai de wielmoeren vast met een torsie van 115 tot 135 N·m.
Haal de assteunen weg onder de machine en laat de eenheid neer op de grond.
Controleer het peil van de hydraulische olie. Voeg indien nodig vloeistof toe tot het peil tot de 'vol'-markering op de peilstok reikt. Raadpleeg de Gebruikershandleiding voor meer informatie.
Stel de machine in werking om op lekkage te controleren. Schakel de machine uit zoals beschreven in de Gebruikershandleiding en controleer op lekkages in het hydraulische systeem.
Controleer nogmaals het peil van de hydraulische olie. Voeg indien nodig vloeistof toe tot het peil tot de 'vol'-markering op de peilstok reikt. Raadpleeg de Gebruikershandleiding voor meer informatie.
Benodigde onderdelen voor deze stap:
| Sticker | 2 |
| Sticker 110-8869, gevaar | 1 |
| Sticker 110-8973, gevaar (CE-conform, alleen Europa) | 1 |
Breng de stickers als volgt aan op de hieronder beschreven plaatsen:
Reinig het gebied waar u de sticker gaat aanbrengen grondig.
Bevochtig het gebied met water of met water en een milde zeep.
Trek de sticker los en breng deze op de juiste plaats aan.
Wrijf over het oppervlak van de sticker, begin in het midden en werk met overlappende bewegingen naar de randen toe.
Gebruik de afmetingen in Figuur 13 om zowel links als rechts achteraan in de hoek van de motorkap een CROSSTRAX-sticker aan te brengen.

Breng de juiste gevaarsticker aan over de oude sticker op het bestuurdersplatform (Figuur 14):
Voor eenheden in de VS sticker 110-8869 gebruiken.
Voor CE-conformiteit (Europa) sticker 110-89673 gebruiken.
