Данное изделие отвечает требованиям всех соответствующих европейских директив. Дополнительные сведения см. в «Декларации о соответствии компонентов (DOI)» в конце данной публикации.
Note: Данный комплект при установке на тяговых блоках Reelmaster серии 5010 защищен патентом №7 017 703.
При опрокидывании данного тягового блока возможно получение травм оператором.
При эксплуатации машины всегда пристегивайтесь ремнем безопасности и пользуйтесь системой защиты оператора при опрокидывании (ROPS).
![]() |
Предупреждающие наклейки и инструкции по технике безопасности должны быть хорошо видны оператору и установлены во всех местах потенциальной опасности. При отсутствии или повреждении наклейки следует установить новую наклейку. |


Установите машину на ровной поверхности.
Включите стояночный тормоз.
Нажмите на двухпозиционный переключатель «включено/выключено», чтобы установить его в положение ВЫКЛЮЧЕНО.
Переведите рычаг управления опусканием для скашивания/подъемом блоков в положение СКАШИВАНИЕ.
Выключите двигатель и извлеките ключ.
Дождитесь остановки всех движущихся частей.
Дайте двигателю остыть.
Детали, требуемые для этой процедуры:
| Привод правого колеса | 1 |
| Привод левого колеса | 1 |
| Гидравлический штуцер, 45° | 4 |
| Болт (1/2 x 2-1/4 дюйма) | 8 |
| Стопорная шайба (1/2 дюйма) | 8 |
Поднимите заднюю часть машины и зафиксируйте ее с помощью подъемных опор.
Снимите 5 зажимных гаек, которые крепят каждое заднее колесо к ступице вала колеса (Рисунок 1). Снимите колеса.

Отверните 4 фланцевых болта, которые крепят каждый вал колеса к каждой колесной арке (Рисунок 1). Снимите валы колес. Ступицу колеса не нужно снимать с вала.
Установите два 45-градусных гидравлических штуцера на каждый привод колеса в сборе (Рисунок 2). Расположите штуцеры так, чтобы они были направлены строго назад.
Note: Убедитесь, что перед установкой уплотнительные кольца смазаны и правильно расположены на всех штуцерах.

Определите левый и правый приводы колес. Привод правого колеса машины обозначен маркировочными пазами на наружной поверхности корпуса привода. Для дополнительной проверки привод левого колеса можно определить по небольшой желтой наклейке или отметке краской на корпусе привода.
Установите соответствующий привод колеса в сборе в каждую колесную арку, закрепив 4 болтами (1/2 x 2-1/4 дюйма) и стопорными шайбами (1/2 дюйма) (Рисунок 3). Затяните болты с моментом от 95 до 108 Н•м.

Детали, требуемые для этой процедуры:
| Коллектор | 1 |
| Гидравлический штуцер, прямой | 7 |
| Диагностический штуцер | 2 |
| Пылезащитный колпачок | 2 |
| Болт (3/8 x 1-3/4 дюйма) | 3 |
| Стопорная шайба (3/8 дюйма) | 3 |
| Проставка | 3 |
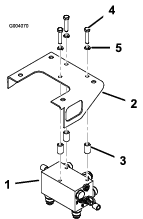
Установите 4 прямых гидравлических штуцера на заднюю стенку коллектора (Рисунок 4).

Установите 2 диагностических штуцера с каждой стороны коллектора вместе с пылезащитными колпачками (Рисунок 4).
Установите 3 прямых гидравлических штуцера на нижнюю часть коллектора (Рисунок 4).
Прикрепите коллектор в сборе к нижней стороне кронштейна коллектора 3 болтами (3/8 x 1-3/4 дюйма), стопорными шайбами (3/8 дюйма) и проставками. Расположите проставки между кронштейном коллектора и верхней частью коллектора. Коллектор должен быть расположен так, чтобы штуцеры были направлены назад и вниз (Рисунок 5).
Note: Убедитесь, что перед установкой уплотнительные кольца смазаны и правильно расположены на всех штуцерах.

Детали, требуемые для этой процедуры:
| Гидравлический шланг | 4 |
Наверните, не затягивая, 45-градусный штуцер каждого гидравлического шланга на прямые штуцеры в задней части коллектора (Рисунок 6).

Направьте два левых шланга к левому приводу колеса. Подсоедините верхний шланг коллектора к верхнему штуцеру привода колеса, а нижний шланг коллектора – к нижнему штуцеру привода колеса (Рисунок 7). Если шланги не будут проложены правильно, они могут соприкасаться с шинами или задним бампером, что может привести к повреждению шлангов.
Important: Не допускайте пересечения гидравлических шлангов между собой при их прокладке от коллектора к приводам колес.

Повторите эту процедуру для правого привода колеса. Расположите шланги, как показано на Рисунок 8, и затяните все штуцеры шлангов.

Установите задние колеса и затяните зажимные гайки с моментом от 115 до 135 Н•м.
Important: Проверьте прокладку кабелей и убедитесь, что имеющийся зазор достаточен, чтобы не повредить шланги при колебании моста и повороте рулевого колеса в крайнее правое и в крайнее левое положение. Минимальный зазор между шиной и мостом должен быть 13 мм.
Детали, требуемые для этой процедуры:
| Гидравлический патрубок, № по каталогу 108-7624 | 1 |
| Гидравлический патрубок, № по каталогу 108-7625 | 1 |
| Гидравлический патрубок, № по каталогу 108-7626 | 1 |
| Контргайка перегородки | 3 |
| Двойной половинчатый зажим | 2 |
| Винт с головкой (5/16 x 1–1/2 дюйма) | 1 |
| Плоская шайба (0.344 x 0.688) | 1 |
| Контргайка (5/16 дюйма) | 1 |
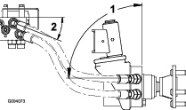
Проложите гидравлический патрубок, № по кат. 108-7624, от левого штуцера коллектора, обозначенного "RF", к правому отверстию в правом кронштейне перегородки рамы (Рисунок 9).
Закрепите заднюю часть гидравлического патрубка на штуцере коллектора и переднюю часть – на кронштейне перегородки с помощью контргайки перегородки (Рисунок 9).
Проложите гидравлический патрубок, № по кат. 108-7626, от среднего штуцера коллектора, обозначенного "REV", к отверстию в левом кронштейне перегородки рамы (Рисунок 9).
Закрепите заднюю часть гидравлического патрубка на штуцере коллектора и переднюю часть – на кронштейне перегородки с помощью контргайки перегородки.
Проложите гидравлический патрубок, № по кат. 108-7625, от правого штуцера коллектора, обозначенного "LF", к левому отверстию в правом кронштейне перегородки рамы (Рисунок 9).
Закрепите заднюю часть гидравлического патрубка на штуцере коллектора и переднюю часть – на кронштейне перегородки с помощью контргайки перегородки.
Закрепите вместе оба правых гидравлических патрубка с помощью двойного половинчатого зажима, винта с головкой (5/16 x 1-1/2 дюйма), плоской шайбы (0,344 x 0,688) и контргайки (5/16 дюйма) (Рисунок 9).

Поднимите переднюю часть блока и зафиксируйте ее с помощью подъемных опор.
Снимите зажимные гайки, которыми крепятся колеса в сборе, и снимите колеса.
Открутите винты с головкой и гайки, которыми крепятся грязезащитные щитки колес к передним фланцам оси (Рисунок 10).
Отсоедините гидравлический патрубок от верхнего штуцера на переднем левом приводе колеса, а также от нижнего штуцера на переднем правом приводе колеса (Рисунок 10).
Снимите R-образные хомуты, которые крепят патрубок к раме (Рисунок 10), а также кабельные стяжки, которые крепят тормозные тросы к гидравлическим патрубкам.

Отсоедините левый шланг от насоса с переменной производительностью и гидравлического патрубка (Рисунок 10). Также снимите 45-градусный штуцер с нижней части насоса с переменной производительностью (Рисунок 10).
Note: Правый шланг также можно снять, чтобы увеличить доступ для снятия и установки переднего патрубка. Это не является необходимым, но поможет при установке данного комплекта.
Детали, требуемые для этой процедуры:
| Гидравлический патрубок, № по каталогу 108-7622 | 1 |
| Гидравлический патрубок, № по каталогу 108-7623 | 1 |
| Гидравлический штуцер, 90° | 1 |
| Гидравлический шланг | 1 |
| Кабельная стяжка | 3 |
Подсоедините гидравлический патрубок, № по кат. 108-7622, к штуцеру правого привода и к правому гидравлическому патрубку в правой перегородке рамы (Рисунок 11).
Подсоедините гидравлический патрубок, № по кат. 108-7623, к штуцеру левого привода и к левому гидравлическому патрубку в правой перегородке рамы (Рисунок 11).
Установите 90-градусный гидравлический штуцер в нижней части насоса с переменной производительностью (Рисунок 11).
Подсоедините гидравлический шланг к левому штуцеру насоса и к гидравлическому патрубку в левой перегородке рамы. Если правый шланг был снят, подсоедините его на данном этапе.
Прикрепите гидравлический шланг к нижней части поддона аккумуляторной батареи с помощью кабельной стяжки (Рисунок 11).
Установите грязезащитные щитки колес на фланцы переднего моста с помощью снятых ранее винтов с головкой и гаек (Рисунок 10).
Установите кабельные стяжки для крепления тормозных тросов к гидравлическим патрубкам.

Проверьте гидравлические патрубки и шланги на целостность, закрепление штуцеров, отсутствие перекручивания труб и ослабления монтажных опор. Перед вводом в эксплуатацию произведите необходимый ремонт.
Note: Содержите пространство вокруг гидравлической системы в чистоте и не допускайте накопления в нем травы и мусора.
Гидравлическая жидкость, выброшенная под давлением, может травмировать кожные покровы. Если жидкость травмировала кожу, ее следует удалить хирургическим путем в течение нескольких часов опытным врачом во избежание развития гангрены.
Не приближайтесь к местам точечных протечек или штуцерам, где существует опасность выброса гидравлической жидкости под высоким давлением.
Для обнаружения гидравлических протечек используйте картон или бумагу.
Установите снятые ранее R-образные хомуты с помощью 2 винтов и контргаек, чтобы прикрепить гидравлические патрубки к раме машины, как показано на Рисунок 12.

Установите передние колеса, используя снятые ранее крепежные детали. Затяните зажимные гайки с моментом 115-135 Н•м.
Снимите машину с подъемных опор и опустите на пол.
Проверьте уровень гидравлической жидкости. Если необходимо, долейте рабочую жидкость, чтобы довести ее уровень до отметки «Полный» на измерительном щупе. Для получения дополнительной информации см. Руководство для оператора.
Включите машину и дайте ей поработать для проверки на протечки. Остановите машину, как описано в Руководстве оператора, и проверьте гидравлическую систему на протечки.
Проверьте уровень гидравлического масла еще раз. Если необходимо, долейте рабочую жидкость, чтобы довести ее уровень до отметки «Полный» на измерительном щупе. Для получения дополнительной информации см. Руководство для оператора.
Детали, требуемые для этой процедуры:
| Наклейка | 2 |
| Табличка 110–8869, предупреждение об опасности | 1 |
| Табличка 110–8973, предупреждение об опасности по стандарту ЕC (только для Европы) | 1 |
Прикрепите таблички в местах, показанных ниже, следующим образом:
Тщательно очистите поверхность, на которую вы будете приклеивать табличку.
Смочите поверхность водой или слабым мыльным раствором.
Отделите табличку от подложки и приложите ее к поверхности.
Прокатайте резиновым валиком по поверхности таблички в направлении от центра к краям, постепенно сдвигая валик.
Используя размеры, указанные в Рисунок 13, найдите и прикрепите табличку CROSSTRAX к нижнему заднему углу с каждой стороны капота.

Наложите соответствующую табличку с предупреждением об опасности поверх существующей таблички на платформе оператора (Рисунок 14):
Для бытовых устройств используйте табличку 110-8869.
Для устройств в странах ЕС (Европейских) используйте табличку 110-89673.
