Dette produktet er i samsvar med alle relevante europeiske direktiver. Hvis du vil ha mer informasjon, kan du se sammenstillingserklæringen (DOI) på baksiden av denne publikasjonen.
Note: Dette settet, når det er installert på Reelmaster-trekkenheter i 5010-serien, dekkes av patentnr. 7 017 703.
Hvis trekkenheten velter, kan det føre til personskade.
Bruk alltid både sikkerhetsbelte og veltebeskyttelse når du bruker maskinen.
![]() |
Sikkerhetsmerker og instruksjoner er lett synlige for føreren og er plassert i nærheten av alle områder som representerer en potensiell fare. Bytt ut alle merker som er ødelagte eller mangler. |


Parker maskinen på en jevn flate.
Sett på parkeringsbremsen.
Trykk aktiver/deaktiver-bryteren i KOBLE FRA-posisjonen.
Flytt den nedre klippe-/hevekontrollen til KLIPP-posisjon.
Slå av motoren og ta ut nøkkelen.
Vent til alle delene slutter å bevege seg.
La motoren kjøle seg ned.
Deler som er nødvendige for dette trinnet:
| Høyre hjulmotor | 1 |
| Venstre hjulmotor | 1 |
| Hydraulikkobling, 45° | 4 |
| Bolt (1/2 x 2 1/4 tomme) | 8 |
| Låseskive (1/2 tomme) | 8 |
Jekk opp bakenden på maskinen og støtt den opp med jekkstøtter.
Fjern de fem hakemutrene som fester hvert bakdekk til hjulspindelnavet (Figur 1). Fjern dekkene.

Fjern de fire flensboltene som fester hver hjulspindel til hvert hjulmotorhus (Figur 1). Fjern hjulspindlene. Hjulnavet må ikke fjernes fra spindelen.
Monter to 45°-hydraulikkoblinger på hver hjulmotorenhet (Figur 2). Plasser koblingene slik at de peker rett bakover.
Note: Påse at O-ringene er smurt og korrekt plassert på alle koblingene før montering.

Identifiser venstre og høyre hjulmotorer. Hjulmotoren for høyre side av maskinen identifiseres med spor i den ytre overflaten av motorhuset. Venstre motor kan identifiseres med et lite gult klistremerke eller et malingsmerke på motorhuset for ytterligere verifisering.
Monter de respektive hjulmotorenhetene til hvert hjulmotorhus med fire bolter (1/2 x 2 1/4 tomme) og låseskiver (1/2 tomme) (Figur 3). Trekk til boltene med et moment på 95–108 N⋅m.

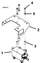
Deler som er nødvendige for dette trinnet:
| Manifold | 1 |
| Hydraulikkobling, rett | 7 |
| Diagnosekobling | 2 |
| Støvhette | 2 |
| Bolt (3/8 x 1 3/4 tommer) | 3 |
| Låseskive (3/8 tomme) | 3 |
| Avstandsstykke | 3 |
Monter fire rette hydraulikkoblinger bak på manifolden (Figur 4).

Monter to diagnosekoblinger på hver side av manifolden sammen med støvhetter (Figur 4).
Monter tre rette hydraulikkoblinger under på manifolden (Figur 4).
Monter manifoldenheten til undersiden av manifoldbraketten med tre bolter (3/8 x 1 3/4 tomme), låseskiver (3/8 tomme) og avstandsstykker. Plasser avstandsstykkene mellom manifoldbraketten og toppen av manifolden. Manifolden skal plasseres slik at koblingene peker bak og ned (Figur 5).
Note: Påse at O-ringene er smurt og korrekt plassert på alle koblingene før montering.

Deler som er nødvendige for dette trinnet:
| Hydraulikkslange | 4 |
Tre 45°-koblingsenden på hver hydraulikkslange løst på de rette koblingene bak på manifolden (Figur 6).

Før de to venstre slangene til venstre hjulmotor. Koble øvre manifoldslange til øvre hjulmotorkobling og nedre manifoldslange til nedre hjulmotorkobling (Figur 7). Hvis slangene ikke føres korrekt, kan de komme i kontakt med dekkene eller bakre støtfanger som kan skade slangene.
Important: Ikke kryss hydraulikkslangene når de føres fra manifolden til hjulmotorene.

Gjenta prosedyren på høyre hjulmotor. Plasser slangene som vist i Figur 8 og stram til alle slangekoblingene.

Sett de bakre dekkene på plass igjen og trekk til hakemutrene til 115–135 N⋅m.
Important: Kontroller slangeføringen for å sikre at det er korrekt klaring når akselen pendler og når rattet brukes i fullstendig høyre og venstre svinging. Minimum klaring mellom dekk og aksel skal være 13 mm.
Deler som er nødvendige for dette trinnet:
| Hydraulisk rør, delenr. 108-7624 | 1 |
| Hydraulisk rør, delenr. 108-7625 | 1 |
| Hydraulisk rør, delenr. 108-7626 | 1 |
| Skillevegglåsemutter | 3 |
| Halve rørklemmer | 2 |
| Hodeskrue (5/16 x 1 1/2 tommer) | 1 |
| Flat skive (0,344 x 0,688) | 1 |
| Låsemutter (5/16 tomme) | 1 |
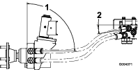
Før det hydrauliske røret, delenr. 108-7624, fra venstre manifoldkobling merket «RF», til høyre hull i høyre ramme av skilleveggbraketten (Figur 9).
Fest bakre del av det hydrauliske røret til manifoldkoblingen og fremre del til skilleveggbraketten med en skillevegglåsemutter (Figur 9).
Før det hydrauliske røret, delenr. 108-7626, fra midtre manifoldkobling merket «REV», til hullet i venstre ramme av skilleveggbraketten (Figur 9).
Fest bakre del av det hydrauliske røret til manifoldkoblingen og fremre del til skilleveggbraketten med en skillevegglåsemutter.
Før det hydrauliske røret, delenr. 108-7625, fra høyre manifoldkobling merket «LF», til venstre hull i høyre ramme av skilleveggbraketten (Figur 9).
Fest bakre del av det hydrauliske røret til manifoldkoblingen og fremre del til skilleveggbraketten med en skillevegglåsemutter.
Fest de to høyre skilleveggledningene sammen med halve rørklemmer, hodeskrue (5/16 x 1 1/2 tommer), flat skive (0,344 x 0,688) og en låsemutter (5/16 tomme) (Figur 9).

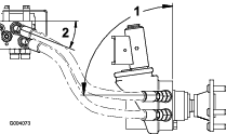
Hev den fremre enden av enheten og støtt den på jekkstøtter.
Fjern hakemutrene som fester hjulenhetene og fjern hjulene.
Fjern hodeskruene og mutrene som holder fast hjulskyddene til de fremre akselflensene (Figur 10).
Koble det hydrauliske røret fra den øverste koblingen på fremre venstre hjulmotor og den nederste koblingen på fremre høyre hjulmotor (Figur 10).
Ta ut R-klemmene som fester røret til rammen (Figur 10) og kabelfestene som fester bremsekablene til de hydrauliske rørene.

Koble fra den venstre slangen fra den regulerbare pumpen og det hydrauliske røret (Figur 10). Fjern også 45°-koblingen fra bunnen av den regulerbare pumpen (Figur 10).
Note: Den høyre slangen kan også fjernes for å forbedre klaring for fjerning og installasjon av frontrøret. Dette er ikke nødvendig, men kan gjør det lettere å montere dette settet.
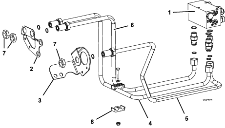
Deler som er nødvendige for dette trinnet:
| Hydraulisk rør, delenr. 108-7622 | 1 |
| Hydraulisk rør, delenr. 108-7623 | 1 |
| Hydraulikkobling, 90° | 1 |
| Hydraulikkslange | 1 |
| Kabelfeste | 3 |
Koble det hydrauliske røret, delenr. 108-7622, til høyre hjulmotorkobling og til det høyre hydrauliske røret i høyre ramme av skilleveggen (Figur 11).
Koble det hydrauliske røret, delenr. 108–7623, til venstre hjulmotorkobling og til det venstre hydrauliske røret i høyre ramme av skilleveggen (Figur 11).
Monter en 90°-hydraulikkobling i bunnen av den regulerbare pumpen (Figur 11).
Koble hydraulikkslangen til venstre pumpekobling og til det hydrauliske røret i venstre ramme av skilleveggen. Hvis høyre slange ble fjernet, kobler du den til nå.
Fest hydraulikkslangen til bunnen av batteriholderen med et kabelfeste (Figur 11).
Monter hjulskyddene på de fremre akselflensene med hodeskruene og mutrene som ble fjernet tidligere (Figur 10).
Monter kabelfestene for å feste bremsekablene til de hydrauliske rørene.

Kontroller hydrauliske rør og slanger for lekkasjer, løse fester, knekte ledninger og løse monteringsstøtter. Foreta nødvendige reparasjoner før bruk.
Note: Hold områdene rundt det hydrauliske systemet rent for oppsamling av fremmedlegemer.
Hydraulisk væske som kommer ut under trykk, kan trenge gjennom huden og forårsake personskader. Væske som sprøytes inn under huden, må fjernes kirurgisk innen noen få timer av en doktor med kjennskap til denne typen skader, ellers kan dette resultere i koldbrann.
Hold kropp og hender borte fra hull eller dyser som sprøyter ut hydraulisk væske under høyt trykk.
Bruk kartong eller papir til å finne lekkasjer.
Monter R-klemmene, som tidligere ble fjernet, med 2 skruer og låsemuttere for å feste de hydrauliske rørene til maskinrammen som vist i Figur 12.

Monter fronthjulene med festene som du fjernet tidligere. Trekk til hakemutrene med et moment på 115–135 N⋅m.
Ta maskinen av jekkstøttene, og senk enheten ned på gulvet.
Kontroller nivået på den hydrauliske oljen. Tilsett væske til nivået når opp til full-merket på peilestaven, hvis det er nødvendig. Les i brukerhåndboken for å få ytterligere informasjon.
Bruk maskinen for å se etter lekkasjer. Slå av maskinen som spesifisert i brukerhåndboken og se etter lekkasjer i det hydrauliske systemet.
Kontroller nivået på den hydrauliske oljen én gang til. Tilsett væske til nivået når opp til full-merket på peilestaven, hvis det er nødvendig. Les i brukerhåndboken for å få ytterligere informasjon.
Deler som er nødvendige for dette trinnet:
| Merke | 2 |
| Merke 110–8869, fare | 1 |
| Merke 110–8973, CE fare (kun Europa) | 1 |
Sett hvert merke på plasseringene nedenfor på følgende måte:
Rengjør stedet du vil feste merket tydelig.
Fukt området med rent vann eller vann med litt såpe i.
Skrell merket av bakstykket og sett det på plass.
Stryk over merket med en gummilist. Start i midten av merket og arbeid utover mot kantene med overlappende strøk.
Ved å bruke dimensjonene som vises i Figur 13, finn og fest et CROSSTRAX-merke på hjørnet nederst bak på hver side av panseret.

Fest det korrekte faremerket over det eksisterende merket på førerplattformen (Figur 14).
For enheter i USA, bruk merke 110-8869.
For CE-enheter (Europa), bruk merke 110-89673.
