Denna produkt uppfyller alla relevanta europeiska direktiv. Mer information finns i försäkran om inbyggnad i slutet av det här dokumentet.
Note: Den här satsen omfattas av patent 7,017,703 när den är monterad på traktorenheten Reelmaster 5010-serien.
Kroppsskador kan inträffa om traktorenheten rullar över.
När maskinen körs ska säkerhetsbältet och överrullningsskyddet alltid användas tillsammans.
![]() |
Säkerhetsdekalerna och anvisningarna är fullt synliga för föraren och finns nära alla potentiella farozoner. Ersätt dekaler som har skadats eller saknas. |


Parkera maskinen på en plan yta.
Koppla in parkeringsbromsen.
Sätt strömbrytaren för inkoppling/urkoppling i det URKOPPLADE läget.
Flytta styrspaken för att sänka/höja klippenheterna till KLIPPLÄGET.
Stäng av motorn och ta ut nyckeln.
Vänta tills alla rörliga delar har stannat.
Låt motorn svalna.
Delar som behövs till detta steg:
| Höger hjulmotor | 1 |
| Vänster hjulmotor | 1 |
| Hydraulkoppling, 45° | 4 |
| Bult (1/2 x 2 1/4 tum) | 8 |
| Låsbricka (1/2 tum) | 8 |
Höj upp den bakre delen av maskinen och stötta med domkrafter.
Ta bort de fem hjulmuttrarna som håller fast bakhjulen vid hjulspindelnavet (Figur 1). Ta av däcken.

Ta bort de fyra flänsbultarna som håller fast hjulspindlarna mot hjulmotorhuset (Figur 1). Ta bort hjulspindlarna. Du behöver inte ta bort hjulhuset från spindeln.
Montera två 45-gradershydraulkopplingar i varje hjulmotorenhet (Figur 2). Placera kopplingarna så att de pekar rakt bakåt.
Note: Kontrollera att o-ringarna har smorts och placerats korrekt på kopplingarna före monteringen.

Identifiera vänster och höger hjulmotor. Hjulmotorn på maskinens högra sida har identifieringsskåror på utsidan av motorhuset. Motorn på vänster sida har en liten gul dekal eller markering på motorhuset.
Montera hjulmotorenheterna på hjulmotorhusen med fyra bultar (½ x 2 ¼ tum) och låsbrickor (½ tum) (Figur 3). Dra åt bultarna till 95–108 Nm.

Delar som behövs till detta steg:
| Grenrör | 1 |
| Hydraulkoppling, rak | 7 |
| Diagnoskoppling | 2 |
| Dammkåpa | 2 |
| Bult (3/8 x 1 3/4 tum) | 3 |
| Låsbricka (3/8 tum) | 3 |
| Distansbricka | 3 |
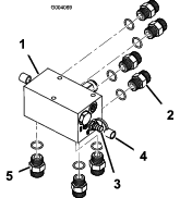
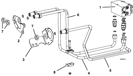
Montera fyra raka hydraulkopplingar på grenrörets bakre del (Figur 4).

Montera två diagnoskopplingar på var sida om grenröret med dammkåpor (Figur 4).
Montera tre raka hydraulkopplingar på grenrörets undre del (Figur 4).
Montera grenrörsenheten på undersidan av grenrörsfästet med tre bultar (3/8 x 1 3/4 tum), låsbrickor (3/8 tum) och distansbrickor. Placera distansbrickorna mellan grenrörsfästet och grenrörets övre del. Grenröret ska placeras så att kopplingarna pekar bakåt och nedåt (Figur 5).
Note: Kontrollera att o-ringarna har smorts och placerats korrekt på kopplingarna före monteringen.

Delar som behövs till detta steg:
| Hydraulslang | 4 |
Gänga 45-graderskopplingsänden på varje hydraulslang löst på de raka kopplingarna på fördelarens baksida (Figur 6).

Dra de två vänsterslangarna till vänster hjulmotor. Anslut den övre grenrörsslangen till den övre hjulmotorkopplingen och den undre grenrörsslangen till den undre hjulmotorkopplingen (Figur 7). Om slangarna inte dras korrekt kan de komma i kontakt med däcken eller den bakre stötdämparen och skadas.
Important: Korsa inte hydraulslangarna när du drar dem från grenröret till hjulmotorerna.

Upprepa proceduren för höger hjulmotor. Placera slangarna som i Figur 8 och dra åt alla slangkopplingar.

Montera bakdäcken på nytt och dra åt hjulmuttrarna till 115–135 Nm.
Important: Kontrollera slangdragningen för att tillförsäkra att avståndet är tillräckligt när axeln roterar och ratten vrids till de extrema vänstra och högra lägena. Avståndet mellan däcket och axeln får inte vara mindre än 13 mm.
Delar som behövs till detta steg:
| Hydraulrör, artikelnr 108-7624 | 1 |
| Hydraulrör, artikelnr 108-7625 | 1 |
| Hydraulrör, artikelnr 108-7626 | 1 |
| Låsmutter för motorvägg | 3 |
| Halva rörklämmor | 2 |
| Huvudskruv (5/16 x 1 1/2 tum) | 1 |
| Planbricka (0,344 x 0,688) | 1 |
| Låsmutter (5/16 tum) | 1 |
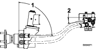
Dra hydraulröret, artikelnr 108-7624, från den vänstra fördelarkopplingen som är markerad ”RF” till det högra hålet i den högra ramens motorväggsfäste (Figur 9).
Fäst hydraulrörets bakre del på fördelarkopplingen och den främre delen på motorväggen med en låsmutter avsedd för motorväggen (Figur 9).
Dra hydraulröret, artikelnr 108-7626, från den mellersta fördelarkopplingen som är markerad ”REV” till hålet i den vänstra ramens motorväggsfäste (Figur 9).
Fäst hydraulrörets bakre del på fördelarkopplingen och den främre delen på motorväggen med en låsmutter avsedd för motorväggen.
Dra hydraulröret, artikelnr 108-7625, från den högra fördelarkopplingen som är markerad ”LF” till det vänstra hålet i den högra ramens motorväggsfäste (Figur 9).
Fäst hydraulrörets bakre del på grenrörskopplingen och motorväggsfästets framsida med en låsmutter avsedd för motorväggen.
Koppla ihop de två motorväggsledningarna med de halva rörklämmorna, en huvudskruv (5/16 x 1 1/2 tum), en planbricka (0,344 x 0,688) och en låsmutter (5/16 tum) (Figur 9).

Lyft upp enhetens framdel och stöd den med domkrafter.
Ta bort hjulmuttrarna som håller hjulenheterna på plats och ta bort hjulen.
Ta bort de sexkantsskruvar och muttrar som håller fast hjulskydden på framaxelflänsarna (Figur 10).
Koppla loss hydraulröret från den övre kopplingen på den främre vänstra hjulmotorn och den nedre kopplingen på den främre högra hjulmotorn (Figur 10).
Ta bort de R-klämmor som håller fast röret på ramen (Figur 10) och kabelbanden som håller fast bromskablarna på hydraulrören.

Koppla loss den vänstra slangen från omfördelningspumpen och hydraulröret (Figur 10). Ta även bort 45-graderskopplingen från omfördelningspumpens underdel (Figur 10).
Note: Du kan även ta bort den högra slangen för att öka tillgängligt avstånd för borttagning och montering av det främre röret. Detta är inte nödvändigt, men kan underlätta monteringen av den här satsen.
Delar som behövs till detta steg:
| Hydraulrör, artikelnr 108-7622 | 1 |
| Hydraulrör, artikelnr 108-7623 | 1 |
| Hydraulkoppling, 90° | 1 |
| Hydraulslang | 1 |
| Kabelband | 3 |
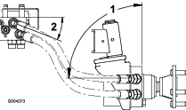
Koppla hydraulröret, artikelnr 108-7622, till den högra hjulmotorkopplingen och till det högra hydraulröret i den högra ramens motorvägg (Figur 11).
Koppla hydraulröret, artikelnr 108-7623, till den vänstra hjulmotorkopplingen och till det vänstra hydraulröret i den vänstra ramens motorvägg (Figur 11).
Montera en 90-gradershydraulkoppling på omfördelningspumpens underdel (Figur 11).
Anslut hydraulslangen till den vänstra pumpkopplingen och till hydraulröret vid den vänstra ramens motorvägg. Sätt tillbaka höger slang om du har tagit bort den tidigare.
Fäst hydraulslangen på batteribrickans underdel med ett kabelband (Figur 11).
Montera hjulskydden på framaxelflänsarna med huvudskruvarna och muttrarna som tidigare togs bort (Figur 10).
Montera kabelbanden som håller bromskablarna mot hydraulrören.

Kontrollera hydraulrören med avseende på läckage, lösa kopplingar, veckade slangar och lösa fästdon. Utför alla nödvändiga reparationer innan du kör maskinen igen.
Note: Håll områdena runt hydraulsystemet rena från ansamlingar av gräs och skräp.
Hydraulolja som läcker ut under tryck kan tränga in i huden och orsaka skada. Hydraulolja som tränger in i huden måste opereras bort inom några få timmar av en läkare som är bekant med denna typ av skador, annars kan kallbrand uppstå.
Håll kropp och händer borta från småläckor eller munstycken som sprutar ut hydraulolja med högt tryck.
Använd en kartong- eller pappersbit för att hitta hydraulläckor.
Montera de R-klämmor som tidigare togs bort med två skruvar och låsmuttrar som håller fast hydraulrören på maskinens ram; se Figur 12.

Montera framdäcken med de fästdon som togs bort tidigare. Dra åt hjulmuttrarna till 115–135 Nm.
Ta bort domkrafterna från maskinen och sänk ner enheten till golvet.
Kontrollera hydrauloljenivån. Fyll vid behov på med vätska så att nivån når upp till markeringen Full på oljestickan. Läs bruksanvisningen för mer information.
Kör maskinen för att kontrollera om det finns läckage. Stäng av maskinen enligt anvisningarna i bruksanvisningen och kontrollera om det finns läckage i hydraulsystemet.
Kontrollera hydrauloljenivån ytterligare en gång. Fyll vid behov på med vätska så att nivån når upp till markeringen Full på oljestickan. Läs bruksanvisningen för mer information.
Delar som behövs till detta steg:
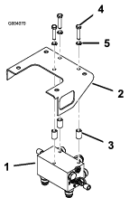
| Dekal | 2 |
| Dekal 110-8869, fara | 1 |
| Dekal 110-8973, CE-fara (endast Europa) | 1 |
Montera dekalerna på följande sätt:
Rengör noga det område där dekalen ska fästas.
Fukta området med vatten eller en mild tvållösning.
Ta bort dekalens skyddspapper och klistra fast den.
Stryk över dekalens yta. Starta i mitten av dekalen och jobba utåt kanterna genom att tillämpa överlappande strykningar.
Ta hjälp av måtten i Figur 13 för att placera och fästa en CROSSTRAX-dekal i det nedre vänstra hörnet på var sida om huven.

Fäst avsedd delar för fara över den befintliga dekalen på förarplattformen (Figur 14):
Fäst dekal 110-8869 för inhemska enheter.
Fäst dekal 110-89673 för CE-enheter (Europa).
