Important: Conserve todas las piezas sueltas para su instalación posterior, a menos que se indique lo contrario.
Aparque la máquina en una superficie nivelada.
Apague el motor, retire la llave y espere a que se detengan todas las piezas en movimiento.
Deje que los componentes de la máquina se enfríen antes de realizar cualquier tarea de mantenimiento.
Desconecte el cable de la bujía.
Mediante un gato de suelo o un dispositivo de elevación, eleve la máquina hasta que las orugas no toquen el suelo.
Desde los laterales de la máquina, retire y deseche los 2 tornillos (5/16" x ⅝") que fijan el puntal delantero a los 2 conjuntos de sujeciones de las orugas. Retire y deseche el puntal delantero.
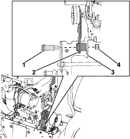
Desde el lado izquierdo de la máquina, retire y deseche el tornillo (5/16" x ¾") y la arandela plana (⅜" x ⅞") que fijan la sujeción de la oruga a la barra de pivote (Figura 1). Repita lo mismo en el lado derecho.

Desde el lado izquierdo de la máquina, retire el pasador de seguridad del cubo del eje. Repita lo mismo en el lado derecho.
Desde el lado izquierdo de la máquina, sostenga el conjunto de rueda motriz con el conjunto de oruga conectado y retire los conjuntos de la máquina. Repita lo mismo en el lado derecho.
Retire los 2 conjuntos de rueda motriz de los 2 conjuntos de orugas.
Retire las 2 chavetas de la barra de pivote.
Deslice y retire la barra de pivote del cubo de pivote. Deseche la barra de pivote.
Note: Empiece con la oruga izquierda y repita lo mismo en la oruga derecha.
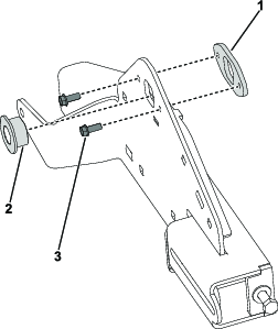
Retire el perno de cuello cuadrado (⅜" x 3"), el casquillo del tensor y la contratuerca (⅜") que fijan la rueda bogey izquierda a la sujeción de la oruga (Figura 2). Retire la rueda.
Retire el perno de cuello cuadrado (⅜" x 3"), el casquillo del tensor y la contratuerca (⅜") que fijan la rueda bogey derecha a la horquilla de bogey y a la sujeción de la oruga (Figura 2). Retire la rueda.
Retire el perno de cuello cuadrado (⅜" x 3") y la contratuerca (⅜") que fijan la horquilla de bogey a la sujeción de la oruga. Retire la horquilla de bogey de la sujeción de la oruga (Figura 2).
Retire el casquillo del eje (Figura 2).
Retire los 2 tornillos (¼" x ⅝") que fijan la sujeción del casquillo del eje al soporte de la oruga. Retire la sujeción del casquillo del eje (Figura 2).
Retire el tornillo (⅜" x 4"), el casquillo del tensor y la arandela (⅜") que fijan el tensor al soporte de la rueda bogey (Figura 2). Retire el tensor.
Retire los 2 pernos de cuello cuadrado (5/16" x ¾") y las 2 contratuercas (5/16") que fijan el patín a la sujeción de oruga. Deseche el patín.
Deseche la sujeción de oruga.

Coloque soportes fijos bajo los ejes izquierdo y derecho de la transmisión hidrostática para acceder a la cubierta inferior. Retire los soportes fijos o el dispositivo de elevación utilizado en Preparación de la máquina.
Note: Puede que se necesiten 2 personas para realizar este procedimiento.
Retire los 3 tornillos (¼" x ⅝") que fijan el soporte del dispositivo de ajuste de altura a la placa superior y a la cubierta trasera. Retire el soporte del dispositivo de ajuste de altura de la placa y la cubierta (Figura 3).
Note: El soporte del dispositivo de ajuste de altura seguirá conectado a los cables en la parte superior de la máquina.

Retire los 6 tornillos (¼" x ⅝") que fijan la cubierta trasera a las placas laterales del bastidor.
Retire la tuerca con arandela prensada (¼") y el perno de cuello largo (¼" x 1") que fijan el cable de la transmisión hidrostática al selector de velocidad. Conserve la arandela escalonada (Figura 4).
Retire el cable de la transmisión hidrostática del soporte de cable de velocidad y la cubierta trasera (Figura 4).

Desde el lado izquierdo de la máquina, desconecte el cable del embrague de la palanca del embrague (Figura 5). Repita lo mismo en el lado derecho.
Desde el lado izquierdo de la máquina, retire la tuerca hexagonal (¼") y el perno (¼" x 2¾") que fijan la abrazadera al tubo del manillar inferior (Figura 5). Repita lo mismo en el lado derecho.
Note: Las abrazaderas permanecerán en los cables del embrague.

Desenganche los 2 resortes del cable del embrague de la transmisión hidrostática.
Retire la cubierta trasera con los cables del embrague aún instalados.
Retire los 4 tornillos (¼" x ⅝") que fijan la cubierta inferior a la parte inferior de la máquina. Retire y deseche la cubierta inferior.
Note: Realice este procedimiento si la correa de tracción está dañada.
Retire los 2 tornillos (M8 x 1¼" x 20) que fijan la guía de la correa al motor. Retire la guía de la correa.
Retire el perno de la cuchilla (7/16" x 1¾") que fija la polea del impulsor al cigüeñal. Retire la polea, la correa del sinfín, la sujeción de la polea y la polea del espaciador del cigüeñal (Figura 7).
Note: Si fuera necesario, sostenga el cubo entre la polea y el motor para evitar que el cigüeñal gire.

Retire las 2 poleas de tracción y la correa de tracción del cigüeñal (Figura 8).

Desde los bajos de la máquina, retire y deseche la correa de tracción.
Retire y deseche el resorte de extensión en el brazo tensor de tracción.
Retire la curvatura en Z del cable de tracción del brazo tensor de tracción.
Retire la tuerca (7/16") y el perno de cuello largo (7/16" x 1¾") que fijan el brazo tensor de tracción al soporte del embrague del freno (Figura 9).

Retire la tuerca (⅜") y el perno (⅜" x 1⅜") que fijan la polea tensora al brazo tensor de tracción. Deseche el brazo tensor de tracción y la polea tensora.
Desde la parte trasera de la máquina, retire los 2 tornillos (¼" x ⅝") que fijan la sujeción de la transmisión hidrostática a la placa superior (Figura 10).
Retire el perno (5/16 x 1¼") y la contratuerca (5/16") que fijan la parte inferior de la sujeción de la transmisión hidrostática al conjunto de transmisión hidrostática. Retire la sujeción de la transmisión hidrostática de la máquina (Figura 10).

Deseche la sujeción de la transmisión hidrostática y 5 clips (¼").
Retire la chaveta y el cable de la transmisión hidrostática del perno en el conjunto de la transmisión hidrostática. Retire el cable de la transmisión hidrostática del perno (Figura 11).
Retire el tornillo (¼" x ⅝") que fija el soporte de la transmisión hidrostática al soporte superior de la transmisión hidrostática (Figura 11).
Retire el perno (5/16" x 1¼") y la contratuerca (5/16") que fijan el soporte de la transmisión hidrostática al conjunto de la transmisión hidrostática (Figura 11).
Retire el soporte de la transmisión hidrostática con el cable de la transmisión hidrostática aún conectado al soporte.
Retire el anillo de retención que fija el cable de la transmisión hidrostática al soporte.
Retire el cable de la transmisión hidrostática del soporte y deseche el soporte.

Piezas necesarias en este paso:
| Soporte de la transmisión hidrostática | 1 |
| Anillo de retención | 1 |
| Abrazadera | 1 |
| Perno hexagonal cónico (¼" x ⅝") | 1 |
Instale el cable de la transmisión hidrostática al nuevo soporte de la transmisión hidrostática.
Instale el cable de la transmisión hidrostática en el soporte de la transmisión hidrostática y fíjelo con un anillo de retención.
Instale la nueva abrazadera en el soporte de la transmisión hidrostática y fíjela con el perno hexagonal cónico (¼" x ⅝") (Figura 12).

Instale el soporte de la transmisión hidrostática al conjunto de la transmisión hidrostática.
Instale el perno hexagonal (¼" x ⅝") que fija el soporte de la transmisión hidrostática al soporte superior de la transmisión hidrostática (Figura 13).
Note: Instale y apriete a mano el tornillo.

Instale el cable hidrostático en el perno sobre el conjunto de transmisión hidrostática y fijelo con la chaveta (Figura 14).

Piezas necesarias en este paso:
| Sujeción de la transmisión hidrostática | 1 |
| Clip (¼") | 5 |
| Perno (5/16" x 1¼") | 1 |
| Contratuerca (5/16") | 1 |
Instale los 5 clips (¼") en la nueva sujeción de la transmisión hidrostática.
Instale la nueva sujeción de la transmisión hidrostática al conjunto de la transmisión hidrostática.
Fije la parte superior de la sujeción de la transmisión hidrostática al conjunto de la transmisión hidrostática y al soporte de la transmisión hidrostática con el nuevo perno (5/16" x 1¼") y la contratuerca (5/16") (Figura 15).

Fije la parte interior de la sujeción de la transmisión hidrostática a la transmisión hidrostática con el perno que se conservó (5/16" x 1¼") y la contratuerca (5/16") (Figura 16).
Instale los 2 tornillos (¼" x ⅝") que fijan la sujeción de la transmisión hidrostática a la placa superior (Figura 16).

Apriete el tornillo (¼" x ⅝") que fija el soporte de la transmisión hidrostática al soporte superior de la transmisión hidrostática (Figura 13).
Piezas necesarias en este paso:
| Brazo de embrague de tracción | 1 |
| Resorte de extensión | 1 |
| Correa de tracción | 1 |
| Polea tensora plana | 1 |
| Polea tensora en V | 1 |
| Guía de correa | 1 |
| Perno (5/16" x 1½") | 1 |
| Contratuerca (5/16") | 1 |
Instale las nuevas poleas tensoras, la correa de tracción y la guía de correa en el nuevo brazo de embrague de tracción.
Instale la polea tensora plana en la parte superior del brazo de embrague de tracción y fíjela con el perno (⅜" x 1⅜") y la contratuerca (⅜") (Figura 17).
Note: Instale las fijaciones, apriételas a mano y fíjelas con una llave inglesa.
Instale la polea tensora en V, la correa de tracción y la guía de correa en la parte inferior del brazo de embrague de tracción y fíjelo con el perno (5/16" x 1½") y la contratuerca (5/16") nuevos (Figura 17).
Note: Instale las fijaciones, apriételas a mano y fíjelas con una llave inglesa.

Aplique antiadherente al área del pivote del brazo de embrague de tracción.
Instale el perno de cuelo largo (7/16" x 1¾") en el área de pivote del brazo de embrague de tracción.
Instale la curvatura en Z del cable de tracción al brazo de embrague de tracción (Figura 18).

Instale el conjunto del brazo del embrague de tracción en el soporte del embrague de freno y fíjelo con el perno de cuelo largo (7/16" x 1¾") y la contratuerca (7/16") nuevos (Figura 19).

Instale el resorte de extensión en el brazo de embrague de tracción y extienda el resorte hasta la placa lateral derecha.
Si se reutiliza la correa de tracción, dirija la correa tal y como se muestra a continuación (Figura 20).

Note: Realice este procedimiento si se sustituye la correa de tracción.
Instale la correa de tracción en el conjunto de la transmisión hidrostática y las poleas en el cigüeñal.
Enrute la correa de tracción alrededor del conjunto de transmisión hidrostática (Figura 20).
Instale las 2 poleas de tracción sobre el cigüeñal y enrute la correa de tracción entre las poleas (Figura 20).

Instale la polea del espaciador, la sujeción de la polea, la polea del impulsor y la correa del sinfín en el cigüeñal (Figura 22).
Aplique Loctite a las roscas del perno de cuchilla (7/16 x 1¾").
Instale el perno de cuchilla (7/16" x 1¾") en la polea del impulsor (Figura 22). Apriete el perno a entre 13,6 y 18,1 N•m.

Aplique Loctite a las roscas de los 2 tornillos (M8 x 1¼ x 20).
Instale la guía de correa en el motor y fíjela con los 2 tornillos (M8 x 1¼ x 20).
Compruebe que haya una separación correcta entre la correa de sinfín y la guía de correa. Debe haber un espacio de ~3,2 mm.
Instale la cubierta de la correa en la máquina y fíjela con los 2 tornillos (¼" x ⅝") (Figura 23).

Conecte el arnés en el conjunto de luces.
Piezas necesarias en este paso:
| Cubierta inferior | 1 |
Desde los bajos de la máquina, instale la nueva cubierta inferior y fíjela con los 4 tornillos (¼" x ⅝").
Lleve la cubierta trasera hasta la máquina, enganche el resorte del cable del embrague izquierdo al conjunto de la transmisión hidrostática. Repita el proceso con el cable del embrague derecho.
Enrute el cable de la transmisión hidrostática a través de la cubierta trasera.
Instale la cubierta trasera en la placa del bastidor y fíjela con los 6 tornillos (¼" x ⅝").
Instale el cable de la transmisión hidrostática en el soporte del selector de velocidad (Figura 24).
Fije el cable de la transmisión hidrostática en el selector de velocidad con un perno de cuello largo (¼" x 1"), una arandela escalonada y una tuerca (¼") (Figura 24).
Note: El lado plano de la arandela escalonada debe estar en el selector de velocidad.

Desde el lado izquierdo de la máquina, enganche el cable del embrague a la palanca del embrague (Figura 25). Repita lo mismo en el lado derecho.
Desde el lado izquierdo de la máquina, instale la abrazadera al tubo del manillar inferior y fíjela con el perno (¼" x 2¾") y la tuerca (¼") (Figura 25). Repita lo mismo en el lado derecho.

Instale el soporte del dispositivo de ajuste de altura en la placa superior y la cubierta trasera y fíjelo con 3 tornillos (¼" x ⅝") (Figura 26).

Instale la nueva cubierta inferior en la parte inferior de la máquina y fíjela con los 4 tornillos (¼" x ⅝").
Retire los soportes fijos de debajo de los ejes izquierdo y derecho de la transmisión hidrostática. Sustituya los soportes fijos o el dispositivo de elevación utilizado en Preparación de la máquina.
Piezas necesarias en este paso:
| Conjunto de sujeción de oruga izquierda | 1 |
| Conjunto de sujeción de oruga derecha | 1 |
| Placa de barra de pivote | 2 |
| Perno de cuello cuadrado (5/16" x 1") | 6 |
| Contratuerca (5/16") | 11 |
| Placa de sujeción | 2 |
Note: Empiece los procedimientos en la sujeción de la oruga izquierda y, a continuación, repita lo mismo en la sujeción de la oruga derecha.
Instale el tensor en el nuevo conjunto de sujeción de la oruga y fíjelo provisionalmente con la arandela (⅜") y el tornillo (⅜" x 4") que conservó (Figura 27).

Instale el casquillo del eje en la sujeción de la oruga (Figura 28).
Instale la sujeción del casquillo de eje en la sujeción de la oruga y fíjela con los 2 tornillos (¼" x ⅝") (Figura 28).

Instale la nueva placa de barra de pivote en la sujeción de la oruga y fíjela con 2 pernos de cuello cuadrado (5/16" x 1") y 2 contratuercas (5/16") nuevos (Figura 29).
Instale la nueva placa de sujeción en la sujeción de la oruga y fíjela con el perno de cuello cuadrado (5/16" x 1") y la contratuerca (5/16") nuevos (Figura 29).

Instale la horquilla de bogey que conservó en la sujeción de la oruga y fíjela provisionalmente con el perno de cuello cuadrado (⅜" x 1") y la contratuerca (⅜") (Figura 30).
Instale la rueda bogey derecha que conservó en la horquilla de bogey y la sujeción de la oruga y fíjela provisionalmente con el perno de cuello cuadrado (⅜" x 1"), el casquillo del tensor y la contratuerca (⅜") (Figura 30).
Instale la rueda bogey izquierda en la sujeción de la oruga y fíjela con el perno de cuello cuadrado (⅜" x 1"), el casquillo del tensor y la contratuerca (⅜") (Figura 30).

Piezas necesarias en este paso:
| Barra de pivote | 2 |
| Arandela especial | 4 |
| Contratuerca (⅜") | 4 |
| Conjunto de sujeción de rueda | 2 |
| Perno de cuello cuadrado (5/16" x ¾") | 4 |
| Rueda bogey | 4 |
| Perno de cuello largo (⅜" x 2-7/16") | 4 |
| Contratuerca (⅜") | 4 |
Desde el lado izquierdo de la máquina, instale el conjunto de rueda de tracción en el cubo del eje y fíjelo con el pasador de seguridad. Repita lo mismo en el lado derecho.
Coloque los conjuntos de oruga izquierdo y derecho en sus lados correspondientes de la máquina.
Deslice la nueva barra de pivote en el cubo de pivote y fíjela con 2 chavetas.
Instale las 2 arandelas especiales en la barra de pivote en el cubo de pivote. Instale la barra de pivote con las arandelas especiales en los conjuntos de oruga y la placa de pivote y fíjela con las 2 contratuercas nuevas (⅜") (Figura 31).

Instale las 2 arandelas especiales en la nueva barra de pivote. Instale la nueva barra de pivote con las arandelas especiales a través de los conjuntos de oruga y la placa de sujeción y fíjela con las 2 contratuercas nuevas (⅜") (Figura 32).

Desde el lado izquierdo de la máquina, deslice la horquilla de bogey a la izquierda e instale la oruga alrededor del conjunto de oruga y la rueda motriz. Repita lo mismo en el lado derecho.
Desde el lado izquierdo de la máquina, apriete el tensor hasta que haya una desviación de la oruga de 9,5 mm. Repita lo mismo en el lado derecho.
Desde el lado izquierdo de la máquina, apriete las 2 tuercas (9/16") que fijan la horquilla de bogey al conjunto de oruga a 47,5 N•m. Repita lo mismo en el lado derecho.
Instale el nuevo conjunto de sujeción de la rueda a la sujeción de la oruga y fíjelo con los 2 pernos de cuello cuadrado (5/16" x ¾") y 2 contratuercas (5/16") nuevos.
Instale las 2 nuevas ruedas bogey al conjunto de sujeción de rueda y fíjelas con 2 pernos de cuello largo (⅜" x 2-7/16") y 2 contratuercas (⅜") nuevos.
Compruebe que la máquina funciona correctamente. Si fuera necesario, ajuste los cables del embrague; consulte el Manual del operador del producto.