Important: Behold alle løsdele til senere montering, medmindre andet er angivet.
Parker maskinen på en plan overflade.
Sluk motoren, tag nøglen ud, og vent, til alle bevægelige dele er standset.
Vent, til maskinens komponenter er kølet ned, før du udfører vedligeholdelsesarbejde.
Frakobl tændrørskablet.
Brug en donkraft eller en overliggende løfteanordning til at hæve maskinen, så larvefødderne løftes fra jorden.
Fjern og bortskaf de 2 skruer (5/16" x ⅝"), der fastgør den forreste afstiver til de 2 larvefodsstøtteenheder, fra maskinens sider. Fjern og bortskaf den forreste afstiver.
Skruen (5/16" x ¾") og underlagsskiven (⅜" x ⅞"), der fastgør larveføddernes støtteenhed til drejestangen, fjernes fra maskinens venstre side og bortskaffes (Figur 1). Gentag på højre side.

Fjern ringstiften fra akselnavet fra venstre side af maskinen. Gentag på højre side.
Fra venstre side af maskinen skal drivhjulsenheden understøttes med larvefødderne fastgjort, og enhederne skal fjernes fra maskinen. Gentag på højre side.
Fjern de 2 drivhjulsenheder fra de 2 larvefodsenheder.
Fjern de 2 låseclips fra drejestangen.
Skub og fjern drejestangen fra drejenavet. Kasser drejestangen.
Note: Start med larvefødderne i venstre side, og gentag derefter på larvefødderne i højre side.
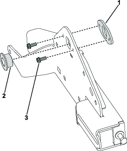
Fjern bræddebolten (⅜" x 3"), strammerbøsningen og låsemøtrikken (⅜"), der fastgør det venstre bogiehjul til larvefodsstøtten (Figur 2). Fjern hjulet.
Fjern bræddebolten (⅜" x 3"), strammerbøsningen og låsemøtrikken (⅜"), der fastgør det højre bogiehjul til bogiegaflen og larvefodsstøtten (Figur 2). Fjern hjulet.
Fjern bræddebolten (⅜" x 3") og låsemøtrikken (⅜"), der fastgør bogiegaflen til larvefodsstøtten. Fjern bogiegaflen fra larvefodsstøtten (Figur 2).
Fjern akselbøsningen (Figur 2).
Fjern de 2 skruer (¼" x ⅝"), der fastgør akselbøsningsstøtten til larvefodsstøtten. Fjern akselbøsningsstøtten (Figur 2).
Fjern skruen (⅜" x 4"), strammerbøsningen og spændeskiven (⅜"), der fastgør strammeren til bogiehjulbeslaget (Figur 2). Fjern strammeren.
Fjern de 2 bræddebolte (5/16" x ¾") og 2 låsemøtrikker (5/16"), der fastgør glideren til larvefodsstøtten. Kasser glideren.
Kasser larvefodsstøtten.

Placer donkrafte under venstre og højre aksel på den hydrostatiske drevenhed for at få adgang til bunddækslet. Fjern donkraftene eller løfteanordningen, der bruges i Klargøring af maskinen.
Note: Det kan være nødvendigt at være to personer for at gennemføre denne procedure.
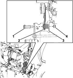
Fjern de 3 skruer (¼" x ⅝"), der fastgør højdejusteringsbeslaget til toppladen og bagdækslet. Fjern højdejusteringsbeslaget fra pladen og dækslet (Figur 3).
Note: Højdejusteringsbeslaget forbliver fastgjort til kablerne oven på maskinen.

Fjern de 6 skruer (¼" x ⅝"), der fastgør bagdækslet til stelsidepladerne.
Fjern flangemøtrikken (¼") og ansatsbolten (¼" x 1"), der fastgør det hydrostatiske drevs kabel til hastighedsvælgeren. Behold trinskiven (Figur 4).
Fjern det hydrostatiske drevs kabel fra hastighedskabelbeslaget og bagdækslet (Figur 4).

Fra venstre side af maskinen skal koblingskablet kobles fra koblingshåndtaget (Figur 5). Gentag på højre side.
Fra venstre side af maskinen fjernes sekskantmøtrikken (¼") og bolten (¼" x 2¾"), der fastgør kabelklemmen til det nederste håndtagsrør (Figur 5). Gentag på højre side.
Note: Kabelklemmerne forbliver på koblingskablerne.

Hægt de 2 koblingskabelfjedre af den hydrostatiske drevenhed.
Fjern bagdækslet med koblingskablerne monteret.
Fjern de 4 skruer (¼" x ⅝"), der fastgør bunddækslet til bunden af maskinen. Fjern og kasser bunddækslet.
Note: Udfør denne procedure, hvis traktionsremmen er beskadiget.
Fjern de 2 skruer (M8 x 1¼ x 20), der fastgør remstyret til motoren. Fjern remstyret.
Fjern skæreknivsbolten (7/16" x 1¾"), der fastgør rotorens remskive til krumtapakslen. Fjern remskiven, snegleremmen, remskivestøtten og afstandsremskiven fra krumtapakslen (Figur 7).
Note: Hold om nødvendigt navet mellem remskiven og motoren for at forhindre krumtapakslen i at dreje.

Fjern de 2 traktionsremskiver og traktionsremmen fra krumtapakslen (Figur 8).

Fjern og kasser traktionsremmen fra maskinens underside.
Fjern og kasser forlængerfjederen på traktionsstyrearmen.
Fjern traktionskablets Z-vinkelstykke fra traktionsstyrearmen.
Fjern møtrikken (7/16") og ansatsbolten (7/16" x 1¾""), der fastgør traktionsstyrearmen til bremsekoblingsbeslaget (Figur 9).

Fjern møtrikken (⅜") og bolten (⅜" x 1⅜"), der fastgør styreremskiven til traktionsstyrearmen. Kasser traktionsstyrearmen og styreremskiven.
Fjern de 2 skruer (¼" x ⅝"), der fastgør det hydrostatiske drevs støtteenhed til toppladen, fra maskinens bagside (Figur 10).
Fjern bolten (5/16" x 1¼") og låsemøtrikken (5/16"), der fastgør bunden af det hydrostatiske drevs støtteenhed til den hydrostatiske drevenhed. Fjern det hydrostatiske drevs støtteenhed fra maskinen (Figur 10).

Kasser det hydrostatiske drevs støtteenhed og 5 klemmer (¼").
Fjern låseclipsen og kablet til det hydrostatiske drev fra bolten på den hydrostatiske drevenhed. Fjern det hydrostatiske drevs kabel fra bolten (Figur 11).
Fjern skruen (¼" x ⅝"), der fastgør det hydrostatiske drevs beslag til det øverste beslag på det hydrostatiske drev (Figur 11).
Fjern bolten (5/16" x 1¼") og låsemøtrikken (5/16"), der fastgør beslaget til det hydrostatiske drev til den hydrostatiske drevenhed (Figur 11).
Fjern det hydrostatiske drevs beslag, men lad kablet fra det hydrostatiske drev forblive monteret på beslaget.
Fjern den låsering, der fastgør det hydrostatiske drevs kabel til beslaget.
Fjern det hydrostatiske drevs kabel fra beslaget, og kasser beslaget.

Dele, der skal bruges til dette trin:
| Det hydrostatiske drevs beslag | 1 |
| Låsering | 1 |
| Kabelklemme | 1 |
| Konisk sekskantbolt (¼" x ⅝") | 1 |
Monter det hydrostatiske drevs kabel på det nye beslag til det hydrostatiske drev.
Monter det hydrostatiske drevs kabel på beslaget til det hydrostatiske drev, og fastgør det med en låsering.
Monter den nye kabelklemme på det hydrostatiske drevs beslag, og fastgør den med den koniske sekskantbolt (¼" x ⅝") (Figur 12).

Monter det hydrostatiske drevs beslag på den hydrostatiske drevenhed.
Monter sekskantbolten (¼" x ⅝"), der fastgør det hydrostatiske drevs beslag til det øverste beslag på det hydrostatiske drev (Figur 13).
Note: Monter skruen fingerstramt.

Installer det hydrostatiske drevs kabel på bolten på den hydrostatiske drevenhed, og fastgør det med låseclipsen (Figur 14).

Dele, der skal bruges til dette trin:
| Det hydrostatiske drevs støtteenhed | 1 |
| Klemme (¼) | 5 |
| Bolt (5/16" x 1¼") | 1 |
| Låsemøtrik (5/16") | 1 |
Monter de 5 klemmer (¼") på det hydrostatiske drevs nye støtteenhed.
Monter det hydrostatiske drevs nye støtteenhed på den hydrostatiske drevenhed.
Fastgør den øverste del af støtteenheden til den hydrostatiske drevenhed og beslaget til det hydrostatiske drev med den nye bolt (5/16" x 1¼") og låsemøtrik (5/16") (Figur 15).

Fastgør bunden af det hydrostatiske drevs støtteenhed til det hydrostatiske drev med bolten (5/16" x 1¼") og låsemøtrikken (5/16") fra tidligere (Figur 16).
Monter de 2 skruer (¼" x ⅝"), der fastgør det hydrostatiske drevs støtteenhed til toppladen (Figur 16).

Spænd skruen (¼" x ⅝"), der fastgør det hydrostatiske drevs beslag til det hydrostatiske drevs øverste beslag (Figur 13).
Dele, der skal bruges til dette trin:
| Traktionskoblingsarm | 1 |
| Forlængerfjeder | 1 |
| Traktionsrem | 1 |
| Flad styreremskive | 1 |
| Kileremskive | 1 |
| Remstyr | 1 |
| Bolt (5/16" x 1½") | 1 |
| Låsemøtrik (5/16") | 1 |
Monter de nye styreremskiver, traktionsremmen og remstyret på den nye traktionskoblingsarm.
Monter den flade styreremskive på øverste del af traktionskoblingsarmen, og fastgør den med bolten (⅜" x 1⅜") og låsemøtrikken (⅜") (Figur 17).
Note: Monter fastgørelsesanordningerne fingerstramt, og fastgør dem derefter med en skruenøgle.
Monter kileremskiven, traktionsremmen og remstyret i bunden af traktionskoblingsarmen, og fastgør den med den nye bolt (5/16" x 1½") og låsemøtrik (5/16") (Figur 17).
Note: Monter fastgørelsesanordningerne fingerstramt, og fastgør dem derefter med en skruenøgle.

Påfør anti-seize-middel på traktionskoblingsarmens pivoteringsområde.
Monter ansatsbolten (7/16" x 1¾") i traktionskoblingsarmens pivoteringsområde.
Monter traktionskablets Z-vinkelstykke på traktionskoblingsarmen (Figur 18).

Monter traktionskoblingsarmen på bremsekoblingsbeslaget, og fastgør den med den nye ansatsbolt (7/16" x 1¾") og låsemøtrik (7/16") (Figur 19).

Monter forlængerfjederen på traktionskoblingsarmen, og træk fjederen ud til den højre sideplade.
Hvis traktionsremmen genbruges, skal traktionsremmen føres som vist nedenfor (Figur 20).

Note: Udfør denne procedure, hvis du udskifter traktionsremmen.
Monter traktionsremmen på den hydrostatiske drevenhed og remskiverne på krumtapakslen.
Før traktionsremmen rundt om den hydrostatiske drevenhed (Figur 20).
Monter de 2 traktionsremskiver på krumtapakslen, og før traktionsremmen mellem remskiverne (Figur 20).

Monter afstandsremskiven, remskivestøtten, rotorremskiven og snegleremmen på krumtapakslen (Figur 22).
Påfør Loctite på gevindene på skæreknivsbolten (7/16" x 1¾").
Monter skæreknivsbolten (7/16" x 1¾") på rotorremskiven (Figur 22). Tilspænd boltene med et moment på 13,6-18,1 Nm.

Påfør Loctite på de 2 skruers (M8 x 1¼" x 20) gevind.
Monter remstyret på motoren, og fastgør det med de 2 skruer (M8 x 1¼ x 20).
Kontroller, at der er korrekt afstand mellem snegleremmen og remstyret. Der skal være en afstand på ~3,2 mm.
Monter remskærmen på maskinen, og fastgør den med de 2 skruer (¼" x ⅝") (Figur 23).

Slut ledningsnettet til lygteenheden.
Dele, der skal bruges til dette trin:
| Bunddæksel | 1 |
Fra maskinens underside skal du montere det nye bunddæksel og fastgøre det med de 4 skruer (¼" x ⅝").
Før bagdækslet hen til maskinen, og hægt den venstre koblingskabelfjeder på den hydrostatiske drevenhed. Gentag med det højre koblingskabel.
Før det hydrostatiske drevs kabel gennem bagdækslet.
Monter bagdækslet på stelpladen, og fastgør det med 6 skruer (¼" x ⅝").
Monter det hydrostatiske drevs kabel på hastighedsvælgerbeslaget (Figur 24).
Fastgør det hydrostatiske drevs kabel til hastighedsvælgeren med en ansatsbolt (¼" x 1"), trinskive og møtrik (¼") (Figur 24).
Note: Den flade side af trinskiven skal være på hastighedsvælgeren.

Fra venstre side af maskinen skal koblingskablet hægtes på koblingshåndtaget (Figur 25). Gentag på højre side.
Fra venstre side af maskinen monteres kabelklemmen på det nederste håndtagsrør og fastgøres med bolten (¼" x 2¾") og møtrikken (¼") (Figur 25). Gentag på højre side.

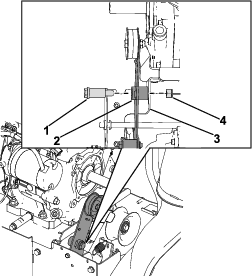
Monter højdejusteringsbeslaget på toppladen og bagdækslet, og fastgør det med de 3 skruer (¼" x ⅝") (Figur 26).

Monter det nye bunddæksel på maskinens bund, og fastgør det med de 4 skruer (¼" x ⅝").
Fjern donkraftene under det hydrostatiske drevs venstre og højre aksel. Udskift donkraftene eller løfteanordningen, der bruges i Klargøring af maskinen.
Dele, der skal bruges til dette trin:
| Venstre larvefodsstøtteenhed | 1 |
| Højre larvefodsstøtteenhed | 1 |
| Drejestangsplade | 2 |
| Bræddebolt (5/16" x 1") | 6 |
| Låsemøtrik (5/16") | 11 |
| Støtteplade | 2 |
Note: Start proceduren med de venstre larvefødder, og gentag derefter på de højre larvefødder.
Monter strammeren på den nye larvefodsstøtteenhed, og fastgør den løst med spændeskiven (⅜") og skruen (⅜" x 4") fra tidligere (Figur 27).

Monter akselbøsning i larvefodsstøtten (Figur 28).
Monter akselbøsningsstøtten på larvefodsstøtten, og fastgør den med de 2 skruer (¼" x ⅝") (Figur 28).

Monter den nye drejestangsplade på larvefodsstøtten, og fastgør den med 2 nye bræddebolte (5/16" x 1") og 2 låsemøtrikker (5/16") (Figur 29).
Monter den nye støtteplade på larvefodsstøtten, og fastgør den med den nye bræddebolt (5/16" x 1") og låsemøtrik (5/16") (Figur 29).

Monter bogiegaflen fra tidligere på larvefodsstøtten, og fastgør den løst med bræddebolten (⅜" x 3") og låsemøtrikken (⅜") (Figur 30).
Monter det højre bogiehjul fra tidligere på bogiegaflen og larvefodsstøtten, og fastgør den løst med bræddebolten (⅜" x 3"), strammerbøsningen og låsemøtrikken (⅜") (Figur 30).
Monter det venstre bogiehjul på larvefodsstøtten, og fastgør det med bræddebolten (⅜" x 3")., strammerbøsning og låsemøtrikken (⅜") (Figur 30).

Dele, der skal bruges til dette trin:
| Drejestang | 2 |
| Specialspændeskive | 4 |
| Låsemøtrik (⅜") | 4 |
| Hjulstøtteenhed | 2 |
| Bræddebolt (5/16" x ¾") | 4 |
| Bogiehjul | 4 |
| Ansatsbolt (⅜" x 2-7/16") | 4 |
| Låsemøtrik (⅜") | 4 |
Monter drivhjulsenheden på akselnavet fra venstre side af maskinen, og fastgør den med ringstiften. Gentag på højre side.
Placer de venstre og højre larvefodsenheder på deres respektive sider af maskinen.
Skub den nye drejestang ind i drejenavet, og fastgør den med 2 låseclips.
Monter de 2 specialspændeskiver på drejestangen i drejenavet. Monter drejestangen med specialspændeskiverne på larvefodsenhederne og drejepladen, og fastgør den med 2 nye låsemøtrikker (⅜") (Figur 31).

Monter de 2 specialspændeskiver på den nye drejestang. Monter den nye drejestang med specialspændeskiver gennem larvefodsenhederne og støttepladen, og fastgør den med 2 nye låsemøtrikker (⅜") (Figur 32).

Skub bogiegaflen til venstre fra venstre side af maskinen, og monter larvefødderne rundt om larvefodsenheden og drivhjulet. Gentag på højre side.
Spænd strammeren fra venstre side af maskinen, indtil der er 9,5 mm nedbøjning af larvefødderne. Gentag på højre side.
Fra venstre side af maskinen tilspændes de 2 møtrikker (9/16"), der fastgør bogiegaflen til sporenheden, med et moment på 47,5 Nm. Gentag på højre side.
Monter den nye hjulstøtteenhed på larvefodsstøtten, og fastgør den med 2 nye bræddebolte (5/16" x ¾") og 2 låsemøtrikker (5/16").
Monter de 2 nye bogiehjul på hjulstøtteenheden, og fastgør dem med 2 nye ansatsbolte (⅜" x 2-7/16") og 2 låsemøtrikker (⅜").
Test, at maskinen fungerer korrekt. Juster om nødvendigt koblingskablerne. Se produktets betjeningsvejledning.