Important: Bewahren Sie alle lose Teile für den späteren Einbau auf, sofern nicht anders angegeben.
Stellen Sie die Maschine auf einer ebenen Fläche ab.
Stellen Sie den Motor ab, ziehen Sie den Schlüssel ab und warten Sie, bis alle rotierenden Teile zum Stillstand gekommen sind.
Lassen Sie alle Maschinenteile abkühlen, bevor Sie mit Wartungsarbeiten beginnen.
Ziehen Sie den Zündkerzenstecker ab.
Heben Sie die Maschine mit einem Wagenheber oder einer Hebevorrichtung (Decken-/Hallenkran) an, bis die Raupen vom Boden abgehoben sind.
Entfernen Sie an den Seiten der Maschine die beiden Schrauben (5/16" x ⅝"), mit denen die vordere Strebe an den beiden Raupenstützen befestigt ist, und entsorgen Sie diese. Entfernen und entsorgen Sie die vordere Strebe.
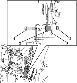
Entfernen Sie auf der linken Seite der Maschine die Schraube (5/16" x ¾") und die Unterlegscheibe (⅜" x ⅞"), mit denen die Raupenstütze an der Gelenkstange befestigt ist, und entsorgen Sie diese (Bild 1). Wiederholen Sie diese Schritte an der rechten Seite.

Entfernen Sie den Splint aus der Achsnabe auf der linken Seite der Maschine. Wiederholen Sie diese Schritte an der rechten Seite.
Stützen Sie die Antriebsradbaugruppe auf der linken Seite der Maschine mit der angebrachten Raupenbaugruppe ab und nehmen Sie die Baugruppen von der Maschine ab. Wiederholen Sie diese Schritte an der rechten Seite.
Entfernen Sie die beiden Antriebsradbaugruppen von den beiden Raupenbaugruppen.
Entfernen Sie die beiden Splinte von der Gelenkstange.
Schieben Sie die Gelenkstange aus der Gelenknabe und nehmen Sie sie ab. Entsorgen Sie die Gelenkstange.
Note: Beginnen Sie mit der linken Raupenkette und wiederholen Sie den Vorgang dann an der rechten Raupenkette.
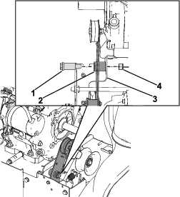
Entfernen Sie die Schlossschraube (⅜" x 3"), die Spannbuchse und die Sicherungsmutter (⅜"), mit denen das linke Bugrad an der Raupenstütze befestigt ist (Bild 2). Nehmen Sie das Rad ab.
Entfernen Sie die Schlossschraube (⅜" x 3"), die Spannbuchse und die Sicherungsmutter (⅜"), mit denen das rechte Bugrad an der Bugradgabel und an der Raupenstütze befestigt ist (Bild 2). Nehmen Sie das Rad ab.
Entfernen Sie die Schlossschraube (⅜" x 3") und die Sicherungsmutter (⅜"), mit denen das Bugrad an der Raupenstütze befestigt ist. Entfernen Sie die Bugradgabel an der Raupenstütze (Bild 2).
Entfernen Sie die Achsbuchse (Bild 2).
Entfernen Sie die beiden Schrauben (¼" x ⅝"), mit denen die Achsbuchsenhalterung an der Raupenstütze befestigt ist. Entfernen Sie die Achsbuchsenhalterung (Bild 2).
Entfernen Sie die Schraube (⅜" x 4"), die Spannbuchse und die Unterlegscheibe (⅜"), mit denen der Spanner an der Bugradhalterung befestigt ist (Bild 2). Entfernen Sie den Spanner.
Entfernen Sie die beiden Schlossschrauben (5/16" x ¾") und die beiden Sicherungsmuttern (5/16"), mit denen die Kufe an der Raupenstütze befestigt ist. Entsorgen Sie die Kufe.
Entsorgen Sie den Raupenstütze.

Platzieren Sie einen Achsständer unter die linke und rechte Antriebswelle des Hydrostatikantriebs, um Zugang zur unteren Abdeckung zu erhalten. Entfernen Sie den Achsständer oder die Hebevorrichtung, die in Vorbereiten der Maschine verwendet wird.
Note: Für die Durchführung dieses Verfahrens werden möglicherweise zwei Personen benötigt.
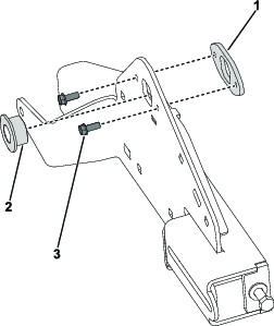
Entfernen Sie die drei Schrauben (¼" x ⅝"), mit denen die Halterung der Höheneinstellung an der oberen Platte und der hinteren Abdeckung befestigt ist. Entfernen Sie die Halterung der Höhenverstellung von der Platte und der Abdeckung (Bild 3).
Note: Die Halterung für die Höhenverstellung bleibt an den Kabeln auf der Oberseite der Maschine befestigt.

Entfernen Sie die sechs Schrauben (¼" x ⅝"), mit denen die hintere Abdeckung an den Seitenplatten des Rahmens befestigt ist.
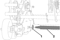
Entfernen Sie die Bundmutter (¼") und die Ansatzschraube (¼" x 1"), mit denen der Bowdenzug des Hydrostatikantriebs am Geschwindigkeitsschalthebel befestigt ist. Bewahren Sie die abgestufte Unterlegscheibe (Bild 4) auf.
Entfernen Sie den Bowdenzug des Hydrostatikantriebs von der Halterung des Gaszugkabels und der hinteren Abdeckung (Bild 4).

Trennen Sie den Kupplungszug auf der linken Seite der Maschine vom Kupplungshebel (Bild 5). Wiederholen Sie diese Schritte an der rechten Seite.
Entfernen Sie auf der linken Seite der Maschine die Sechskantmutter (¼") und die Schraube (¼" x 2¾"), mit denen die Kabelklemme am unteren Griffrohr befestigt ist (Bild 5). Wiederholen Sie diese Schritte an der rechten Seite.
Note: Die Kabelklemmen bleiben an den Kupplungszügen.

Lösen Sie die beiden Kupplungszugfedern aus dem Hydrostatikantrieb.
Entfernen Sie die hintere Abdeckung, während die Kupplungszüge noch befestigt sind.
Entfernen Sie die vier Schrauben (¼" x ⅝"), mit denen die untere Abdeckung an der Unterseite der Maschine befestigt ist. Entfernen Sie die untere Abdeckung und entsorgen Sie diese.
Note: Führen Sie diese Vorgehensweise durch, wenn der Antriebsriemen beschädigt ist.
Entfernen Sie die beiden Schrauben (M8 x 1¼" x 20), mit denen die Riemenführung am Motor befestigt ist. Entfernen Sie die Riemenführung.
Entfernen Sie die Schraube (7/16" x 1¾"), mit der die Räumwerkscheibe an der Welle befestigt ist. Entfernen Sie die Riemenscheibe, den Räumwerkriemen, den Riemenscheibenträger und die Distanzscheibe von der Welle (Bild 7).
Note: Falls erforderlich, halten Sie die Nabe zwischen der Riemenscheibe und dem Motor fest, damit sich die Welle nicht drehen kann.

Entfernen Sie die beiden Antriebsscheiben und den Antriebsriemen von der Welle (Bild 8).

Entfernen Sie den Antriebsriemens von der Unterseite der Maschine und entsorgen Sie ihn.
Entfernen und entsorgen Sie die Zugfeder am Antriebsscheibenarm.
Entfernen Sie das Z-Profil des Antriebszugs vom Antriebsscheibenarm.
Entfernen Sie die Mutter (7/16") und die Ansatzschraube (7/16" x 1¾"), mit denen der Antriebsscheibenarm an der Halterung der Bremskupplung befestigt ist (Bild 9).

Entfernen Sie die Mutter (⅜") und die Schraube (⅜" x 1⅜"), mit denen die Umlenkscheibe am Antriebsscheibenarm befestigt ist. Entsorgen Sie den Antriebsscheibenarm.
Entfernen Sie auf der Rückseite der Maschine die beiden Schrauben (¼" x ⅝"), mit denen die Stütze des Hydrostatikantriebs an der oberen Platte befestigt ist (Bild 10).
Entfernen Sie die Schraube (5/16" x 1¼") und die Sicherungsmutter (5/16"), mit denen die Unterseite der Stütze des Hydrostatikantriebs am Hydrostatikantrieb befestigt ist. Entfernen Sie die Stütze des Hydrostatikantriebs aus der Maschine (Bild 10).

Entsorgen Sie die Stütze des Hydrostatikantriebs und die fünf Clips (¼").
Entfernen Sie den Splint und den Bowdenzug des Hydrostatikantriebs von der Schraube an der Hydrostatikantriebseinheit. Entfernen Sie den Bowdenzug des Hydrostatikantriebs von der Schraube ab (Bild 11).
Entfernen Sie die Schraube (¼" x ⅝"), mit der Halterung des Hydrostatikantriebs an der oberen Halterung des Hydrostatikantriebs befestigt ist (Bild 11).
Entfernen Sie die Schraube (5/16" x 1¼") und die Sicherungsmutter (5/16"), mit denen die Halterung des Hydrostatikantriebs an der Hydrostatikantriebseinheit befestigt ist (Bild 11).
Entfernen Sie Halterung des Hydrostatikantriebs, wobei der Bowdenzug des Hydrostatikantriebs noch an der Halterung befestigt bleibt.
Entfernen Sie den Sicherungsring, mit dem der Bowdenzug des Hydrostatikantriebs an der Halterung befestigt ist.
Entfernen Sie den Bowdenzug des Hydrostatikantriebs von der Halterung und entsorgen Sie die Halterung.

Für diesen Arbeitsschritt erforderliche Teile:
| Halterung des Hydrostatikantriebs | 1 |
| Haltering | 1 |
| Kabelklemme | 1 |
| Sechskantschraube (¼" x ⅝") | 1 |
Montieren Sie das Bowdenzug des Hydrostatikantriebs an der neuen Halterung des Hydrostatikantriebs.
Befestigen den Bowdenzug des Hydrostatikantriebs an der Halterung des Hydrostatikantriebs mit einem Sicherungsring.
Bringen Sie die neue Kabelklemme an der Halterung des Hydrostatikantriebs an und befestigen Sie diese mit der Sechskantschraube (¼" x ⅝") (Bild 12).

Montieren Sie die Halterung des Hydrostatikantriebs an der Hydrostatikantriebseinheit.
Setzen Sie die Sechskantschraube (¼" x ⅝") ein, mit der Halterung des Hydrostatikantriebs an der oberen Halterung des Hydrostatikantriebs befestigt ist (Bild 13).
Note: Ziehen Sie die Schraube handfest an.

Befestigen Sie den Bowdenzug des Hydrostatikantriebs an der Schraube der Hydrostatikantriebseinheit und sichern Sie diesen mit dem Splint (Bild 14).

Für diesen Arbeitsschritt erforderliche Teile:
| Stütze des Hydrostatikantriebs | 1 |
| Clip (¼") | 5 |
| Schraube (5/16" x 1¼") | 1 |
| Sicherungsmutter (5/16") | 1 |
Bringen Sie die fünf Clips (¼") an der neuen Stütze des Hydrostatikantriebs an.
Befestigen Sie die neue Stütze des Hydrostatikantriebs an der Hydrostatikantriebseinheit.
Befestigen Sie den oberen Teil der Stütze des Hydrostatikantriebs mit der neuen Schraube (5/16" x 1¼") und der Sicherungsmutter (5/16") an der Halterung des Hydrostatikantriebs (Bild 15).

Befestigen Sie den unteren Teil der Stütze des Hydrostatikantriebs mit der beibehaltenen Schraube (5/16" x 1¼") und der Sicherungsmutter (5/16") am Hydrostatikantrieb (Bild 16).
Setzen Sie die beiden Schrauben (¼" x ⅝") ein, mit der die Stütze des Hydrostatikantriebs an der oberen Platte befestigt ist (Bild 16).

Ziehen Sie die Schraube (¼" x ⅝") fest, mit der Halterung des Hydrostatikantriebs an der oberen Halterung des Hydrostatikantriebs befestigt ist (Bild 13).
Für diesen Arbeitsschritt erforderliche Teile:
| Traktionskupplungsarm | 1 |
| Verlängerungsfeder | 1 |
| Antriebsriemen | 1 |
| Flache Umlenkrolle | 1 |
| Keilriemenscheibe | 1 |
| Riemenführung | 1 |
| Schraube (5/16" x 1 ½") | 1 |
| Sicherungsmutter (5/16") | 1 |
Montieren Sie die neuen Umlenkrollen, den Antriebsriemen und die Riemenführung am neuen Kupplungsarm.
Montieren Sie die flache Umlenkrolle am oberen Ende des Traktionskupplungsarms und befestigen Sie diese mit der Schraube (⅜“ x 1 ⅜“) und der Sicherungsmutter (⅜“) (Bild 17).
Note: Ziehen Sie die Befestigungselemente handfest an und ziehen Sie diese dann mit einem Schraubenschlüssel fest.
Montieren Sie die Keilriemenscheibe, den Antriebsriemen und die Riemenführung an der Unterseite des Traktionskupplungsarms und sichern Sie diese mit der neuen Schraube (5/16“ x 1 ½") und der Sicherungsmutter (5/16“) (Bild 17).
Note: Ziehen Sie die Befestigungselemente handfest an und ziehen Sie diese dann mit einem Schraubenschlüssel fest.

Tragen Sie ein korrosionshemmendes Schmiermittel auf den Drehpunkt des Traktionskupplungsarms auf.
Setzen Sie die Ansatzschraube (7/16" x 1¾") in den Drehpunkt des Traktionskupplungsarms ein.
Bringen Sie das Z-Profil des Antriebszugs am Traktionskupplungsarm an (Bild 18).

Montieren Sie die Traktionskupplungsarm-Baugruppe an der Bremskupplungshalterung und sichern Sie diese mit der neuen Ansatzschraube (7/16" x 1¾") und der Sicherungsmutter (7/16") (Bild 19).

Bringen Sie die Zugfeder am Traktionskupplungsarm an und ziehen Sie die Feder bis zur rechten Seitenplatte.
Wenn Sie den Antriebsriemen wiederverwenden, verlegen Sie den Antriebsriemen wie unten dargestellt (Bild 20).

Note: Führen Sie diese Vorgehensweise durch, wenn Sie den Antriebsriemen austauschen.
Legen Sie den Antriebsriemen auf die Riemenscheiben der Welle der Hydrostatikantriebseinheit.
Führen Sie den Antriebsriemen um den Hydrostatikantriebseinheit (Bild 20).
Montieren Sie die beiden Antriebsriemenscheiben auf die Welle und legen Sie den Antriebsriemen um die Riemenscheiben (Bild 20).

Befestigen Sie die Distanzscheibe, den Riemenscheibenträger, die Laufradscheibe und den Räumwerkriemen an der Welle an (Bild 22).
Tragen Sie Loctite auf das Gewinde der Schraube (7/16" x 1¾") auf.
Montieren Sie die Schraube (7/16" x 1¾") an der Laufradscheibe (Bild 22). Ziehen Sie die Schraube bis auf ein Drehmoment von 13,6–18,1 N∙m an.

Tragen Sie Loctite auf die beiden Schraubengewinde (M8 x 1¼ x 20) auf.
Montieren Sie die Riemenführung am Motor und sichern Sie diese mit den beiden Schrauben (M8 x 1¼ x 20).
Prüfen Sie, ob der Abstand zwischen dem Räumwerkriemen und der Riemenführung korrekt ist. Es sollte ein Spalt von ca. 3,2 mm vorhanden sein.
Bringen Sie die Riemenabdeckung an der Maschine an und befestigen Sie diese mit den beiden Schrauben (¼" x ⅝") (Bild 23).

Schließen Sie den Kabelbaum an die Beleuchtungseinheit an.
Für diesen Arbeitsschritt erforderliche Teile:
| Untere Abdeckung | 1 |
Bringen Sie die neue Bodenabdeckung von der Unterseite der Maschine her an und befestigen Sie diese mit den vier Schrauben (¼" x ⅝").
Bringen Sie die hintere Abdeckung an der Maschine an, haken Sie die linke Kupplungszugfeder an der Hydrostatikantriebseinheit ein. Wiederholen Sie den Vorgang mit dem rechten Kupplungszug.
Führen Sie den Bowdenzug des Hydrostatikantriebs durch die hintere Abdeckung.
Bringen Sie die hintere Abdeckung an der Rahmenplatte an und sichern Sie diese mit sechs Schrauben (¼" x ⅝").
Befestigen Sie den Bowdenzug des Hydrostatikantriebs an der Halterung des Geschwindigkeitsschalthebels (Bild 24).
Befestigen Sie den Bowdenzug des Hydrostatikantriebs mit einer Ansatzschraube (¼" x 1"), einer abgestuften Unterlegscheibe und einer Mutter (¼") am Geschwindigkeitsschalthebel (Bild 24).
Note: Die flache Seite der abgestuften Unterlegscheibe sollte auf dem Geschwindigkeitsschalthebel liegen.

Haken den Kupplungszug auf der linken Seite der Maschine in den Kupplungshebel ein (Bild 25). Wiederholen Sie diese Schritte an der rechten Seite.
Montieren Sie von der linken Seite der Maschine aus die Kabelklemme am unteren Griffrohr und sichern Sie diese mit der Schraube (¼" x 2¾") und der Mutter (¼") (Bild 25). Wiederholen Sie diese Schritte an der rechten Seite.

Montieren Sie die Halterung für die Höhenverstellung an der oberen Platte und der hinteren Abdeckung und sichern Sie diese mit den drei Schrauben (¼" x ⅝") (Bild 26).

Bringen Sie die neue Bodenabdeckung an der Unterseite der Maschine an und befestigen Sie diese mit den vier Schrauben (¼" x ⅝").
Entfernen Sie die Achsständer unter der linken und rechten Antriebswelle des Hydrostatikantriebs. Ersetzen Sie die Achsständer oder die Hebevorrichtung, die in Vorbereiten der Maschine verwendet wird.
Für diesen Arbeitsschritt erforderliche Teile:
| Linke Raupenstütze | 1 |
| Rechte Raupenstütze | 1 |
| Platte für die Gelenkstange | 2 |
| Schlossschraube (5/16" x 1") | 6 |
| Sicherungsmutter (5/16") | 11 |
| Stützplatte | 2 |
Note: Beginnen Sie mit dem Vorgang an der linken Raupenstütze und wiederholen Sie diese dann am rechten Raupenstütze.
Montieren Sie den Spanner an der neuen Raupenstütze und befestigen Sie ihn locker mit der aufbewahrten Unterlegscheibe (⅜") und der Schraube (⅜" x 4") (Bild 27).

Bauen Sie die Achsbuchse in die Raupenstütze ein (Bild 28).
Montieren Sie die Achsbuchsenträger an der Raupenstütze und befestigen Sie diese mit den beiden Schrauben (¼" x ⅝") (Bild 28).

Montieren Sie die neue Platte für die Gelenkstange an der Raupenstütze und befestigen Sie diese mit zwei neuen Schlossschrauben (5/16" x 1") und zwei Sicherungsmuttern (5/16") (Bild 29).
Montieren Sie die neue Stützplatte an der Raupenstütze und befestigen Sie diese mit der neuen Schlossschraube (5/16" x 1") und der Sicherungsmutter (5/16") (Bild 29).

Montieren Sie die aufbewahrte Bugradgabel an der Raupenstütze und befestigen Sie diese locker mit der Schlossschraube (⅜" x 3") und der Sicherungsmutter (⅜") (Bild 30).
Montieren Sie das rechte Bugrad an der Bugradgabel und an der Raupenstütze und befestigen Sie diese locker mit der Schlossschraube (⅜" x 3"), der Spannbuchse und der Sicherungsmutter (⅜") (Bild 30).
Montieren Sie das linke Bugrad am Raupenträger und sichern Sie es mit der Schlossschraube (⅜" x 3"), der Spannbuchse und der Sicherungsmutter (⅜") (Bild 30).

Für diesen Arbeitsschritt erforderliche Teile:
| Gelenkstange | 2 |
| Spezialscheibe | 4 |
| Sicherungsmutter (⅜") | 4 |
| Radstütze | 2 |
| Schlossschraube (5/16" x ¾") | 4 |
| Bugrad | 4 |
| Ansatzschraube (⅜" x 2-7/16") | 4 |
| Sicherungsmutter (⅜") | 4 |
Montieren Sie die Antriebsradbaugruppe von der linken Seite der Maschine aus an der Achsnabe und sichern Sie diese mit dem Klappstecker. Wiederholen Sie diese Schritte an der rechten Seite.
Legen Sie die linke und die rechte Raupenbaugruppe auf die entsprechenden Seiten der Maschine.
Schieben Sie die neue Gelenkstange in die Gelenknabe und sichern Sie diese mit zwei Splinten.
Montieren Sie die beiden Spezialscheiben auf der Gelenkstange in der Gelenknabe. Montieren Sie die Gelenkstange mit den Spezialscheiben an den Raupenketten und der Gelenkplatte und befestigen Sie diese mit zwei neuen Sicherungsmuttern (⅜") (Bild 31).

Montieren Sie die beiden Spezialscheiben auf der neuen Gelenkstange. Montieren Sie die neue Gelenkstange mit den Spezialscheiben durch die Raupenbaugruppen und die Trägerplatte und befestigen Sie diese mit zwei neuen Sicherungsmuttern (⅜") (Bild 32).

Schieben Sie von der linken Seite der Maschine aus das Bugrad nach links und installieren Sie die Raupenkette um die Raupeneinheit und das Antriebsrad. Wiederholen Sie diese Schritte an der rechten Seite.
Ziehen Sie den Spanner von der linken Seite der Maschine aus an, bis die Raupenkette nur noch um 9,5 mm ausgelenkt werden kann. Wiederholen Sie diese Schritte an der rechten Seite.
Ziehen Sie von der linken Seite der Maschine aus die beiden Muttern (9/16"), mit denen die Bugradgabel an der Raupeneinheit befestigt ist, auf ein Drehmoment von 47,5 N∙m an. Wiederholen Sie diese Schritte an der rechten Seite.
Montieren Sie die neue Radstütze an der Raupenstütze und befestigen Sie diese mit zwei neuen Schlossschrauben (5/16" x ¾") und zwei Sicherungsmuttern (5/16").
Montieren Sie die beiden neuen Bugräder auf die Radhalterung und befestigen Sie diese mit zwei neuen Ansatzschraube (⅜" x 2-7/16") und zwei Sicherungsmuttern (⅜").
Testen Sie die Maschine auf ordnungsgemäßen Betrieb/Funktion. Falls erforderlich, stellen Sie die Kupplungszüge ein; siehe Bedienungsanleitung.