Important: Zadržite sve nepričvršćene dijelove za kasnije postavljanje, osim ako je naznačeno drugačije.
Parkirajte uređaj na ravnoj površini.
Ugasite motor, izvadite ključ i pričekajte da se svi pomični dijelovi zaustave.
Pustite da se komponente uređaja ohlade prije održavanja.
Odspojite žicu svjećice.
Podnom ili lančanom dizalicom podignite uređaj tako da mu gusjenice ne dodiruju tlo.
Sa svake strane uređaja skinite i odložite 2 vijka (5/16 × ⅝") koji učvršćuju prednje ojačanje na dva sklopa nosača gusjenica. Skinite i odložite prednje ojačanje.
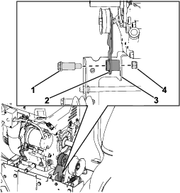
S lijeve strane uređaja skinite i odložite vijak (5/16 × ¾") i ravnu podlošku (⅜ × ⅞") koji učvršćuju sklop nosača na okretnu polugu (Slika 1). Ponovite na desnoj strani.

Na lijevoj strani uređaja skinite preklopni osigurač iz osovine glavčine. Ponovite na desnoj strani.
Na lijevoj strani uređaja poduprite sklop pogonskih kotača s pričvršćenim sklopom gusjenice i skinite sklopove s uređaja. Ponovite na desnoj strani.
Skinite 2 sklopa pogonskih kotača s 2 sklopova gusjenica.
Skinite 2 R-osigurača iz okretne poluge.
Povucite i skinite okretnu polugu iz glavčine okretne poluge. Odložite okretnu polugu.
Note: Počnite od lijeve gusjenice i zatim ponovite postupak na desnoj gusjenici.
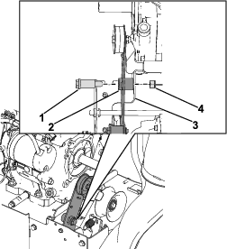
Skinite noseći vijak (⅜ × 3"), čahuru zatezača i sigurnosnu maticu (⅜") koji učvršćuju lijevi kotač postolja za nosač gusjenice (Slika 2). Skinite kotač.
Skinite noseći vijak (⅜ × 3"), čahuru zatezača i sigurnosnu maticu (⅜") koji učvršćuju desni kotač postolja za vilicu postolja i nosač gusjenice (Slika 2). Skinite kotač.
Skinite noseći vijak (⅜ × 3") i sigurnosnu maticu (⅜") koji učvršćuju vilicu za nosač gusjenice. Skinite vilicu postolja iz nosača gusjenice (Slika 2).
Skinite čahuru osovine (Slika 2).
Skinite 2 vijka (¼ × ⅝") koji učvršćuju nosač čahure osovine za nosač gusjenice. Skinite nosač čahure osovine (Slika 2).
Skinite vijak (⅜ × 4"), čahuru zatezača i podlošku (⅜") koji učvršćuju zatezač za nosač kotača postoljaSlika 2). Skinite zatezač.
Skinite 2 noseća vijka (5/16 × ¾") i 2 sigurnosne matice (5/16") koji pričvršćuju kočnicu protiv proklizavanja za nosač gusjenice. Odložite kočnicu protiv proklizavanja.
Odložite nosač gusjenice.

Postavite podmetače ispod lijevog i desnog vratila sklopa hidrostatskog mjenjača kako biste mogli pristupiti donjem poklopcu. Skinite podmetače ili lančanu dizalicu upotrijebljenu u Priprema uređaja.
Note: Možda će biti potrebne 2 osobe za ovaj postupak.
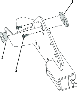
Skinite 3 vijka (¼ × ⅝") koji učvršćuju nosač podešivača visine za gornju ploču i stražnji poklopac. Skinite nosač podešivača visine s ploče i poklopca (Slika 3).
Note: Nosač podešivača visine ostat će pričvršćen za kablove na gornjem dijelu uređaja.

Skinite 6 vijaka (¼ × ⅝") koji učvršćuju stražnji poklopac za bočne ploče okvira.
Skinite prirubnu maticu (¼") i vijak s osloncem (¼ × 1") koji učvršćuju kabel hidrostatskog mjenjača za mjenjač brzine. Ostavite stepenastu podlošku (Slika 4).
Skinite kabel hidrostatskog mjenjača iz nosača kabela za reguliranje brzine i stražnjeg poklopca (Slika 4).

Na lijevoj strani uređaja odspojite kabel spojke od ručice spojke (Slika 5). Ponovite na desnoj strani.
Na lijevoj strani uređaja skinite šesterokutnu maticu (¼") i vijak (¼ x 2¾") koji učvršćuju stezaljku za kabel za cjevčicu donje ručke (Slika 5). Ponovite na desnoj strani.
Note: Stezaljke za kabel ostat će na kablovima spojke.

Otkvačite 2 opruge kabela spojke od sklopa hidrostatskog mjenjača.
Skinite stražnji poklopac dok su kabeli spojke još uvijek ugrađeni.
Skinite 4 vijka (¼ × ⅝") koji učvršćuju donji poklopac za donji dio uređaja. Skinite i odložite donji poklopac.
Note: Izvršite ovaj postupak ako je vučni remen oštećen.
Skinite 2 vijka (M8 × 1¼ × 20) koji učvršćuju vodilicu remena za motor. Skinite vodilicu remena.
Skinite vijak noža (7/16 × 1¾") koji pričvršćuje remenicu rotora za koljenasto vratilo. Skinite remenicu, remen svrdla, nosač remenice i odstojnik remenice iz koljenastog vratila (Slika 7).
Note: Ako je to potrebno, držite glavčinu između remenice i motora kako se koljenasto vratilo ne bi okretalo.

Skinite 2 vučne remenice i vučni remen iz koljenastog vratila (Slika 8).

S donje strane uređaja skinite i odložite vučni remen.
Skinite produžnu oprugu s vučne spone praznog hoda i odložite je.
Skinite spojnicu u obliku slova Z vučnog kabla s vučne spone praznog hoda.
Skinite maticu (7/16") i vijak s osloncem (7/16 × 1¾") koji učvršćuju vučnu sponu praznog hoda za nosač spojke kočnice (Slika 9).

Skinite maticu (⅜") i vijak (⅜ × 1⅜") koji učvršćuju remenicu praznog hoda za vučnu sponu praznog hoda. Odložite vučnu sponu praznog hoda i remenicu praznog hoda.
Sa stražnje strane uređaja skinite 2 vijka (¼ × ⅝") koji učvršćuju potporanj hidrostatskog mjenjača za gornju ploču (Slika 10).
Skinite vijak (5/16 × 1¼") i sigurnosnu maticu (5/16") koji učvršćuju donji dio potpornja hidrostatskog mjenjača za sklop hidrostatskog mjenjača. Skinite potporanj hidrostatskog mjenjača s uređaja (Slika 10).

Odložite potporanj hidrostatskog mjenjača i 5 pričvršćivača (¼").
Skinite R-osigurač i kabel hidrostatskog mjenjača s vijka na sklopu hidrostatskog mjenjača. Skinite kabel hidrostatskog mjenjača s vijka (Slika 11).
Skinite vijak (¼ × ⅝") koji učvršćuje nosač hidrostatskog mjenjača za gornji nosač hidrostatskog mjenjača (Slika 11).
Skinite vijak (5/16 × 1¼") i sigurnosnu maticu (5/16") koji učvršćuju nosač hidrostatskog mjenjača za sklop hidrostatskog mjenjača (Slika 11).
Skinite nosač hidrostatskog mjenjača i kabel hidrostatskog mjenjača dok je pričvršćen za nosač.
Skinite prstenasti osigurač koji pričvršćuje kabel hidrostatskog mjenjača za nosač.
Skinite kabel hidrostatskog mjenjača s nosača i odložite nosač.

Dijelovi potrebni za ovaj postupak:
| Nosač hidrostatskog mjenjača | 1 |
| Prstenasti osigurač | 1 |
| Stezaljka za kabel | 1 |
| Konusni šesterokutni vijak (¼ × ⅝") | 1 |
Postavite kabel hidrostatskog mjenjača na novi nosač hidrostatskog mjenjača.
Postavite kabel hidrostatskog mjenjača na nosač hidrostatskog mjenjača i učvrstite prstenastim osiguračem.
Postavite novu stezaljku za kabel na nosač hidrostatskog mjenjača i pričvrstite konusnim šesterokutnim vijkom (¼ × ⅝") (Slika 12).

Postavite nosač hidrostatskog mjenjača na sklop hidrostatskog mjenjača.
Postavite šesterokutni vijak (¼ × ⅝") koji učvršćuje nosač hidrostatskog mjenjača za gornji nosač hidrostatskog mjenjača (Slika 13).
Note: Prstima pritegnite vijak.

Postavite kabel hidrostatskog mjenjača na vijak na sklopu hidrostatskog mjenjača i učvrstite R-osiguračem (Slika 14).

Dijelovi potrebni za ovaj postupak:
| Potporanj hidrostatskog mjenjača | 1 |
| Pričvršćivač (¼) | 5 |
| Vijaka (5/16 × 1¼") | 1 |
| Sigurnosna matica (5/16") | 1 |
Postavite 5 pričvršćivača (¼") na novi potporanj hidrostatskog mjenjača.
Postavite novi potporanj hidrostatskog mjenjača na sklop hidrostatskog mjenjača.
Novim vijkom (5/16 × 1¼") i sigurnosnom maticom (5/16") učvrstite gornji dio potpornja hidrostatskog mjenjača za sklop hidrostatskog mjenjača i nosač hidrostatskog mjenjača (Slika 15).

Starim vijkom (5/16 × 1¼") i sigurnosnom maticom (5/16") učvrstite donji dio potpornja hidrostatskog mjenjača za hidrostatski mjenjač (Slika 16).
Postavite 2 vijka (¼ × ⅝") koji će učvrstiti potporanj hidrostatskog mjenjača na gornju ploču (Slika 16).

Pritegnite vijak (¼ × ⅝") koji učvršćuje nosač hidrostatskog mjenjača za gornji nosač hidrostatskog mjenjača (Slika 13).
Dijelovi potrebni za ovaj postupak:
| Poluga vučne spojke | 1 |
| Produžna opruga | 1 |
| Vučni remen | 1 |
| Ravna remenica praznog hoda | 1 |
| Remenica praznog hoda u obliku slova V | 1 |
| Vodilica remena | 1 |
| Vijak (5/16 × 1½") | 1 |
| Sigurnosna matica (5/16") | 1 |
Postavite nove remenice praznog hoda, vučni remen i vodilicu remena na novu polugu vučne spojke.
Postavite ravnu remenicu praznog hoda na gornji dio poluge vučne spojke i učvrstite vijkom (⅜ × 1⅜") i sigurnosnom maticom (⅜") (Slika 17).
Note: Prstima pritegnite pričvrsne vijke, a zatim ih pritegnite ključem.
Postavite remenicu praznog hoda u obliku slova V, vučni remen i vodilicu remena na donji dio poluge vučne spojke i učvrstite novim vijkom (5/16 × 1½") i sigurnosnom maticom (5/16") (Slika 17).
Note: Prstima pritegnite pričvrsne vijke, a zatim ih pritegnite ključem.

Nanesite sredstvo protiv zaribavanja na mjesto okretanja poluge vučne spojke.
Postavite vijak s osloncem (7/16 × 1¾") u mjesto kretanja poluge vučne spojke.
Postavite spojnicu u obliku slova Z vučnog kabla na polugu vučne spojke (Slika 18).

Novim vijkom s osloncem (7/16 × 1¾") i sigurnosnom maticom (7/16") učvrstite polugu vučne spojke na nosač spojke kočnice (Slika 19).

Produžnu oprugu postavite na polugu vučne spojke i produžite je do ploče na desnoj strani.
Ako ponovno upotrebljavate vučni remen, provucite ga kao što je prikazano (Slika 20).

Note: Izvedite ovaj postupak ako mijenjate vučni remen.
Postavite vučni remen na sklop hidrostatskog mjenjača i remenice na koljenasto vratilo.
Provucite vučni remen oko sklopa hidrostatskog mjenjača (Slika 20).
Postavite 2 vučne remenice na koljenasto vratilo i provucite vučni remen između remenica (Slika 20).

Postavite odstojnik remenice, nosač remenice, remenicu rotora i remen svrdla na koljenasto vratilo (Slika 22).
Nanesite ljepilo Loctite na navoje vijaka noža (7/16 × 1¾").
Postavite vijak noža (7/16 × 1¾") na remenicu rotora (Slika 22). Pritegnite vijak na 13,6-18,1 N·m.

Nanesite ljepilo Loctite na navoje 2 vijka (M8 × 1¼ × 20).
Postavite vodilicu remena na motor i učvrstite s pomoću 2 vijka (M8 × 1¼ × 20).
Provjerite je li odgovarajući razmak između remena svrdla i vodilice remena. Razmak bi trebao biti približno 3,2 mm.
Postavite poklopac remena na uređaj i učvrstite s pomoću 2 vijka (¼ × ⅝") (Slika 23).

Spojite kabelski svežanj na sklop svjetla.
Dijelovi potrebni za ovaj postupak:
| Donji poklopac | 1 |
Postavite novi donji poklopac s donje strane uređaja i pričvrstite s pomoću 4 vijka (¼ × ⅝").
Približite stražnji poklopac uređaju i spojite oprugu lijevog kabela spojke na sklop hidrostatskog mjenjača. Ponovite postupak za desni kabel spojke.
Provucite kabel hidrostatskog mjenjača kroz stražnji poklopac.
Postavite stražnji poklopac na ploču okvira i učvrstite s pomoću 6 vijaka (¼ × ⅝").
Postavite kabel hidrostatskog mjenjača na nosač mjenjača brzine (Slika 24).
Pričvrstite kabel hidrostatskog mjenjača na mjenjač brzine s pomoću vijka s osloncem (¼ × 1"), stepenaste podloške i matice (¼") (Slika 24).
Note: Ravna strana stepenaste podloške trebala bi biti na mjenjaču brzine.

Na lijevoj strani uređaja spojite kabel spojke s ručicom spojke (Slika 25). Ponovite na desnoj strani.
Na lijevoj strani uređaja postavite stezaljku za kabel postavite na cjevčicu donje ručke i učvrstite vijkom (¼ × 2¾") i maticom (¼") (Slika 25). Ponovite na desnoj strani.

Postavite nosač podešivača visine na gornju ploču i stražnji poklopac te učvrstite s pomoću 3 vijka (¼ × ⅝") (Slika 26).

Postavite novi donji poklopac s donje strane uređaja i učvrstite s pomoću 4 vijka (¼ × ⅝").
Skinite podmetače ispod lijevog i desnog vratila hidrostatskog mjenjača. Zamijenite podmetače ili lančanu dizalicu upotrijebljenu u Priprema uređaja.
Dijelovi potrebni za ovaj postupak:
| Sklop lijevog nosača gusjenice | 1 |
| Sklop desnog nosača gusjenice | 1 |
| Ploče okretne poluge | 2 |
| Nosećih vijaka (5/16 × 1") | 6 |
| Sigurnosnih matica (5/16") | 11 |
| Potporne ploče | 2 |
Note: Počnite izvođenje postupaka na lijevom nosaču gusjenice, a zatim to ponovite na desnom nosaču gusjenice.
Postavite zatezač na novi sklop nosača gusjenice i labavo ga učvrstite zadržanom podloškom (⅜") i vijkom (⅜ × 4") (Slika 27).

Postavite čahuru osovine u nosač gusjenice (Slika 28).
Postavite nosač čahure osovine na nosač gusjenice i učvrstite s pomoću 2 vijka (¼ × ⅝") (Slika 28).

Postavite novu ploču okretne poluge na nosač gusjenice i učvrstite s pomoću 2 nova noseća vijka (5/16 × 1") i 2 sigurnosne matice (5/16") (Slika 29).
Postavite novu potpornu ploču na nosač gusjenice i učvrstite novim nosećim vijkom (5/16 × 1") i sigurnosnom maticom (5/16") (Slika 29).

Postavite zadržanu vilicu postolja na nosač gusjenice i labavo učvrstite nosećim vijkom (⅜ × 3") i sigurnosnom maticom (⅜") (Slika 30).
Postavite zadržani desni kotač postolja na vilicu postolja i nosač gusjenice te labavo pričvrstite nosećim vijkom (⅜ × 3"), čahurom zatezača i sigurnosnom maticom (⅜") (Slika 30).
Postavite lijevi kotač postolja na nosač gusjenice i pričvrstite nosećim vijkom (⅜ × 3"), čahurom zatezača i sigurnosnom maticom (⅜") (Slika 30).

Dijelovi potrebni za ovaj postupak:
| Okretne poluge | 2 |
| Posebne podloške | 4 |
| Sigurnosne matice (⅜") | 4 |
| Sklopa nosača gusjenice | 2 |
| Noseća vijka (5/16 × ¾") | 4 |
| Kotača postolja | 4 |
| Vijka s osloncem (⅜ × 2-7/16") | 4 |
| Sigurnosne matice (⅜") | 4 |
Na lijevoj strani uređaja postavite sklop pogonskih kotača na osovinu glavčine i učvrstite preklopnim osiguračem. Ponovite na desnoj strani.
Postavite lijevi i desni sklop gusjenica na odgovarajuće strane uređaja.
Gurnite novu okretnu polugu u glavčinu okretne poluge i učvrstite s pomoću 2 R-osigurača.
Postavite 2 posebne podloške na okretnu polugu u glavčinu okretne poluge. Postavite okretnu polugu s posebnim podloškama na sklopove gusjenica i ploču okretne poluge i učvrstite s pomoću 2 nove sigurnosne matice (⅜") (Slika 31).

Postavite 2 posebne podloške na novu okretnu polugu. Provucite novu okretnu polugu s posebnim podloškama kroz sklopove gusjenica i potpornu ploču i učvrstite s pomoću 2 nove sigurnosne matice (⅜") (Slika 32).

Na lijevoj strani uređaja gurnite vilicu postolja ulijevo i postavite gusjenicu oko nosača gusjenice i pogonskog kotača. Ponovite na desnoj strani.
Na lijevoj strani uređaja pritegnite zatezač na otklon gusjenice od 9,5 mm. Ponovite na desnoj strani.
Na lijevoj strani uređaja pritegnite 2 matice (9/16") koje učvršćuju vilicu postolja na nosač gusjenice na 47,5 N·m. Ponovite na desnoj strani.
Postavite novi sklop nosača kotača na nosač gusjenice i učvrstite s pomoću 2 nova noseća vijka (5/16 × ¾") i 2 sigurnosne matice (5/16").
Postavite 2 nova kotača postolja na sklop nosača kotača i učvrstite s pomoću 2 nova vijcima s osloncem (⅜ × 2-7/16") i 2 sigurnosne matice (⅜").
Provjerite radi li uređaj pravilno. Ako je potrebno, podesite kabele spojke; pogledajte Uputu za uporabu uređaja.