Important: Bewaar alle losse onderdelen voor latere montage tenzij anders vermeld.
Parkeer de machine op een horizontaal oppervlak.
Zet de motor af, verwijder het contactsleuteltje en wacht totdat alle bewegende onderdelen tot stilstand zijn gekomen.
Laat de onderdelen van de machine afkoelen voordat u onderhoudswerkzaamheden uitvoert.
Koppel de bougiekabel af.
Gebruik een vloerkrik of hefinrichting om de machine op te tillen tot de rupsbanden los van de grond zijn.
Verwijder aan de zijkanten van de machine de 2 schroeven (5/16" x ⅝") waarmee de voorste beugel aan de 2 rupsbandsteunen zijn bevestigd en gooi deze weg. Verwijder de voorste beugel en gooi deze weg.
Verwijder aan de linkerkant van de machine de schroef (5/16" x ¾") en de platte ring (⅜" x ⅞") waarmee de rupsbandsteun aan de draaibeugel is bevestigd en gooi ze weg (Figuur 1). Herhaal deze procedure aan de rechterkant.

Verwijder vanaf de linkerkant van de machine de lynchpen uit de asnaaf. Herhaal deze procedure aan de rechterkant.
Ondersteun vanaf de linkerzijde van de machine het aandrijfwiel met de rupsband eraan vast en verwijder de eenheden van de machine. Herhaal deze procedure aan de rechterkant.
Verwijder de 2 aandrijfwieleenheden van de 2 rupsbandeenheden.
Verwijder de 2 haarspeldveren van de draaibeugel.
Schuif de draaibeugel uit de naaf en verwijder hem uit de scharnierbus. Gooi de draaibeugel weg.
Note: Begin vanaf de linker rupsband en herhaal dan aan de rechter rupsband.
Verwijder de slotbout (⅜" x 3"), de spanbus en de borgmoer (⅜") waarmee het linker bogiewiel aan de rupsbandsteun is bevestigd (Figuur 2). Verwijder het wiel.
Verwijder de slotbout (⅜" x 3"), de spanbus en de borgmoer (⅜") waarmee het rechter bogiewiel aan het bogiejuk en de rupsbandsteun is bevestigd (Figuur 2). Verwijder het wiel.
Verwijder de slotbout (⅜" x 3") en de borgmoer (⅜") waarmee het bogiejuk aan de rupsbandsteun is bevestigd. Verwijder het bogiejuk van de rupsbandsteun (Figuur 2).
Verwijder de asbus (Figuur 2).
Verwijder de 2 schroeven (¼" x ⅝") waarmee de asbussteun aan de rupsbandsteun is bevestigd. Verwijder de asbussteun (Figuur 2).
Verwijder de schroef (⅜" x 4"), de spanbus en de ring (⅜") waarmee de spanner is bevestigd aan de bogiewielbevestiging (Figuur 2). Verwijder de spanner.
Verwijder de 2 slotbouten (5/16" x ¾") en 2 borgmoeren (5/16") waarmee de glijder aan de rupsbandsteun is bevestigd. Gooi de glijder weg.
Gooi de rupsbandsteun weg.

Plaats kriksteunen onder de linker en rechter hydrostatische aandrijfassen om toegang te krijgen tot de onderste kap. Verwijder de kriksteunen of de hefinrichting die werd(en) gebruikt in De machine voorbereiden.
Note: Er kunnen 2 mensen nodig zijn om deze procedure te voltooien.
Verwijder de 3 schroeven (¼" x ⅝") waarmee de hoogteverstelbeugel aan de bovenste plaat en de achterste kap is bevestigd. Verwijder de hoogteverstelbeugel van de plaat en de kap (Figuur 3).
Note: De hoogteverstelbeugel blijft bevestigd aan de kabels boven op de machine.

Verwijder de 6 schroeven (¼" x ⅝") waarmee de achterste kap aan de zijplaten van het frame is bevestigd.
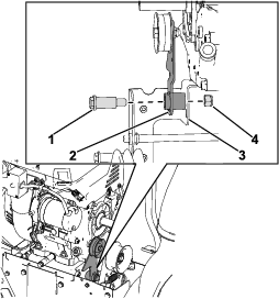
Verwijder de flensmoer (1/4 inch) en borstbout (1/4 x 1 inch) waarmee de hydrostatische aandrijfkabel aan de toerenregelaar is bevestigd. Bewaar de getrapte ring (Figuur 4).
Verwijder de hydrostatische aandrijfkabel van de beugel van de snelheidskabel en de achterste kap (Figuur 4).

Maak de koppelingskabel los van de koppelingshendel aan de linkerkant van de machine (Figuur 5). Herhaal deze procedure aan de rechterkant.
Van de linkerkant van de machine: verwijder de moer (1/4 inch) en bout (1/4 x 2–3/4 inch) waarmee de kabelklem aan de onderste handgreepbuis is bevestigd (Figuur 5). Herhaal deze procedure aan de rechterkant.
Note: De kabelklemmen blijven op de koppelingskabels.

Maak de 2 koppelingskabelveren los van de hydrostatische aandrijving.
Verwijder de achterste kap terwijl de koppelingskabels nog gemonteerd zijn.
Verwijder de 4 schroeven (¼" x ⅝") waarmee de achterste kap aan de onderkant van de machine is bevestigd. Verwijder de onderste kap en gooi het weg.
Note: Voltooi deze procedure als de tractieriem beschadigd is.
Verwijder de 2 schroeven (M8 x 1¼ x 20) waarmee de riemgeleider is bevestigd aan de motor. De riemgeleider verwijderen.
Verwijder de mesbout (7/16" x 1¾") waarmee de rotorpoelie aan de krukas is bevestigd. Verwijder de poelie, de wormasriem, de poeliesteun en de afstandspoelie van de krukas (Figuur 7).
Note: Houd zo nodig de naaf tussen de poelie en de motor vast om te voorkomen dat de krukas gaat draaien.

Verwijder de 2 tractiepoelies en de tractieriem van de krukas (Figuur 8).

Verwijder vanaf de onderkant van de machine de tractieriem en gooi deze weg.
Verwijder de trekveer van de tractiearm van de spanpoelie en gooi deze weg.
Verwijder de Z-bocht van de tractiekabel uit de tractiearm van de spanpoelie.
Verwijder de moer (7/16") en de borstbout (7/16 x 1¾") waarmee de tractiearm van de spanpoelie is bevestigd aan de remkoppelingsbeugel (Figuur 9).

Verwijder de moer (⅜") en de borstbout (⅜" x 1⅜") waarmee de spanpoelie is bevestigd aan de tractiearm van de spanpoelie. Gooi de arm van de spanpoelie en de spanpoelie weg.
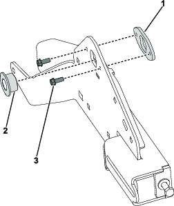
Verwijder vanaf de achterkant van de machine de 2 schroeven (¼" x ⅝") waarmee de steun van de hydrostatische aandrijving aan de bovenste plaat is bevestigd (Figuur 10).
Verwijder de bout (5/16" x 1¼") en borgmoer (5/16") waarmee de onderkant van de steun van de hydrostatische aandrijving aan de hydrostatische aandrijving is bevestigd. Verwijder de steun van de hydrostatische aandrijving van de machine (Figuur 10).

Gooi de steun van de hydrostatische aandrijving en 5 clips (¼") weg.
Verwijder de haarspeldveren en de hydrostatische aandrijfkabel van de bout op de hydrostatische aandrijving. Verwijder de hydrostatische aandrijfkabel van de bout (Figuur 11).
Verwijder de schroef (¼" x ⅝") waarmee de beugel van de hydrostatische aandrijving aan de bovenste beugel van de hydrostatische aandrijving is bevestigd (Figuur 11).
Verwijder de bout (5/16" x 1¼") en borgmoer (5/16") waarmee de beugel van de hydrostatische aandrijving aan de hydrostatische aandrijving is bevestigd (Figuur 11).
Verwijder de beugel van de hydrostatische aandrijving met de hydrostatische aandrijfkabel nog aan de beugel bevestigd.
Verwijder de borgring waarmee de hydrostatische aandrijfkabel is bevestigd aan de beugel.
Verwijder de hydrostatische aandrijfkabel van de beugel en gooi de beugel weg.

Benodigde onderdelen voor deze stap:
| Beugel van hydrostatische aandrijving | 1 |
| Borgring | 1 |
| Kabelklem | 1 |
| Zeskantbout (1/4 x 5/8 inch) | 1 |
Monteer de hydrostatische aandrijfkabel aan de nieuwe beugel van de hydrostatische aandrijving.
Monteer de hydrostatische aandrijfkabel aan de beugel van de hydrostatische aandrijving en bevestig met een borgring.
Monteer de nieuwe kabelklem aan de beugel van de hydrostatische aandrijving en bevestig deze met de nieuwe zeskantbout (1/4 x 5/8 inch) (Figuur 12).

Monteer de beugel van de hydrostatische aandrijving aan de hydrostatische aandrijving.
Monteer de zeskantbout (1/4 x 5/8 inch) waarmee de beugel van de hydrostatische aandrijving is bevestigd aan de bovenste beugel van de hydrostatische aandrijving (Figuur 13).
Note: Draai de schroef met de hand vast.

Monteer de hydrostatische aandrijfkabel aan de bout op de hydrostatische aandrijving en zet vast met de Haarspeldveer (Figuur 14).

Benodigde onderdelen voor deze stap:
| Steun van hydrostatische aandrijving | 1 |
| Clip (¼") | 5 |
| Bout (5/16" x 1¼") | 1 |
| Borgmoer (5/16") | 1 |
Monteer de 5 clips (¼") aan de nieuwe steun van de hydrostatische aandrijving.
Monteer de nieuwe steun van de hydrostatische aandrijving aan de hydrostatische aandrijving.
Bevestig de bovenkant van de steun van de hydrostatische aandrijving aan de hydrostatische aandrijving en de beugel van de hydrostatische aandrijving met de nieuwe bout (5/16" x 1¼") en borgmoer (5/16") (Figuur 15).

Bevestig de onderkant van de steun van de hydrostatische aandrijving aan de hydro met de bijgehouden bout (5/16" x 1¼") en borgmoer (5/16") (Figuur 16).
Monteer de 2 schroeven (¼" x ⅝") waarmee de steun van de hydrostatische aandrijving aan de bovenste plaat is bevestigd (Figuur 16).

Draai de schroef (¼" x ⅝") vast waarmee de beugel van de hydrostatische aandrijving aan de bovenste beugel van de hydrostatische aandrijving is bevestigd (Figuur 13).
Benodigde onderdelen voor deze stap:
| Tractiekoppelingsarm | 1 |
| Trekveer | 1 |
| Tractieriem | 1 |
| Vlakke spanpoelie | 1 |
| V-spanpoelie | 1 |
| Riemgeleider | 1 |
| Bout (5/16 x 1-1/2 inch) | 1 |
| Borgmoer (5/16") | 1 |
Monteer de nieuwe spanpoelies, de tractieriem en de riemgeleider aan de nieuwe tractiekoppelingsarm.
Monteer de vlakke spanpoelie aan de bovenkant van de tractiekoppelingsarm en bevestig deze met de bout (3/8 x 1-3/8 inch) en de borgmoer (3/8 inch) Figuur 17
Note: Zet de bevestigingen met de hand vast en zet ze dan met een sleutel vast.
Plaats de V-spanpoelie, de tractieriem en de riemgeleider aan de onderkant van de tractiekoppelingsarm en bevestig deze met de nieuwe bout (5/16 x 1-1/2 inch) en borgmoer (5/16 inch) (Figuur 17).
Note: Zet de bevestigingen met de hand vast en zet ze dan met een sleutel vast.

Brengt anti-seize aan op het scharnierpunt van de tractiekoppelingsarm.
Monteer de borstbout (7/16" x 1¾") in het scharnierpunt van de tractiekoppelingsarm.
Monteer de Z-bocht van de tractiekabel aan de tractiekoppelingsarm (Figuur 18).

Monteer de tractiekoppelingsarmeenheid aan de remkoppelingsbeugel en bevestig met de nieuwe borstbout (7/16" x 1¾") en borgmoer (7/16") (Figuur 19).

Monteer de trekveer aan de tractiekoppelingsarm en verleng de veer naar de rechter zijplaat.
Als u de tractieriem opnieuw gebruikt, leidt u de tractieriem zoals hieronder afgebeeld (Figuur 20).

Note: Voltooi deze procedure als u de tractieriem vervangt.
Monteer de tractieriem op de hydrostatische aandrijving en de poelies op de krukas.
Leid de tractieriem rond de hydrostatische aandrijving (Figuur 20).
Monteer de 2 tractiepoelies op de krukas en leid de tractieriem tussen de poelies (Figuur 20).

Monteer de afstandspoelie, de poeliesteun, de rotorpoelie en de wormasriem op de krukas (Figuur 22).
Breng Loctite aan op de schroefdraad van de mesbout (7/16" x 1¾").
Monteer de mesbout (7/16" x 1¾") aan de rotorpoelie (Figuur 22). Draai de bout vast met een torsie van 13,6 tot 18,1 N·m.

Breng Loctite aan op de 2 schroefdraden (M8 x 1¼ x 20).
Monteer de riemgeleider aan de motor en bevestig met de 2 schroeven (M8 x 1¼ x 20).
Controleer of er voldoende ruimte is tussen de wormasriem en de riemgeleider. Er dient een afstand van ~3.2 mm te zijn.
Monteer de drijfriemkap aan de machine en bevestig met de 2 schroeven (¼" x ⅝") (Figuur 23).

Sluit de kabelboom aan op de verlichtingseenheid.
Benodigde onderdelen voor deze stap:
| Onderste kap | 1 |
Monteer vanaf de onderkant van de machine de nieuwe onderste kap en bevestig met de 4 schroeven (¼" x ⅝").
Breng de achterste kap naar de machine en haak de veer van de linker koppelingskabel aan de hydrostatische aandrijving. Herhaal met de rechter koppelingskabel.
Leid de hydrostatische aandrijfkabel door de achterste kap.
Monteer de achterste kap aan de frameplaat en bevestig met de 6 schroeven (¼" x ⅝").
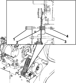
Monteer de hydrostatische aandrijfkabel aan de beugel van de toerenregelaar (Figuur 24).
Bevestig de hydrostatische aandrijfkabel aan de toerenregelaar met een borstbout (¼" x 1"), getrapte ring en moer (¼") (Figuur 24).
Note: De vlakke kant van de getrapte ring moet zich op de toerenregelaar bevinden.

Haak vanaf de linkerkant van de machine de koppelingskabel aan de koppelingshendel (Figuur 25). Herhaal deze procedure aan de rechterkant.
Monteer van de linkerkant van de machine de kabelklem aan de onderste handgreepbuis en bevestig met de bout (¼" x 2¾") en moer (¼") (Figuur 25). Herhaal deze procedure aan de rechterkant.

Monteer de hoogteverstelbeugel aan de bovenste plaat en het achterste deksel en bevestig met de 3 schroeven (¼" x ⅝") (Figuur 26).

Monteer het nieuwe onderste deksel aan de onderkant van de machine en bevestig met de 4 schroeven (¼" x ⅝").
Verwijder de kriksteunen van onder de linker en rechter hydrostatische aandrijfassen. Vervang de kriksteunen of de hefinrichting die werd(en) gebruikt in De machine voorbereiden.
Benodigde onderdelen voor deze stap:
| Linker rupsbandsteun | 1 |
| Rechter rupsbandsteun | 1 |
| Draaibeugelplaat | 2 |
| Slotbout (5/16" x 1") | 6 |
| Borgmoer (5/16") | 11 |
| Steunplaat | 2 |
Note: Start de procedures aan de linker rupsbandsteun en herhaal dan aan de rechter rupsbandsteun.
Monteer de spanner aan de nieuwe rupsbandsteun en bevestig losjes met de bijgehouden ring (⅜") en schroef (⅜" x 4") (Figuur 27).

Monteer de asbus in de rupsbandsteun (Figuur 28).
Monteer de asbussteun aan de rupsbandsteun en bevestig met de 2 schroeven (¼" x ⅝") (Figuur 28).

Monteer de nieuwe draaibeugelplaat aan de rupsbandsteun en bevestig met 2 nieuwe slotbouten (5/16" x 1") en 2 borgmoeren (5/16") (Figuur 29).
Monteer de nieuwe steunplaat aan de rupsbandsteun en bevestig met de nieuwe slotbout (5/16" x 1") en borgmoer (5/16") (Figuur 29).

Monteer het bijgehouden bogiejuk aan de rupsbandsteun en bevestig losjes met de slotbout (⅜" x 3") en borgmoer (⅜") (Figuur 30).
Monteer het bijgehouden rechter bogiewiel aan het bogiejuk en de rupsbandsteun en bevestig losjes met de slotbout (⅜" x 3"), spanbus en borgmoer (⅜") (Figuur 30).
Monteer het linker bogiewiel aan de rupsbandsteun en bevestig met de slotbout (⅜" x 3"), spanbus en borgmoer (⅜") (Figuur 30).

Benodigde onderdelen voor deze stap:
| Draaibeugel | 2 |
| Speciale ring | 4 |
| Borgmoer (⅜") | 4 |
| Wielsteun | 2 |
| Slotbout (5/16" x ¾") | 4 |
| Bogiewiel | 4 |
| Borstbout (⅜" x 2-7/16") | 4 |
| Borgmoer (⅜") | 4 |
Monteer vanaf de linkerkant van de machine het aandrijfwiel aan de asnaaf en bevestig met de lynchpen. Herhaal deze procedure aan de rechterkant.
Plaats de linker en rechter rupsband aan hun respectievelijke kanten van de machine.
Schuif de nieuwe draaibeugel in de scharnierbus en bevestig met 2 haarspeldveren.
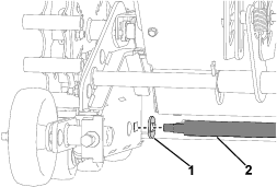
Monteer de 2 speciale ringen op de draaibeugel in de scharnierbus. Monteer de draaibeugel met de speciale ringen aan de rupsbanden en de draaiplaat en bevestig met 2 nieuwe borgringen (⅜") (Figuur 31).

Monteer de 2 speciale ringen op de nieuwe draaibeugel. Monteer de nieuwe draaibeugel met de speciale ringen door de rupsbanden en de steunplaat en bevestig met 2 nieuwe borgmoeren (3/8 inch) (Figuur 32).

Schuif vanaf de linkerkant van de machine het bogiejuk naar links en monteer de rupsband rond de rupsbandeenheid en het aandrijfwiel. Herhaal deze procedure aan de rechterkant.
Draai vanaf de linkerkant van de machine de spanner vast tot er bij de rupsbanden een speling is van 9,5 mm. Herhaal deze procedure aan de rechterkant.
Draai vanaf de linkerkant van de machine de 2 moeren (9/16") waarmee het bogiejuk aan de rupsband is bevestigd aan met 47,5 N·m. Herhaal deze procedure aan de rechterkant.
Monteer de nieuwe wielsteun aan de rupsbandsteun en bevestig met 2 nieuwe slotbouten (5/16" x ¾") en 2 borgmoeren (5/16").
Monteer de 2 nieuwe bogiewielen op de wielsteun en bevestig met 2 nieuwe slotbouten (⅜" x 2-7/16") en 2 borgmoeren (⅜").
Test of de machine goed werkt. Stel indien nodig de koppelingskabels af; raadpleeg de Gebruikershandleiding van het product.