Important: Behold alle løse deler for senere montering med mindre annet er notert.
Parker maskinen på en jevn flate.
Slå av motoren, ta ut nøkkelen og vent til alle bevegelige deler har stoppet.
La maskinen kjøle seg ned før du utfører vedlikehold.
Koble fra tennpluggledningen.
Bruk en gulvjekk eller løfteutstyr til å heve maskinen inntil snøbeltene er løftet opp fra bakken.
Fra maskinens sider: Fjern og kast de to skruene (5/16 x ⅝ tomme) som fester den fremre avstiveren til de to remstøtteenhetene. Ta ut og kast den gamle avstiveren.
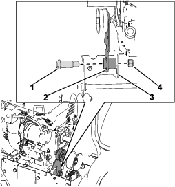
Fra maskinens venstre side: Fjern og kast skruen (5/16 x ¾ tomme) og den flate skiven (⅜ x ⅞ tomme) som fester sporstøtten til svingleddet (Figur 1). Gjenta på høyre side.

Fra maskinens venstre side: Fjern ringstiften fra akselnavet. Gjenta på høyre side.
Fra maskinens venstre side: Støtt drivhjulenheten med remenheten festet, og fjern enhetene fra maskinen. Gjenta på høyre side.
Fjern de to drivhjulenhetene fra de to remenhetene.
Fjern de to hårnålsplintene fra svingleddet.
Skyv og fjern svingleddet fra svingnavet. Kast svingleddet.
Note: Start fra venstre belte, og gjenta deretter på høyre belte.
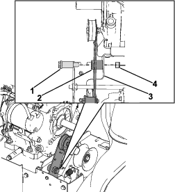
Fjern vognbolten (⅜ x 3 tommer), spenninnretningsbøssingen og låsemutteren (⅜ tomme) for å feste det venstre boggihjulet til remstøtten (Figur 2). Fjern hjulet.
Fjern låsebolten (⅜ x 3 tommer), spenninnretningsbøssingen og låsemutteren (⅜ tomme) for å feste det høyre boggihjulet til boggiakselen og remstøtten (Figur 2). Fjern hjulet.
Fjern låsebolten (⅜ x 3 tommer) og låsemutteren (⅜ tomme) for å feste boggiakselen til remstøtten. Fjern boggiakselen fra remstøtten (Figur 2).
Fjern akselbøssingen (Figur 2).
Fjern de to skruene (¼ x ⅝ tomme) for å feste akselbøssingsstøtten til beltestøtten. Fjern akselbøssingstøtten (Figur 2).
Fjern skruen (⅜ x 4 tommer), spenninnretningsbøssingen og skiven (⅜ tomme) for å feste spenninnretningen til boggihjulenheten (Figur 2). Fjern spenninnretningen.
Fjern de to låseboltene (5/16 x ¾ tomme) og to låsemutterne (5/16 tomme) som fester støtteplaten til beltestøtten. Kast støtteplaten.
Kast remstøtten.

Plasser jekkstøttene under venstre og høyre hydrostatiske drivaksler for å få tilgang til bunndekslet. Fjern jekkstøttene eller løfteutstyret som ble brukt i Klargjøre maskinen.
Note: Det kan være nødvendig med to personer for å fullføre denne prosedyren.
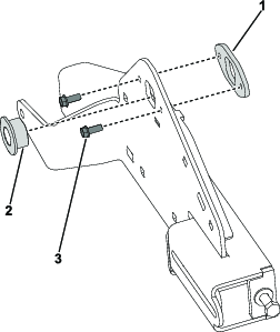
Fjern de tre skruene (¼ x ⅝ tomme) som fester høydejusteringsbraketten til topplaten og bakdekslet. Fjern høydejusteringsbraketten fra platen og dekslet (Figur 3).
Note: Høydejusteringsbraketten forblir festet til kablene oppå maskinen.

Fjern de seks skruene (¼ x ⅝ tomme) som fester bakdekslet til rammens sideplater.
Fjern flensmutteren (¼ tomme) og skulderbolten (¼ x 1 tomme) som fester den hydrostatiske drivkabelen til hastighetsvelgeren. Ta vare på den forhøyde skiven (Figur 4).
Fjern den hydrostatiske drivkabelen fra hastighetskabelbraketten og bakdekslet (Figur 4).

Fra maskinens venstre side: Koble clutchkabelen fra clutchspaken (Figur 5). Gjenta på høyre side.
Fra maskinens venstre side: Fjern sekskantmutteren (¼ tomme) og bolten (¼ x 2¾ tomme) som fester kabelklemmen til det nedre røret på håndtaket (Figur 5). Gjenta på høyre side.
Note: Kabelklemmene forblir på clutchkablene.

Løsne de to clutchkabelfjærene fra det hydrostatiske drevet.
Fjern bakdekslet med clutchkablene fremdeles montert.
Fjern de fire skruene (¼ x ⅝ tomme) som fester bunndekslet til undersiden av maskinen. Fjern og kast det gamle bunndekslet.
Note: Fullfør denne prosedyren hvis trekkremmen er skadet.
Fjern de to skruene (M8 x 1¼ x 20) for å feste remføreren til motoren. Fjern remføreren.
Fjern knivbolten (7/16 x 1¾ tomme) for å feste løpehjulsremskiven til veivakselen. Fjern remskiven, spiralbladremmen, remskivestøtten og avstandsremskiven fra sprekkakselen (Figur 7).
Note: Om nødvendig, hold navet mellom remskivene og motoren for å hindre at veivakselen dreier.

Fjern de to trekkremskivene og trekkremmen fra veivakselen (Figur 8).

Fra undersiden av maskinen: Fjern og kast trekkremmen.
Fjern og kast strekkfjæren på trekklederullarmen.
Fjern Z-bøyen på trekkabelen fra trekklederullarmen.
Fjern mutteren (7/16 tomme) og skulderbolten (7/16 x 1¼ tomme) som fester trekklederullarmen til bremseclutchbraketten (Figur 9).

Fjern mutteren (⅜ tomme) og bolten (⅜ x 1⅜ tomme) for å feste den tomme lederullremskiven til trekklederullarmen. Kast trekklederullarmen og lederullremskiven.
Fra forsiden av maskinen: Fjern de to skruene (¼ x ⅝ tomme) som fester den hydrostatiske drivstøtten til topplaten (Figur 10).
Fjern bolten (5/16 x 1¼ tomme) og låsemutteren (5/16 tomme) som fester undersiden av den hydrostatiske drivstøtten til det hydrostatiske drevet. Fjern den hydrostatiske drivstøtten fra maskinen (Figur 10).

Kast den hydrostatiske drivstøtten og de fem klemmene (¼ tomme).
Fjern hårnålen og den hydrostatiske drivkabelen fra bolten på det hydrostatiske drevet. Fjern den hydrostatiske drivkabelen fra bolten (Figur 11).
Fjern skruen (1/4 x 5/8 tomme) som fester den hydrostatiske drivbraketten til den øvre hydrostatiske drivbraketten (Figur 11).
Fjern bolten (5/16 x 1¼ tomme) og låsemutteren (5/16 tomme) som den hydrostatiske drivbraketten til det hydrostatiske drevet (Figur 11).
Fjern den hydrostatiske drivbraketten med den hydrostatiske drivkabelen fremdeles festet til braketten.
Fjern låseringen som fester den hydrostatiske drivkabelen til braketten.
Fjern den hydrostatiske drivkabelen fra braketten, og kast braketten.

Deler som er nødvendige for dette trinnet:
| Hydrostatisk drivbrakett | 1 |
| Låsering | 1 |
| Kabelklemme | 1 |
| Konisk sekskantbolt (1/4 x 5/8 tomme) | 1 |
Monter den hydrostatiske drivkabelen til den nye hydrostatiske drivbraketten.
Monter den hydrostatiske drivkabelen til den hydrostatiske drivbraketten, og fest den med en låsering.
Monter den nye kabelklemmen på den hydrostatiske drivbraketten, og fest med den koniske sekskantbolten (1/4 x 5/8 tomme) (Figur 12).

Monter den hydrostatiske drivbraketten på den hydrostatiske drivenheten.
Monter sekskantbolten (1/4 x 5/8 tomme) som fester den hydrostatiske drivbraketten til den øvre hydrostatiske drivbraketten (Figur 13).
Note: Monter skruen og stram til for hånd.

Monter den hydrostatiske drivkabelen til bolten på den hydrostatiske drivenheten, og fest med hårnålen (Figur 14).

Deler som er nødvendige for dette trinnet:
| Hydrostatisk drivstøtte | 1 |
| Klemme (¼) | 5 |
| Bolt (5/16 x 1¼ tomme) | 1 |
| Låsemutter (5/16 tomme) | 1 |
Monter de fem klemmene (¼ tomme) på den nye hydrostatiske drivstøtten.
Installer den nye hydrostatiske drivstøtten til den hydrostatiske drivenheten.
Fest toppen av den hydrostatiske drivstøtten til den hydrostatiske drivenheten og hydrostatiske drivbraketten med den nye bolten (5/16 x 1–1/4 tomme) og låsemutteren (5/16 tomme) (Figur 15).

Fest undersiden av den hydrostatiske drivstøtten til hydrodrevet med den beholde bolten (5/16 x 1¼ tomme) og låsemutteren (5/16 tomme) (Figur 16).
Monter de to skruene (¼ x ⅝ tomme) som fester den hydrostatiske drivstøtten til topplaten (Figur 16).

Stram skruen (¼ x ⅝ tomme) som fester den hydrostatiske drivbraketten til den øvre hydrostatiske drivbraketten (Figur 13).
Deler som er nødvendige for dette trinnet:
| Trekkclutcharm | 1 |
| Strekkfjær | 1 |
| Trekkrem | 1 |
| Flat lederullsremskive | 1 |
| V-lederullremskive | 1 |
| Remfører | 1 |
| Bolt (5/16 x 1½ tomme) | 1 |
| Låsemutter (5/16 tomme) | 1 |
Monter de nye lederullremskivene, trekkremmen og remføreren til den nye trekkclutcharmen.
Monter den flate lederullremskiven på oversiden av trekkclutcharmen, fest med bolten (⅜ x 1⅜ tomme) og låsemutteren (⅜ tomme) (Figur 17).
Note: Monter festene og stram til for hånd, og fest deretter med en skiftenøkkel.
Monter V–lederullremskiven, trekkremmen og remføreren på undersiden av trekkclutcharmen, fest med den nye bolten (5/16 x 1½ tomme) og låsemutteren (5/16 tomme) (Figur 17).
Note: Monter festene og stram til for hånd, og fest deretter med en skiftenøkkel.

Påfør gjengesmøremiddel på trekkclutcharmens svingleddområde.
Monter skulderbolten (7/16 x 1¾ tomme) i trekkclutcharmens svingleddområde.
Monter Z-bøyen på trekkabelen til trekkclutcharmen (Figur 18).

Monter trekkclutcharmen på bremseclutchbraketten, fest med den nye skulderbolten (7/16 x 1¾ tomme) og låsemutteren (7/16 tomme) (Figur 19).

Monter strekkfjæren til trekkclutcharmen og strekk fjæren til høyre sideplate.
Ved gjenbruk av trekkremmen skal trekkremmen føres som vist nedenfor (Figur 20).

Note: Fullfør denne prosedyren hvis trekkremmen skiftes ut.
Monter trekkremmen på det hydrostatiske drevet og lederullene på veivakselen.
Før trekkremmen rundt det hydrostatiske drevet (Figur 20).
Monter de to trekkremskivene på veivakselen og før trekkremmen mellom remskivene (Figur 20).

Monter avstandsremskiven, remskivestøtten, løpehjuløsremskiven og spiralbladremmen på veivarmakselen (Figur 22).
Påfør Loctite på knivboltens (7/16 x 1¾ tomme) gjenger.
Monter knivbolten (7/16 x 1¾ tomme) på løpehjulsremskiven (Figur 22). Stram bolten til 14,6–18,1 Nm.

Påfør Loctite på de to skruenes (M8 x 1¼ x 20) gjenger.
Monter remføreren til motoren, fest med de to skruene (M8 x 1¼ x 20).
Kontroller at det er riktig klaring mellom spiralbladremmen og remføreren. Det skal være et mellomrom på 3,2 mm.
Monter remdekslet på maskinen og fest med de to skruene (¼ x ⅝ tomme) (Figur 23).

Koble ledningssatsen til lysenheten.
Deler som er nødvendige for dette trinnet:
| Underdeksel | 1 |
Fra undersiden av maskinen: Monter det nye bunndekslet og fest med de fire skruene (¼ x ⅝ tomme).
Bring bakdekslet til maskinen, hekt den venstre clutchkabelfjæren til det hydrostatiske drevet. Gjenta med den høyre clutchkabelen.
Før den hydrostatiske drivkabelen gjennom bakdekselet.
Monter bakdekslet på rammeplaten, fest med seks skruer (¼ x ⅝ tomme).
Monter den hydrostatiske drivkabelen på hastighetsvelgerbraketten (Figur 24).
Fest den hydrostatiske drivkabelen til hastighetsvelgeren med en skulderbolt (¼ x 1 tomme), forhøyet skive og mutter (¼ tomme) (Figur 24).
Note: Den flate siden av den forhøyde skiven skal være på hastighetsvelgeren.

Fra maskinens venstre side: Hekt clutchkabelen til clutchspaken (Figur 25). Gjenta på høyre side.
Fra maskinens venstre side: Monter kabelklemmen på det nedre røret på håndtaket, fest med bolten (¼ x 2¾ tomme) og mutteren (¼ tomme) (Figur 25). Gjenta på høyre side.

Monter høydejusteringsbraketten på topplaten og bakdekslet og fest med de tre skruene (¼ x ⅝ tomme) (Figur 26).

Monter det nye bunndekslet til maskinens underside og fest med de fire skruene (¼ x ⅝ tomme).
Fjern jekkstøttene under venstre og høyre hydrostatiske drivaksler. Skift ut jekkstøttene eller løfteutstyret som ble brukt i Klargjøre maskinen.
Deler som er nødvendige for dette trinnet:
| Venstre beltestøtteenhet | 1 |
| Høyre beltestøtteenhet | 1 |
| Svingleddplate | 2 |
| Låsebolt (5/16 x 1 tomme) | 6 |
| Låsemutter (5/16 tomme) | 11 |
| Støtteplate | 2 |
Note: Start prosedyrene fra venstre beltestøtte, og gjenta deretter på høyre beltestøtte.
Monter spenninnretningen på den nye beltestøtteenheten, løst festet med den beholdte skiven (⅜ tomme) og skruen (⅜ x 4 tommer) (Figur 27).

Monter akselbøssingen i beltestøtten (Figur 28).
Monter akselbøssingstøtten til beltestøtten og fest med de to skruene (¼ x ⅝ tomme) (Figur 28).

Monter den nye svingplaten på beltestøtten, fest med to nye låsebolter (5/16 x 1 tomme) og to låsemuttere (5/16 tomme) (Figur 29).
Monter den nye støtteplaten på beltestøtten og fest den nye låsebolten (5/16 x 1 tomme) og låsemutteren (5/16 tomme) (Figur 29).

Monter den beholdte boggiakselen til remstøtten, løst festet med låsebolten (⅜ x 3 tommer) og låsemutteren (⅜ tomme) (Figur 30).
Monter det beholdte boggihjulet til boggiakselen og remstøtten, løst festet med låsebolten (⅜ x 3 tommer), spenninnretningsbøssingen og låsemutteren (⅜ tomme) (Figur 30).
Monter det venstre boggihjulet på beltestøtten og fest med låsebolten (⅜ x 3 tomme), spenninnretnigsbøssing og låsemutter (⅜ tomme) (Figur 30).

Deler som er nødvendige for dette trinnet:
| Svingledd | 2 |
| Spesialskive | 4 |
| Låsemutter (⅜ tomme) | 4 |
| Hjulstøtteenhet | 2 |
| Låsebolt, (5/16 x ¾ tomme) | 4 |
| Boggihjul | 4 |
| Skulderbolt (⅜ x 2 7/16 tomme) | 4 |
| Låsemutter (⅜ tomme) | 4 |
Fra maskinens venstre side: Monter drivhjulenheten til akselnavet, og fest med ringstiften. Gjenta på høyre side.
Plasser venstre og høyre belteenheter på de korresponderende sidene av maskinen.
Skyv det nye svingleddet inn i svingnavet og fest med to hårnålssplinter.
Monter de spesialskivene på svingleddet i svingnavet. Monter svingleddet med spesialskivene på belteenhetene og svingplaten, og fest med to nye låsemuttere (⅜ tomme) (Figur 31).

Monter de to spesialskivene på det nye svingleddet. Monter det nye svingleddet med de spesialskivene på belteenhetene og støtteplaten, og fest med to nye låsemuttere (⅜ tomme) (Figur 32).

Fra maskinens venstre side: Skyv boggiakselen mot venstre og monterer remmen rundt remenheten og drivhjulet. Gjenta på høyre side.
Fra maskinens venstre side: Stram remspenninnretningen til det er 9,5 mm belteavbøyning. Gjenta på høyre side.
Fra maskinens venstre side: Stram de to mutterne som fester boggiakselen til remenheten til 47,5 Nm. Gjenta på høyre side.
Monter den nye dreiestøtteenheten på beltestøtten og fest med to nye låsebolter (5/16 x ¾ tomme) og to låsemuttere (5/16 tomme).
Monter de to nye boggihjulene på hjulstøtteenheten og fest med to nye skulderbolter (⅜ x 2 7/16 tomme) og to låsemuttere (⅜ tomme).
Test at maskinen fungerer som den skal. Juster clutchkablene ved behov. Se produktets brukerhåndbok.