Important: Conservate tutte le parti sfuse per una successiva installazione, salvo diversa indicazione.
Parcheggiate la macchina su una superficie pianeggiante.
Spegnete il motore, rimuovete la chiave e attendete l’arresto di tutte le parti in movimento.
Lasciate raffreddare i componenti della macchina prima di effettuare la manutenzione.
Scollegate il cappellotto.
Utilizzando un martinetto da pavimento o un carroponte, sollevate la macchina fino a quando i cingoli non sono sollevati da terra.
Dalle parti laterali della macchina, rimuovete e gettate le 2 viti (5/16" x ⅝") che fissano il sostegno anteriore ai 2 gruppi di supporto del cingolo. Rimuovete e gettate il sostegno anteriore.
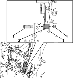
Dal lato sinistro della macchina, rimuovete e gettate la vite (5/16" x ¾") e la rondella piana (⅜" x ⅞") che fissano il supporto del cingolo alla barra girevole (Figura 1). Ripetete l’operazione sul lato destro.

Dal lato sinistro della macchina, rimuovete la coppiglia ad anello dal mozzo dell’asse. Ripetete l’operazione sul lato destro.
Dal lato sinistro della macchina, sostenete il gruppo ruota motrice con il gruppo cingolo collegato e rimuovete i gruppi dalla macchina. Ripetete l’operazione sul lato destro.
Rimuovete i 2 gruppi ruota motrice dai 2 gruppi cingolo.
Rimuovete le 2 coppiglie dalla barra girevole.
Fate scorrere e rimuovete la barra girevole dal mozzo girevole. Gettate la barra girevole.
Note: Iniziate dal cingolo sinistro, quindi ripetete l’operazione sul cingolo destro.
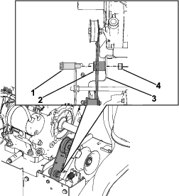
Rimuovete il bullone a testa tonda (⅜" x 3"), la boccola del tenditore e il dado di bloccaggio (⅜") che fissano la ruota del carrello al supporto del cingolo (Figura 2). Rimuovete la ruota.
Rimuovete il bullone a testa tonda (⅜" x 3"), la boccola del tenditore e il dado di bloccaggio (⅜") che fissano la ruota del carrello di destra alla forcella del carrello e al supporto del cingolo (Figura 2). Rimuovete la ruota.
Rimuovete il bullone a testa tonda (⅜" x 3") e il dado di bloccaggio (⅜") che fissano la forcella del carrello al supporto del cingolo. Rimuovete la forcella del carrello dal supporto del cingolo (Figura 2).
Rimuovete la boccola dell’asse (Figura 2).
Rimuovete le 2 viti (¼" x ⅝") che fissano il supporto della boccola dell’asse al supporto del cingolo. Rimuovete il supporto della boccola dell’asse (Figura 2).
Rimuovete la vite (⅜" x 4"), la boccola del tenditore e la rondella (⅜") che fissano il tenditore al supporto della ruota del carrello (Figura 2). Rimuovete il tenditore.
Rimuovete i 2 bulloni a testa tonda (5/16" x ¾") e i 2 dadi di bloccaggio (5/16") che fissano il pattino al supporto del cingolo. Gettate il pattino.
Gettate il supporto del cingolo.

Posizionate cavalletti sotto gli alberi del gruppo trasmissione idrostatica di sinistra e di destra per avere accesso al carter inferiore. Rimuovete i cavalletti o il carroponte utilizzati in Preparazione della macchina.
Note: Potrebbero essere necessarie 2 persone per portare a termine questa procedura.
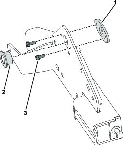
Rimuovete le 3 viti (¼" x ⅝") che fissano la staffa del regolatore dell’altezza alla piastra superiore e al carter posteriore. Rimuovete la staffa del regolatore dell’altezza dalla piastra e dal carter (Figura 3).
Note: La staffa del regolatore dell’altezza rimarrà collegata ai cavi sulla parte superiore della macchina.

Rimuovete le 6 viti (¼" x ⅝") che fissano il carter posteriore alle piastre laterali del telaio.
Rimuovete il dado flangiato (¼”) e il bullone con spallamento (¼" x 1") che fissano il cavo della trasmissione idrostatica al selettore di velocità. Conservate la rondella scalinata (Figura 4).
Rimuovete il cavo della trasmissione idrostatica dalla staffa del cavo della velocità e dal carter posteriore (Figura 4).

Dal lato sinistro della macchina, scollegate il cavo frizione dalla leva frizione (Figura 5). Ripetete l’operazione sul lato destro.
Dal lato sinistro della macchina, rimuovete il dado esagonale (¼") e il bullone (¼" x 2¾") che fissano il serrafilo per cavi al tubo della maniglia inferiore (Figura 5). Ripetete l’operazione sul lato destro.
Note: I serrafili per cavi rimarranno sui cavi frizione.

Sganciate le due molle del cavo frizione dal gruppo trasmissione idrostatica.
Rimuovete il carter posteriore con i cavi frizione ancora installati.
Rimuovete le 4 viti (¼" x ⅝") che fissano il carter inferiore alla parte inferiore della macchina. Rimuovete e gettate il carter inferiore.
Note: Completate questa procedura se la cinghia di trazione è danneggiata.
Rimuovete le 2 viti (M8 x 1¼ x 20) che fissano il guidacinghia al motore. Rimuovete il guidacinghia.
Rimuovete il bullone della lama (7/16" x 1¾") che fissa la puleggia del girante all’albero a gomiti. Rimuovete la puleggia, la cinghia della coclea, il supporto della puleggia e la puleggia del distanziale dall’albero a gomiti (Figura 7).
Note: Se necessario, mantenete il mozzo tra la puleggia e il motore per impedire la rotazione dell’albero a gomiti.

Rimuovete le 2 pulegge di trazione e la cinghia di trazione dall’albero a gomiti (Figura 8).

Dalla parte sottostante della macchina, rimuovete e gettate la cinghia di trazione.
Rimuovete e gettate la molla di estensione sul braccio di rinvio della trazione.
Rimuovete la piegatura a Z del cavo di trazione dal braccio di rinvio della trazione.
Rimuovete il dado (7/16") e il bullone con spallamento (7/16" x 1¾") che fissano il braccio di rinvio della trazione alla staffa del freno frizione (Figura 9).

Rimuovete il dado (⅜") e il bullone (⅜" x 1⅜") che fissano la puleggia di rinvio al braccio di rinvio della trazione. Gettate il braccio di rinvio della trazione e la puleggia di rinvio.
Dalla parte posteriore della macchina, rimuovete le 2 viti (¼" x ⅝") che fissano il supporto della trasmissione idrostatica alla piastra superiore (Figura 10).
Rimuovete il bullone (5/16" x 1¼") e il dado di bloccaggio (5/16") che fissano la parte inferiore del supporto della trasmissione idrostatica al gruppo trasmissione idrostatica. Rimuovete il supporto della trasmissione idrostatica dalla macchina (Figura 10).

Gettate il supporto della trasmissione idrostatica e i 5 gancetti (¼").
Rimuovete la coppiglia e il cavo della trasmissione idrostatica dal bullone sul gruppo trasmissione idrostatica. Rimuovete il cavo della trasmissione idrostatica dal bullone (Figura 11).
Rimuovete la vite (¼" x ⅝") che fissa la staffa della trasmissione idrostatica alla staffa della trasmissione idrostatica superiore (Figura 11).
Rimuovete il bullone (5/16" x 1¼") e il dado di bloccaggio (5/16") che fissano la staffa della trasmissione idrostatica al gruppo trasmissione idrostatica (Figura 11).
Rimuovete la staffa della trasmissione idrostatica con il cavo della trasmissione idrostatica ancora collegato alla staffa.
Rimuovete l’anello di tenuta che fissa il cavo della trasmissione idrostatica alla staffa.
Rimuovete il cavo della trasmissione idrostatica dalla staffa, e gettate la staffa.

Parti necessarie per questa operazione:
| Staffa della trasmissione idrostatica | 1 |
| Anello di tenuta | 1 |
| Serrafilo per cavi | 1 |
| Bullone esagonale con testa conica (1/4” x 5/8”) | 1 |
Montate il cavo della trasmissione idrostatica alla nuova staffa della trasmissione idrostatica.
Montate il cavo della trasmissione idrostatica alla staffa della trasmissione idrostatica, e fissate con un anello di tenuta.
Montate il nuovo serrafilo per cavi alla staffa della trasmissione idrostatica, e fissate il bullone esagonale con testa conica (¼" x ⅝") (Figura 12).

Montate la staffa della trasmissione idrostatica al gruppo trasmissione idrostatica.
Montate il bullone esagonale (¼" x ⅝") che fissa la staffa della trasmissione idrostatica alla staffa della trasmissione idrostatica superiore (Figura 13).
Note: Montate la vite avvitandola a mano.

Montate il cavo della trasmissione idrostatica al bullone sul gruppo trasmissione idrostatica, e fissate con la coppiglia (Figura 14).

Parti necessarie per questa operazione:
| Supporto della trasmissione idrostatica | 1 |
| Gancetto (¼") | 5 |
| Bullone (5/16" x 1¼") | 1 |
| Dado di bloccaggio (5/16") | 1 |
Montate i 5 gancetti (¼") al nuovo supporto della trasmissione idrostatica.
Montate il nuovo supporto della trasmissione idrostatica al gruppo trasmissione idrostatica.
Fissate la parte superiore del supporto della trasmissione idrostatica al gruppo trasmissione idrostatica e alla staffa della trasmissione idrostatica con il nuovo bullone (5/16" x 1¼") e il dado di bloccaggio (5/16") (Figura 15).

Fissate la parte inferiore del supporto della trasmissione idrostatica alla trasmissione idrostatica con il bullone conservato (5/16" x 1¼") e il dado di bloccaggio (5/16") (Figura 16).
Montate le 2 viti (¼" x ⅝") che fissano il supporto della trasmissione idrostatica alla piastra superiore (Figura 16).

Serrate la vite (¼" x ⅝") che fissa la staffa della trasmissione idrostatica alla staffa della trasmissione idrostatica superiore (Figura 13).
Parti necessarie per questa operazione:
| Braccio della frizione di trazione | 1 |
| Molla di estensione | 1 |
| Cinghia di trazione | 1 |
| Puleggia di rinvio piatta | 1 |
| Puleggia di rinvio V | 1 |
| Guidacinghia | 1 |
| Bullone (5/16" x 1½") | 1 |
| Dado di bloccaggio (5/16") | 1 |
Montate le nuove pulegge di rinvio, la cinghia di trazione e il guidacinghia sul nuovo braccio della frizione di trazione.
Montate la puleggia di rinvio piatta sulla parte superiore del braccio della frizione di trazione, e fissate con il bullone (⅜” x 1⅜”) e il dado di bloccaggio (⅜”) (Figura 17)
Note: Montate i dispositivi di fissaggio serrandoli a mano, quindi fissate con una chiave.
Montate la puleggia di rinvio V, la cinghia di trazione e il guidacinghia sulla parte inferiore del braccio della frizione di trazione, e fissate con il nuovo bullone (5/16” x 1½”) e il dado di bloccaggio (5/16”) (Figura 17)
Note: Montate i dispositivi di fissaggio serrandoli a mano, quindi fissate con una chiave.

Applicate un antigrippaggio sulla parte girevole del braccio della frizione di trazione.
Montate il bullone con spallamento (7/16" x 1¾") nella parte girevole del braccio della frizione di trazione.
Montate la piegatura a Z del cavo di trazione sul braccio della frizione di trazione (Figura 18).

Montate il gruppo braccio della frizione di trazione sulla staffa del freno frizione, e fissate con il nuovo bullone con spallamento (7/16" x 1¾") e il dado di bloccaggio (7/16") (Figura 19).

Montate la molla di estensione sul braccio della frizione di trazione, ed estendete la molla alla piastra laterale destra.
Se riutilizzate la cinghia di trazione, disponete la cinghia di trazione come illustrato qui di seguito (Figura 20).

Note: Completate questa procedura se sostituite la cinghia di trazione.
Montate la cinghia di trazione sul gruppo trasmissione idrostatica e le pulegge sull’albero a gomiti.
Disponete la cinghia di trazione attorno al gruppo trasmissione idrostatica (Figura 20).
Montate le 2 pulegge di trazione sull’albero a gomiti, e disponete la cinghia di trazione tra le pulegge (Figura 20).

Montate la puleggia del distanziale, il supporto della puleggia, la puleggia del girante e la cinghia della coclea sull’albero a gomiti (Figura 22).
Applicate Loctite sulle filettature del bullone della lama (7/16" x 1¾").
Montate il bullone della lama (7/16" x 1¾") sulla puleggia del girante (Figura 22). Serrate il bullone a 13,6–18,1 N•m.

Applicate Loctite alle filettature delle 2 viti (M8 x 1¼" x 20).
Montate il guidacinghia al motore, e fissate con le 2 viti (M8 x 1¼" x 20).
Verificate che ci sia la giusta distanza tra la cinghia della coclea e il guidacinghia. Dovrebbe essere uno spazio di ~3,2 mm.
Montate il paracinghia alla macchina, e fissate con le 2 viti (¼" x ⅝") (Figura 23).

Collegate il cablaggio al gruppo luci.
Parti necessarie per questa operazione:
| Carter inferiore | 1 |
Dalla parte sottostante della macchina, montate il nuovo carter inferiore, e fissate con le 4 viti (¼" x ⅝").
Avvicinate il carter posteriore alla macchina, e agganciate la molla del cavo della frizione di sinistra al gruppo trasmissione idrostatica. Ripetete l’operazione con il cavo della frizione di destra.
Disponete il cavo della trasmissione idrostatica attraverso il carter posteriore.
Montate il carter posteriore alla piastra del telaio, e fissate con le 6 viti (¼" x ⅝").
Montate il cavo della trasmissione idrostatica alla staffa del selettore della velocità (Figura 24).
Fissate il cavo della trasmissione idrostatica al selettore della velocità con un bullone con spallamento (¼" x 1"), una rondella scalinata e un dado (¼") (Figura 24).
Note: Il lato piatto della rondella scalinata dovrà essere sul selettore della velocità.

Dal lato sinistro della macchina, agganciate il cavo frizione alla leva frizione (Figura 25). Ripetete l’operazione sul lato destro.
Dal lato sinistro della macchina, montate il serrafilo per cavi al tubo della maniglia inferiore, e fissate con il bullone (¼" x 2¾") e il dado (¼") (Figura 25). Ripetete l’operazione sul lato destro.

Montate la staffa del regolatore dell’altezza alla piastra superiore e al carter posteriore, e fissate con le 3 viti (¼" x ⅝") (Figura 26).

Montate il nuovo carter inferiore alla parte inferiore della macchina, e fissate con le 4 viti (¼" x ⅝").
Rimuovete i cavalletti da sotto gli alberi della trasmissione idrostatica di sinistra e di destra. Sostituite i cavalletti o il carroponte utilizzati in Preparazione della macchina.
Parti necessarie per questa operazione:
| Gruppo supporto del cingolo sinistro | 1 |
| Gruppo supporto del cingolo destro | 1 |
| Piastra della barra girevole | 2 |
| Bullone a testa tonda (5/16" x 1") | 6 |
| Dado di bloccaggio (5/16") | 11 |
| Piastra di supporto | 2 |
Note: Iniziate le procedure sul supporto del cingolo sinistro, quindi ripetete l’operazione sul supporto del cingolo destro.
Montate il tenditore sul nuovo gruppo supporto del cingolo, e fissate senza serrare con la rondella conservata (⅜") e la vite (⅜" x 4") (Figura 27).

Montate la boccola dell’asse nel supporto del cingolo (Figura 28).
Montate la boccola dell’asse sul supporto del cingolo, e fissate con le 2 viti (¼" x ⅝") (Figura 28).

Montate la nuova piastra della barra girevole sul supporto del cingolo, e fissate con 2 nuovi bulloni a testa tonda (5/16" x 1") e 2 dadi bloccaggio (5/16") (Figura 29).
Montate la nuova piastra di supporto sul supporto del cingolo, e fissate con il nuovo bullone a testa tonda (5/16" x 1") e il dado di bloccaggio (5/16") (Figura 29).

Montate la forcella del carrello conservata sul supporto del cingolo, e fissate senza serrare con il bullone a testa tonda (⅜" x 3") e il dado di bloccaggio (⅜") (Figura 30).
Montate la ruota del carrello di destra conservata sulla forcella del carrello e sul supporto del cingolo, e fissate senza serrare con il bullone a testa tonda (⅜" x 3"), la boccola del tenditore e il dado di bloccaggio (⅜") (Figura 30).
Montate la ruota del carrello di sinistra sul supporto del cingolo, e fissate con il bullone a testa tonda (⅜" x 3"), la boccola del tenditore e il dado di bloccaggio (⅜") (Figura 30).

Parti necessarie per questa operazione:
| Barra girevole | 2 |
| Rondella speciale | 4 |
| Dado di bloccaggio (⅜") | 4 |
| Gruppo supporto della ruota | 2 |
| Bullone a testa tonda (5/16" x ¾") | 4 |
| Ruota del carrello | 4 |
| Bullone con spallamento (⅜" x 2-7/16") | 4 |
| Dado di bloccaggio (⅜") | 4 |
Dal lato sinistro della macchina, montate il gruppo ruota motrice al mozzo dell’asse, e fissate con la coppiglia ad anello. Ripetete l’operazione sul lato destro.
Posizionate i gruppi cingolo sinistro e destro sui rispettivi lati della macchina.
Fate scorrere la nuova barra girevole nel mozzo girevole, e fissate con 2 coppiglie.
Montate le 2 rondelle speciali sulla barra girevole nel mozzo girevole. Montate la barra girevole con le rondelle speciali sui gruppi cingolo e sulla piastra girevole, e fissate con 2 nuovi dadi di bloccaggio (⅜") (Figura 31).

Montate le 2 rondelle speciali sulla nuova barra girevole. Montate la nuova barra girevole con le rondelle speciali attraverso i gruppi cingolo e la piastra di supporto, e fissate con 2 nuovi dadi di bloccaggio (⅜”) (Figura 32).

Dal lato sinistro della macchina, fate scorrere la forcella del carrello verso sinistro e montate il cingolo attorno al gruppo cingolo e alla ruota motrice. Ripetete l’operazione sul lato destro.
Dal lato sinistro della macchina, serrate il tenditore fino a quando non si ottiene una deformazione del cingolo di 9,5 mm. Ripetete l’operazione sul lato destro.
Dal lato sinistro della macchina, serrate i 2 dadi (9/16") che fissano la forcella del carrello al gruppo cingolo a 47,5 N•m. Ripetete l’operazione sul lato destro.
Montate il nuovo gruppo supporto della ruota sul supporto del cingolo, e fissate con 2 nuovi bulloni a testa tonda (5/16" x ¾") e 2 dadi bloccaggio (5/16").
Montate le 2 nuove ruote del carrello sul gruppo supporto della ruota, e fissate con 2 nuovi bulloni con spallamento (⅜" x 2-7/16") e 2 dadi bloccaggio (⅜").
Testate la macchina per verificare il corretto funzionamento. Se necessario, regolate i cavi frizione; fate riferimento al Manuale dell’operatore del prodotto.