Important: Guarde todas as peças soltas para uma instalação posterior exceto indicação em contrário.
Estacione a máquina numa superfície plana.
Desligue o motor, remova a chave e aguarde que todas as partes em movimento parem.
Deixe os componentes da máquina arrefecerem antes de proceder à manutenção.
Desligue o fio da vela.
Com um macaco ou um dispositivo de elevação superior, eleve a máquina até que as lagartas fiquem fora do chão.
A partir dos lados da máquina, remova e deite fora os dois parafusos (5/16 x ⅝ pol.) que prendem o suporte frontal aos conjuntos de suporte das duas lagartas. Remova e deite fora o suporte frontal.
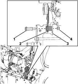
A partir do lado esquerdo da máquina, remova e deite fora o parafuso (5/16 x ¾ pol.) e a anilha chata (⅜ x ⅞ pol.) que prendem o suporte das lagartas à barra articulada (Figura 1). Repita no lado direito.

A partir do lado esquerdo da máquina, remova o pino de sujeição do cubo do eixo. Repita no lado direito.
A partir do lado esquerdo da máquina, apoie o conjunto da roda motriz com o conjunto de lagartas acoplado e remova os conjuntos da máquina. Repita no lado direito.
Remova os dois conjuntos de rodas motrizes dos dois conjuntos de lagartas.
Remova os dois pernos de gancho d a barra articulada.
Deslize e remova a barra articulada do terminal de articulação. Deite fora a barra articulada.
Note: Inicie a partir da lagarta esquerda e depois repita na lagarta direita.
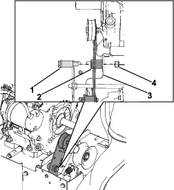
Remova o parafuso de carroçaria (⅜ x 3 pol.), o casquilho de tensão e a porca de bloqueio (⅜ pol.) que prendem a roda do bogie esquerdo ao suporte da lagarta (Figura 2). Remova a roda.
Remova o parafuso de carroçaria (⅜ x 3 pol.), o casquilho tensor e a porca de bloqueio (⅜ pol.) que prendem a roda do bogie direito à culatra do bogie e suporte da lagarta (Figura 2). Remova a roda.
Remova o parafuso de carroçaria (⅜ x 3 pol.) e a porca de bloqueio (⅜ pol.) que prendem o bogie ao suporte da lagarta. Remova a culatra do bogie do suporte da lagarta (Figura 2).
Remova o casquilho do eixo (Figura 2).
Remova os dois parafusos (¼ x ⅝ pol.) que prendem o suporte do casquilho do eixo ao suporte da lagarta. Remova o suporte do casquilho do eixo (Figura 2).
Remova o parafuso (⅜ x 4 pol.), o casquilho de tensão e a anilha (⅜ pol.) que prendem o tensor ao suporte da roda do bogie (Figura 2). Remova o tensor.
Remova os dois parafusos de carroçaria (5/16 x ¾ pol.) e duas porcas de bloqueio (5/16 pol.) que prendem o patim ao suporte das lagartas. Deite fora o patim.
Deite fora o suporte da lagarta.

Coloque preguiças por baixo dos eixos dos conjuntos da transmissão hidrostática esquerda e direita para ter acesso à cobertura inferior. Remova as preguiças ou o dispositivo de elevação superior utilizados em Preparação da máquina.
Note: Poderão ser necessárias duas pessoas para este procedimento.
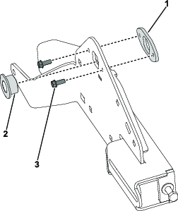
Remova os três parafusos (¼ x ⅝ pol.) que fixam o suporte do regulador de altura à placa superior e à cobertura traseira. Remova o suporte do regulador de altura da placa e da cobertura (Figura 3).
Note: O suporte do regulador de altura irá permanecer preso aos cabos no topo da máquina.

Remova os seis parafusos (¼ x ⅝ pol.) que prendem a cobertura traseira às placas laterais da estrutura.
Remova a porca flangeada (1/4 pol.) e o parafuso com olhal (1/4 x 1 pol.) que prende o cabo da transmissão hidrostática ao seletor de velocidade. Guarde a anilha escalonada (Figura 4).
Remova o cabo da transmissão hidrostática do suporte do cabo de velocidade e da cobertura traseira (Figura 4).

Do lado esquerdo da máquina, desligue o cabo da embraiagem da alavanca da embraiagem (Figura 5). Repita no lado direito.
Do lado esquerdo da máquina, remova a porca sextavada (1/4 pol.) e o parafuso (1/4 x 2–3/4 pol.) que prendem a abraçadeira do cabo ao tudo da pega inferior (Figura 5). Repita no lado direito.
Note: As abraçadeiras do cabo irão permanecer nos cabos da embraiagem.

Desengate as duas molas do cabo da embraiagem do conjunto da transmissão hidrostática.
Remova a cobertura traseira com os cabos de embraiagem ainda instalados.
Remova os quatro parafusos (¼ x ⅝ pol.) que prendem a cobertura inferior ao fundo da máquina. Remova e deite fora a cobertura inferior.
Note: Complete este procedimento se a correia de tração estiver danificada.
Remova os dois parafusos (M8 x 1¼ x 20) que fixam a guia da correia ao motor. Remova a cobertura da correia.
Remova o parafuso da lâmina (7/16 x 1¾ pol.) que prende a polia da hélice à cambota. Remova a polia, a correia do sem-fim, o suporte da polia e a polia espaçadora da cambota (Figura 7).
Note: Se necessário, segure o cubo entre a polia e o motor para impedir a cambota de rodar.

Remova as duas polias de tração e a correia de tração da cambota (Figura 8).

Do lado inferior da máquina, remova e deite fora a correia de tração.
Remova e deite fora a mola de extensão no braço intermédio de tração.
Remova a curva Z do cabo de tração do braço intermédio de tração.
Remova a porca (7/16 pol.) e o parafuso com olhal (7/16 x 1¾ pol.) que prende o braço intermédio de tração ao suporte da embraiagem do travão (Figura 9).

Remova a porca (⅜ pol.) e o parafuso (⅜ x 1⅜ pol.) que prende a polia da roldana ao braço intermédio de tração. Deite fora o braço intermédio de tração e a polia intermédia.
A partir da traseira da máquina, remova os dois parafusos (¼ x ⅝ pol.) que prendem o suporte da transmissão hidrostática à placa superior (Figura 10).
Remova o parafuso (5/16 x 1¼ pol.) e a porca de bloqueio (5/16 pol.) que prende a parte inferior do suporte da transmissão hidrostática ao conjunto da transmissão hidrostática. Remova o suporte da transmissão hidrostática da máquina (Figura 10).

Deite fora o suporte da transmissão hidrostática e cinco clipes (¼ pol.).
Retire o perno de gancho e o cabo da transmissão hidrostática do parafuso do conjunto de transmissão hidrostática. Remova o cabo da transmissão hidrostática do parafuso (Figura 11).
Remova o parafuso (¼ x ⅝ pol.) que prende o suporte da transmissão hidrostática ao suporte da transmissão hidrostática superior (Figura 11).
Remova o parafuso (5/16 x 1¼ pol.) e a porca de bloqueio (5/16 pol.) que prende o suporte da transmissão hidrostática ao conjunto da transmissão hidrostática (Figura 11).
Remova o suporte da transmissão hidrostática com o cabo da transmissão hidrostática ainda preso ao suporte.
Remova o anel de retenção que prende o cabo da transmissão hidrostática ao suporte.
Remova o cabo da transmissão hidrostática do suporte e deite fora o suporte.

Peças necessárias para este passo:
| Suporte da transmissão hidrostática | 1 |
| Anel de retenção | 1 |
| Abraçadeira do cabo | 1 |
| Parafuso sextavado cónico (1/4 pol. x 5/8 pol.) | 1 |
Instale o cabo da transmissão hidrostática no novo suporte da transmissão hidrostática.
Instale o cabo da transmissão hidrostática no suporte da transmissão hidrostática e prenda-o com um anel de retenção.
Instale a nova abraçadeira de cabos no suporte transmissão hidrostática, prenda com o parafuso sextavado cónico (1/4 x 5/8 pol.) (Figura 12).

Instale o suporte da transmissão hidrostática no conjunto da transmissão hidrostática.
Instale o parafuso sextavado (1/4 x 5/8 pol.) que prende o suporte da transmissão hidrostática ao suporte da transmissão hidrostática superior (Figura 13).
Note: Instale o parafuso apertado à mão.

Instale o cabo da transmissão hidrostática ao parafuso no conjunto da transmissão hidrostática e prenda-o com o perno de gancho (Figura 14).

Peças necessárias para este passo:
| Suporte da transmissão hidrostática | 1 |
| Clipe (¼ pol.) | 5 |
| Parafuso (5/16 x 1¼ pol.) | 1 |
| Porca de bloqueio (5/16 pol.) | 1 |
Instale os cinco clipes (¼ pol.) para o novo suporte da transmissão hidrostática.
Instale o novo suporte da transmissão hidrostática no conjunto da transmissão hidrostática.
Prenda o topo do suporte da transmissão hidrostática ao conjunto da transmissão hidrostática e ao suporte da transmissão hidrostática com o novo parafuso (5/16 x 1¼ pol.) e a porca de bloqueio (5/16 pol.) (Figura 15).

Prenda a parte inferior do suporte da transmissão hidrostática ao hidráulico com o parafuso de retenção (5/16 x 1¼ pol.) e a porca de bloqueio (5/16 pol.) (Figura 16)
Instale os dois parafusos (¼ x ⅝ pol.) que prendem o suporte transmissão hidrostática à placa superior (Figura 16).

Aperte o parafuso (¼ x ⅝ pol.) que prende o suporte da transmissão hidrostática ao suporte da transmissão hidrostática superior (Figura 13).
Peças necessárias para este passo:
| Braço da embraiagem de tração | 1 |
| Mola de extensão | 1 |
| Correia de tração | 1 |
| Polia intermédia plana | 1 |
| Polia intermédia em V | 1 |
| Guia da correia | 1 |
| Parafuso (5/16 pol. x 1-½ pol.) | 1 |
| Porca de bloqueio (5/16 pol.) | 1 |
Instale as novas polias de roldanas, correia de tração e guia da correia para o novo braço da embraiagem de tração.
Instale a polia intermédia chata ao topo do braço da embraiagem de tração, prenda com o parafuso (3/8 x 1-3/8 pol.) e a porca de bloqueio (3/8 pol.) (Figura 17).
Note: Instale as fixações apertadas à mão e depois prenda-as com uma chave.
Instale a polia intermédia em V, a correia de tração e a guia da correia ao fundo do braço da embraiagem de tração, prenda com o novo parafuso (5/16 x 1–1/2 pol.) e a porca de bloqueio (5/16 pol.) (Figura 17).
Note: Instale as fixações apertadas à mão e depois prenda-as com uma chave.

Aplique produto antigripagem na área articulada do braço da embraiagem de tração.
Instale o parafuso com olhal (7/16 x 1¾ pol.) na área articulada do braço da embraiagem de tração.
Instale a curva Z do cabo de tração do braço intermédio de tração (Figura 18).

Instale o conjunto do braço da embraiagem de tração no suporte da embraiagem e prenda-o com o novo parafuso com olhal (7/16 x 1¾ pol.) e a porca de bloqueio (7/16 pol.) (Figura 19).

Instale a mola de extensão no braço da embraiagem de tração e estenda a mola para a placa lateral direita.
Se reutilizar a correia de tração, encaminhe a correia de tração como se mostra abaixo (Figura 20).

Note: Complete este procedimento se substituir a correia de tração.
Instale a correia de tração sobre o conjunto da transmissão hidrostática e polias na cambota.
Encaminhe a correia de tração em redor do conjunto da transmissão hidrostática (Figura 20).
Instale as duas polias de tração na cambota e encaminhe a correia de tração entre as polias (Figura 20).

Instale a polia do espaçador, suporte da polia, polia da hélice e correia do sem fim na cambota (Figura 22).
Aplique Loctite nas roscas dos parafusos da lâmina (7/16 x 1¾ pol.)
Instale o parafuso da lâmina (7/16 x 1¾ pol.) na polia da hélice (Figura 22). Aperte os parafusos com uma força de 13,6 -18,1 N•m

Aplique Loctite nas roscas dos dois parafusos (M8 x 1¼ x 20).
Instale a guia da correia no motor e prenda-a com os dois parafusos (M8 x 1¼ x 20).
Verifique se há uma folga adequada entre a correia do sem-fim e a guia da correia. Deve haver uma folga de ~3,2 mm (⅛ pol.)
Instale a cobertura da correia na máquina e prenda-a com os dois parafusos (¼ x ⅝ pol.) (Figura 23).

Ligue a cablagem ao conjunto da luz.
Peças necessárias para este passo:
| Cobertura inferior | 1 |
A partir da parte inferior da máquina, instale a nova cobertura inferior e prenda-a com os quatro parafusos (¼ x ⅝ pol.).
Traga a cobertura traseira para a máquina, prenda a mola do cabo esquerdo da embraiagem ao conjunto da transmissão hidrostática. Repita com o cabo de embraiagem direito.
Encaminhe o cabo da transmissão hidrostática através da cobertura traseira.
Instale a cobertura traseira à placa da estrutura e prenda-a com seis parafusos (¼ x ⅝ pol.).
Instale o cabo da transmissão hidrostática ao suporte do seletor de velocidade (Figura 24).
Prenda o cabo da transmissão hidrostática ao seletor de velocidade com um parafuso com olhal (¼ x 1 pol.), anilha escalonada e porca (¼ pol.) (Figura 24).
Note: O lado plano da anilha escalonada deve estar no seletor de velocidade.

A partir do lado esquerdo da máquina, engate o cabo da embraiagem na alavanca da embraiagem (Figura 25). Repita no lado direito.
A partir do lado esquerdo da máquina, instale a abraçadeira de cabos no tubo inferior do cabo e prenda-a com o parafuso (¼ x 2¾ pol.) e a porca (¼ pol.) (Figura 25). Repita no lado direito.

Instale o suporte de regulação de altura na placa superior e na cobertura traseira e prenda-o com os três parafusos (¼ x ⅝ pol.) (Figura 26).

Instale a nova cobertura inferior à parte inferior da máquina e prenda-a com os quatro parafusos (¼ x ⅝ pol.).
Remova as preguiças por baixo dos eixos dos conjuntos da transmissão hidrostática esquerda e direita. Substitua as preguiças ou o dispositivo de elevação superior utilizados em Preparação da máquina.
Peças necessárias para este passo:
| Conjunto do suporte da lagarta esquerda | 1 |
| Conjunto do suporte da lagarta direita | 1 |
| Placa da barra articulada | 2 |
| Parafuso de carroçaria (5/16 x 1 pol.) | 6 |
| Porca de bloqueio (5/16 pol.) | 11 |
| Placa do suporte | 2 |
Note: Inicie os procedimentos no suporte da lagarta esquerda e depois repita no suporte da lagarta direita.
Instale o tensor no novo conjunto de suporte da lagarta e prenda-o sem apertar com a anilha (⅜ pol.) e o parafuso (⅜ x 4 pol.) guardados (Figura 27).

Instale o casquilho do eixo no suporte da lagarta (Figura 28).
Instale o suporte do casquilho do eixo ao suporte da lagarta e prenda-o com os dois parafusos (¼ x ⅝ pol.) (Figura 28).

Instale a nova placa da barra articulada no suporte da lagarta e prenda-a com dois novos parafusos de carroçaria (5/16 x 1 pol.) e duas porcas de bloqueio (5/16 pol.) (Figura 29).
Instale a nova placa do suporte ao suporte da lagarta e prenda-a com o novo parafuso de carroçaria (5/16 x 1 pol.) e porca de bloqueio (5/16 pol.) (Figura 29).

Instale a culatra do bogie retida no suporte da lagarta e prenda-a sem apertar com o parafuso de carroçaria (⅜ x 3 pol.) e porca de bloqueio (⅜ pol.) (Figura 30).
Instale a roda do bogie direita retida na culatra do bogie e no suporte da lagarta e prenda-a sem apertar com o parafuso de carroçaria (⅜ x 3 pol.), casquilho tensor e porca de bloqueio (⅜ pol.) (Figura 30).
Instale a roda do bogie esquerda no suporte da lagarta e prenda-a com o parafuso de carroçaria (⅜ x 3 pol.), casquilho tensor e porca de bloqueio (⅜ pol.) (Figura 30).

Peças necessárias para este passo:
| Barra articulada | 2 |
| Anilha especial | 4 |
| Porca de bloqueio (⅜ pol.) | 4 |
| Conjunto do suporte da roda | 2 |
| Parafuso de carroçaria (5/16 x ¾ pol.) | 4 |
| Roda do bogie | 4 |
| Parafuso com olhal (⅜ x 2-7/16 pol.) | 4 |
| Porca de bloqueio (⅜ pol.) | 4 |
Do lado esquerdo da máquina, instale o conjunto da roda motriz no cubo do eixo, prenda-o com o pino de sujeição. Repita no lado direito.
Coloque os conjuntos de lagartas esquerda e direita nos seus respetivos lados da máquina.
Deslize a nova barra articulada para dentro do cubo da articulação e prenda-a com dois pernos de gancho.
Instale as duas anilhas especiais na barra articulada no cubo da articulação. Instale a barra articulada com as anilhas especiais nos conjuntos de lagartas e placa articulada e prenda-a com duas novas porcas de bloqueio (⅜ pol.) (Figura 31).

Instale as duas anilhas especiais na nova barra articulada. Instale a nova barra articulada com as anilhas especiais nos conjuntos de lagartas e placa de suporte, prenda com duas novas porcas de bloqueio (3/8 pol.) (Figura 32).

A partir do lado esquerdo da máquina, deslize a culatra do bogie para a esquerda e instale a lagarta à volta do conjunto de lagarta e da roda motriz. Repita no lado direito.
A partir do lado esquerdo da máquina, aperte o tensor até haver 9,5 mm de deflexão da lagarta. Repita no lado direito.
A partir do lado esquerdo da máquina, aperte as duas porcas (9/16 pol.) que prendem a culatra do bogie ao conjunto da lagarta a 47,5 N•m. Repita no lado direito.
Instale o novo conjunto de suporte da roda no suporte da lagarta e prenda-o com dois novos parafusos de carroçaria (5/16 x ¾ pol.) e duas porcas de bloqueio (5/16 pol.).
Instale as duas novas rodas do bogie no conjunto do suporte da roda e prenda-as com dois novos parafusos com olhal (⅜ x 2–7/16 pol.) e duas porcas de bloqueio (⅜ pol.).
Teste a máquina para o correto funcionamento. Se necessário, afine os cabos da embraiagem, consulte o Manual do utilizador dos produtos.