Important: Сохраните все отдельные детали для установки на более позднем этапе, если не указано иное.
Припаркуйте машину на ровной горизонтальной поверхности.
Выключите двигатель, извлеките ключ и дождитесь остановки всех движущихся частей.
Прежде чем выполнять техническое обслуживание, дайте компонентам машины остыть.
Отсоедините провод свечи зажигания.
Используя напольный домкрат или подвесное подъемное устройство, поднимите машину так, чтобы гусеницы были приподняты над землей.
На боковых сторонах машины отверните и удалите в отходы 2 винта (5/16 x ⅝ дюйма), которые крепят переднюю скобу к 2 узлам опор гусениц. Снимите и удалите в отходы переднюю скобу.
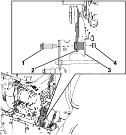
С левой стороны машины отверните и удалите в отходы винт (5/16 x ¾ дюйма) и плоскую шайбу (⅜ x ⅞ дюйма), которые крепят опору гусеницы к поворотной штанге (Рисунок 1). Повторите эти действия на правой стороне.

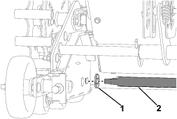
С левой стороны машины снимите шплинт с кольцом со ступицы оси. Повторите эти действия на правой стороне.
С левой стороны машины установите опору под ведущее колесо в сборе с подсоединенным узлом гусеницы и снимите эти узлы с машины. Повторите эти действия на правой стороне.
Снимите 2 ведущих колеса в сборе с двух узлов гусениц.
Извлеките 2 шплинта из поворотной штанги.
Сдвиньте и снимите поворотную штангу с поворотной ступицы. Удалите в отходы поворотную штангу.
Note: Начните с левой гусеницы и затем повторите эти действия на правой гусенице.
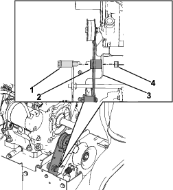
Снимите каретный болт (⅜ x 3 дюйма), втулку натяжителя и контргайку (⅜ дюйма), которые крепят левый опорный каток к опоре гусеницы (Рисунок 2). Снимите каток.
Снимите каретный болт (⅜ x 3 дюйма), втулку натяжителя и контргайку (⅜ дюйма), которые крепят правый опорный каток к вилке опорного катка и опоре гусеницы (Рисунок 2). Снимите каток.
Отверните каретный болт (⅜ x 3 дюйма) и контргайку (⅜ дюйма), которые крепят вилку опорного катка к опоре гусеницы. Снимите вилку опорного катка с опоры гусеницы (Рисунок 2).
Снимите втулку оси (Рисунок 2).
Отверните 2 винта (¼ x ⅝ дюйма), которые крепят опору втулки оси к опоре гусеницы. Снимите опору втулки оси (Рисунок 2).
Отверните винт (⅜ x 4 дюйма), снимите втулку натяжителя и шайбу (⅜ дюйма), которые крепят натяжитель к креплению опорного катка (Рисунок 2). Снимите натяжитель.
Удалите 2 каретных болта (5/16 x ¾ дюйма) и 2 контргайки (5/16 дюйма), которые крепят полоз к опоре гусеницы. Удалите в отходы полоз.
Удалите в отходы опору гусеницы.

Установите подъемные опоры под левый и правый валы гидростатического привода в сборе, чтобы получить доступ к нижней крышке. Удалите подъемные опоры или подвесное устройство, использованные при выполнении действий, описанных в разделе Подготовка машины.
Note: Для выполнения этой процедуры могут потребоваться 2 человека.
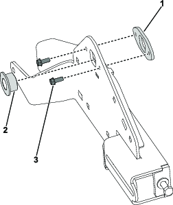
Отверните 3 винта (¼ x ⅝ дюйма), которые крепят кронштейн регулятора высоты к верхней пластине и задней крышке. Снимите кронштейн регулятора высоты с пластины и крышки (Рисунок 3).
Note: Кронштейн регулятора высоты останется подсоединенным к тросам в верхней части машины.

Отверните 6 винтов (¼ x ⅝ дюйма) крепления задней крышки к боковым пластинам рамы.
Отверните гайку с фланцем (¼ дюйма) и ступенчатый болт (¼ x 1 дюйм), которые крепят трос гидростатического привода к переключателю скоростей. Сохраните ступенчатую шайбу (Рисунок 4).
Снимите трос гидростатического привода с кронштейна троса переключателя скоростей и задней крышки (Рисунок 4).

На левой стороне машины отсоедините трос муфты от рычага муфты (Рисунок 5). Повторите эти действия на правой стороне.
На левой стороне машины отверните шестигранную гайку (¼ дюйма) и болт (¼ x 2¾ дюйма), которые крепят хомут троса к нижней трубке рукоятки (Рисунок 5). Повторите эти действия на правой стороне.
Note: Хомуты тросов останутся на тросах муфты.

Отсоедините 2 пружины троса муфты от гидростатического привода в сборе.
Снимите заднюю крышку с подсоединенными тросами муфты.
Отверните 4 винта (¼ x ⅝ дюйма), которые крепят нижнюю крышку к нижней части машины. Снимите и удалите в отходы нижнюю крышку.
Note: Выполните эту процедуру, если приводной ремень поврежден.
Отверните 2 винта (M8 x 1¼ x 20) крепления направляющей ремня к двигателю. Снимите направляющую ремня.
Отверните болт с буртиком (7/16 x 1¾ дюйма), который крепит шкив рабочего колеса к коленчатому валу. Снимите шкив, ремень шнека, опору шкива и разделительный шкив с коленчатого вала (Рисунок 7).
Note: Если необходимо, удерживайте ступицу между шкивом и двигателем, чтобы предотвратить проворачивание коленчатого вала.

Снимите 2 приводных шкива и приводной ремень с коленчатого вала (Рисунок 8).

С нижней стороны машины снимите и удалите в отходы приводной ремень.
Снимите и удалите в отходы пружину растяжения на рычаге натяжного ролика тягового привода.
Снимите Z-образный изгиб троса тягового привода с рычага натяжного ролика тягового привода.
Удалите гайку (7/16 дюйма) и ступенчатый болт (7/16 x 1¾ дюйма), которые крепят рычаг натяжного ролика тягового привода к кронштейну муфты тормоза (Рисунок 9).

Отверните гайку (⅜ дюйма) и болт (⅜ x 1⅜ дюйма), которые крепят натяжной ролик к рычагу натяжного ролика тягового привода. Удалите в отходы рычаг натяжного ролика тягового привода и натяжной ролик.
С задней стороны машины отверните 2 винта (¼ x ⅝ дюйма), которые крепят опору гидростатического привода к верхней пластине (Рисунок 10).
Отверните болт (5/16 x 1¼ дюйма) и контргайку (5/16 дюйма), которые крепят нижнюю часть опоры гидростатического привода к гидростатическому приводу в сборе. Снимите опору гидростатического привода с машины (Рисунок 10).

Удалите в отходы опору гидростатического привода и 5 зажимов (¼ дюйма).
Извлеките шплинт и снимите трос гидростатического привода с болта на гидростатическом приводе в сборе. Снимите трос гидростатического привода с болта (Рисунок 11).
Отверните винт (¼ x ⅝ дюйма), который крепит кронштейн гидростатического привода к верхнему кронштейну гидростатического привода (Рисунок 11).
Отверните болт (5/16 x 1¼ дюйма) и контргайку (5/16 дюйма), которые крепят кронштейн гидростатического привода к гидростатическому приводу в сборе (Рисунок 11).
Снимите кронштейн гидростатического привода с подсоединенным к нему тросом гидростатического привода.
Снимите стопорное кольцо, крепящее трос гидростатического привода к кронштейну.
Отсоедините трос гидростатического привода от кронштейна и удалите кронштейн в отходы.

Детали, требуемые для этой процедуры:
| Кронштейн гидростатического привода | 1 |
| Стопорное кольцо | 1 |
| Хомут троса | 1 |
| Конусный болт с шестигранной головкой (¼ x ⅝ дюйма) | 1 |
Подсоедините трос гидростатического привода к новому кронштейну гидростатического привода.
Подсоедините трос гидростатического привода к кронштейну гидростатического привода, закрепите стопорным кольцом.
Установите новый хомут троса на кронштейн гидростатического привода, закрепите конусным болтом с шестигранной головкой (¼ x ⅝ дюйма) (Рисунок 12).

Установите кронштейн гидростатического привода на гидростатический привод в сборе.
Заверните болт с шестигранной головкой (¼ x ⅝ дюйма), который крепит кронштейн гидростатического привода к верхнему кронштейну гидростатического привода (Рисунок 13).
Note: Заверните винт и затяните его от руки.

Подсоедините трос гидростатического привода к болту на гидростатическом приводе в сборе, закрепите шплинтом (Рисунок 14).

Детали, требуемые для этой процедуры:
| Опора гидростатического привода | 1 |
| Зажим (¼ дюйма) | 5 |
| Болт (5/16 x 1¼ дюйма) | 1 |
| Контргайка (5/16 дюйма) | 1 |
Установите 5 зажимов (¼ дюйма) на новую опору гидростатического привода.
Установите новую опору гидростатического привода на гидростатический привод в сборе.
Прикрепите верхнюю часть опоры гидростатического привода к гидростатическому приводу в сборе и кронштейну гидростатического привода с помощью нового болта (5/16 x 1¼ дюйма) и контргайки (5/16 дюйма) (Рисунок 15).

Прикрепите нижнюю часть опоры гидростатического привода к гидростатическому приводу с помощью сохраненного болта (5/16 x 1¼ дюйма) и контргайки (5/16 дюйма) (Рисунок 16).
Заверните 2 винта (¼ x ⅝ дюйма), которые крепят опоры гидростатического привода к верхней пластине (Рисунок 16).

Затяните винт (¼ x ⅝ дюйма), который крепит кронштейн гидростатического привода к верхнему кронштейну гидростатического привода (Рисунок 13).
Детали, требуемые для этой процедуры:
| Рычаг муфты тягового привода | 1 |
| Пружина растяжения | 1 |
| Приводной ремень | 1 |
| Плоский натяжной ролик | 1 |
| V-образный натяжной ролик | 1 |
| Направляющая ремня | 1 |
| Болт (5/16 x 1¼ дюйма) | 1 |
| Контргайка (5/16 дюйма) | 1 |
Установите новые натяжные ролики, приводной ремень и направляющую ремня на новый рычаг муфты тягового привода.
Установите плоский натяжной шкив на верхнюю часть рычага муфты тягового привода, закрепите болтом (⅜ x 1⅜ дюйма) и контргайкой (⅜ дюйма) (Рисунок 17).
Note: Установите крепежные детали, затянув от руки, затем затяните ключом.
Установите V-образный натяжной шкив, приводной ремень и направляющую ремня на нижнюю часть рычага тягового привода, закрепите новым болтом (5/16 x 1½ дюйма) и контргайкой (5/16 дюйма) (Рисунок 17).
Note: Установите крепежные детали, затянув от руки, затем затяните ключом.

Нанесите противозадирный состав на область поворота рычага муфты тягового привода.
Установите ступенчатый болт (7/16 x 1¾ дюйма) в зону поворота рычага муфты тягового привода.
Установите Z-образный изгиб троса тягового привода на рычаг муфты тягового привода (Рисунок 18).

Установите узел рычага муфты тягового привода на кронштейн муфты тормоза, закрепите новым ступенчатым болтом (7/16 x 1¾ дюйма) и контргайкой (7/16 дюйма) (Рисунок 19).

Подсоедините пружину растяжения к рычагу муфты тягового привода и растяните пружину к правой боковой пластине.
Если приводной ремень используется повторно, проложите его, как показано ниже (Рисунок 20).

Note: Выполните эту процедуру при замене приводного ремня.
Установите приводной ремень на гидростатический привод в сборе и шкивы на коленчатом валу.
Проложите приводной ремень вокруг гидростатического привода в сборе (Рисунок 20).
Установите 2 приводных шкива на коленчатый вал и проложите приводной ремень между шкивами (Рисунок 20).

Установите разделительный шкив, опору шкива, шкив рабочего колеса и шкив шнека на коленчатый вал (Рисунок 22).
Нанесите состав Loctite на болт с буртиком (7/16 x 1¾ дюйма).
Заверните болт с буртиком (7/16 x 1¾ дюйма) в шкив рабочего колеса (Рисунок 22). Затяните болт с моментом 13,6–18,1 Н·м.

Нанесите состав Loctite на 2 винта (M8 x 1¼ x 20).
Установите направляющую ремня на двигатель, закрепите 2 винтами (M8 x 1¼ x 20).
Проверьте наличие надлежащего зазора между ремнем шнека и направляющей ремня. Зазор должен составлять ~3,2 мм.
Установите крышку ремня на машину, закрепите 2 винтами (¼ x ⅝ дюйма) (Рисунок 23).

Подсоедините жгут проводов к световому прибору в сборе.
Детали, требуемые для этой процедуры:
| Нижняя крышка | 1 |
С нижней части машины установите новую нижнюю крышку, закрепите 4 винтами (¼ x ⅝ дюйма).
Поднесите заднюю крышку к машине, прицепите пружину троса левой муфты к гидростатическому приводу в сборе. Повторите эти действия с тросом правой муфты.
Проложите трос гидростатического привода через заднюю крышку.
Установите заднюю крышку на пластину рамы, закрепите 6 винтами (¼ x ⅝ дюйма).
Подсоедините трос гидростатического привода к кронштейну переключателя скоростей (Рисунок 24).
Прикрепите трос гидростатического привода к переключателю скоростей с помощью ступенчатого болта (¼ x 1 дюйм), ступенчатой шайбы и гайки (¼ дюйма) (Рисунок 24).
Note: Плоская сторона ступенчатой шайбы должна быть на переключателе скоростей.

С левой стороны машины прицепите трос муфты к рычагу муфты (Рисунок 25). Повторите эти действия на правой стороне.
С левой стороны машины установите хомут троса на нижнюю трубку рукоятки, закрепите болтом (¼ x 2¾ дюйма) и гайкой (¼ дюйма) (Рисунок 25). Повторите эти действия на правой стороне.

Установите кронштейн регулятора высоты на верхнюю пластину и заднюю крышку, закрепите 3 винтами (¼ x ⅝ дюйма) (Рисунок 26).

Прикрепите новую нижнюю крышку к нижней части машины, закрепите 4 винтами (¼ x ⅝ дюйма).
Удалите подъемные опоры из-под левого и правого валов гидростатического привода. Заново установите подъемные опоры или подвесное устройство, использованные при выполнении действий, описанных в разделе Подготовка машины.
Детали, требуемые для этой процедуры:
| Узел опоры левой гусеницы | 1 |
| Узел опоры правой гусеницы | 1 |
| Пластина поворотной штанги | 2 |
| Каретный болт (5/16 x 1 дюйм) | 6 |
| Контргайка (5/16 дюйма) | 11 |
| Опорная пластина | 2 |
Note: Начните выполнение действий с опоры левой гусеницы, затем повторите эти действия на опоре правой гусеницы.
Установите натяжитель на новый узел опоры гусеницы, закрепите, не затягивая, при помощи сохраненной шайбы (⅜ дюйма) и винта (⅜ x 4 дюйма) (Рисунок 27).

Вставьте втулку оси в опору гусеницы (Рисунок 28).
Установите опору втулки оси на опору гусеницы, закрепите при помощи 2 винтов (¼ x ⅝ дюйма) (Рисунок 28).

Установите новую пластину поворотной штанги на опору гусеницы, закрепите при помощи 2 новых каретных болтов (5/16 x 1 дюйм) и 2 контргаек (5/16 дюйма) (Рисунок 29).
Установите новую опорную пластину на опору гусеницы, закрепите при помощи нового каретного болта (5/16 x 1 дюйм) и контргайки (5/16 дюйма) (Рисунок 29).

Подсоедините сохраненную вилку опорного катка к опоре гусеницы, закрепите, не затягивая, при помощи каретного болта (⅜ x 3 дюйма) и контргайки (⅜ дюйма) (Рисунок 30).
Подсоедините сохраненный правый опорный каток к вилке опорного катка и опоре гусеницы, закрепите, не затягивая, при помощи каретного болта (⅜ x 3 дюйма), втулки натяжителя и контргайки (⅜ дюйма) (Рисунок 30).
Подсоедините левый опорный каток к опоре гусеницы, закрепите при помощи каретного болта (⅜ x 3 дюйма), втулки натяжителя и контргайки (⅜ дюйма) (Рисунок 30).

Детали, требуемые для этой процедуры:
| Поворотная штанга | 2 |
| Специальная шайба | 4 |
| Контргайка (⅜ дюйма) | 4 |
| Узел опоры катка | 2 |
| Каретный болт (5/16 x ¾ дюйма) | 4 |
| Опорный каток | 4 |
| Ступенчатый болт (⅜ x 2-7/16 дюйма) | 4 |
| Контргайка (⅜ дюйма) | 4 |
С левой стороны машины установите ведущее колесо в сборе на ступицу оси, закрепите шплинтом с кольцом. Повторите эти действия на правой стороне.
Установите левый и правый узлы гусениц на соответствующие стороны машины.
Введите новую поворотную штангу в поворотную ступицу, закрепите 2 шплинтами.
Установите 2 специальные шайбы на поворотную штангу в поворотной ступице. Установите поворотную штангу со специальными шайбами на узлы гусениц и поворотную пластину, закрепите 2 новыми контргайками (⅜ дюйма) (Рисунок 31).

Установите две специальные шайбы на новую поворотную штангу. Проденьте новую поворотную штангу со специальными шайбами через узлы гусениц и опорную пластину, закрепите 2 новыми контргайками (⅜ дюйма) (Рисунок 32).

С левой стороны машины сдвиньте вилку опорного катка влево и проложите гусеницу вокруг узла гусеницы и ведущего колеса. Повторите эти действия на правой стороне.
С левой стороны машины затяните натяжитель так, чтобы отклонение гусеницы составило 9,5 мм. Повторите эти действия на правой стороне.
С левой стороны машины затяните 2 гайки (9/16 дюйма), которые крепят вилку опорного катка к узлу гусеницы, с моментом 47,5 Н·м. Повторите эти действия на правой стороне.
Установите новый узел опоры катка на опору гусеницы, закрепите при помощи 2 новых каретных болтов (5/16 x ¾ дюйма) и 2 контргаек (5/16 дюйма).
Установите 2 новых опорных катка на узел опоры катка, закрепите при помощи 2 ступенчатых болтов (⅜ x 2-7/16 дюйма) и 2 контргаек (⅜ дюйма).
Проверьте исправность работы машины. Если необходимо, отрегулируйте тросы муфты; см. Руководство оператора для соответствующего изделия.