Important: Ak nie je uvedené inak, všetky voľné diely si odložte na neskoršiu montáž.
Stroj zaparkujte na rovnom povrchu.
Zastavte motor, vyberte kľúč a čakajte, kým sa nezastavia všetky pohyblivé časti.
Pred vykonaním údržby nechajte diely stroja vychladnúť.
Odpojte drôt zapaľovacej sviečky.
Pomocou stojana alebo portálového zdvíhacieho zariadenia zdvíhajte stroj, kým sa nebudú pásy nachádzať nad zemou.
Z bočných strán stroja demontujte 2 skrutky (5/16 × ⅝") zaisťujúce prednú svorku na 2 zostavách podpery pásov a zlikvidujte ich. Demontujte a zlikvidujte prednú svorku.
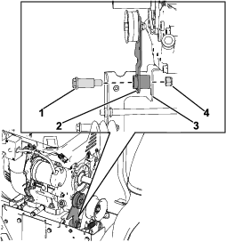
Z ľavej strany stroja demontujte skrutku (5/16 × ¾") a plochú podložku (⅜ × ⅞") zaisťujúce podperu pásov na otočnej tyči a zlikvidujte ich (Obrázok 1). Postup zopakujte na pravej strane.

Z ľavej strany stroja demontujte z náboja nápravy svorník. Postup zopakujte na pravej strane.
Na ľavej strane stroja podoprite zostavu hnacích kolies s pripevnenou zostavou pásov a demontujte zostavy zo stroja. Postup zopakujte na pravej strane.
Demontujte 2 zostavy hnacích kolies z 2 zostáv pásov.
Z otočnej tyče vyberte 2 závlačky.
Otočnú tyč vysuňte a demontujte z otočného náboja. Otočnú tyč zlikvidujte.
Note: Začnite od ľavého pásu a potom postup zopakujte s pravým pásom.
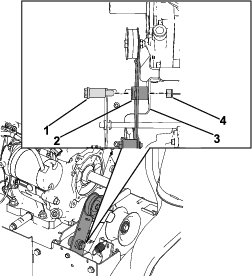
Demontujte vratovú skrutku (⅜ × 3"), puzdro napínača a poistnú maticu (⅜") zaisťujúce ľavé koleso podvozka na podpere pásov (Obrázok 2). Demontujte koleso.
Demontujte vratovú skrutku (⅜ × 3"), puzdro napínača a poistnú maticu (⅜") zaisťujúce pravé koleso podvozka na strmeni podvozka a podpere pásov (Obrázok 2). Demontujte koleso.
Demontujte vratovú skrutku (⅜ × 3") a poistnú maticu (⅜") zaisťujúce strmeň podvozka na podpere pásov. Demontujte strmeň podvozka z podpery pásov (Obrázok 2).
Demontujte puzdro nápravy (Obrázok 2).
Demontujte 2 skrutky (¼ × ⅝") zaisťujúce podperu puzdra nápravy na podpere pásov. Demontujte podperu puzdra nápravy (Obrázok 2).
Demontujte skrutku (⅜ × 4"), puzdro napínača a podložku (⅜") zaisťujúce napínač na montážnom prvku kolesa podvozka (Obrázok 2). Demontujte napínač.
Demontujte 2 vratové skrutky (5/16 × ¾") a 2 poistné matice (5/16") zaisťujúce plošinu na podpere pásov. Plošinu zlikvidujte.
Zlikvidujte podperu pásov.

Umiestnite pod ľavý a pravý hriadeľ zostavy hydrostatického pohonu stojany, aby ste mali prístup k spodnému krytu. Demontujte stojany alebo portálové zdvíhacie zariadenie použité v časti Príprava stroja.
Note: Na vykonanie tohto postupu môžu byť potrebné 2 osoby.
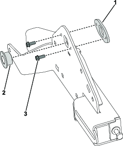
Demontujte 3 skrutky (¼ × ⅝") zaisťujúce konzolu nastavovacieho prvku výšky na vrchnej doske a zadnom kryte. Demontujte konzolu nastavovacieho prvku výšky z dosky a krytu (Obrázok 3).
Note: Konzola nastavovacieho prvku výšky zostane pripevnená ku káblom vo vrchnej časti stroja.

Demontujte 6 skrutiek (¼ × ⅝") zaisťujúce zadný kryt na bočných doskách rámu.
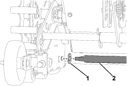
Demontujte maticu s prírubou (¼") a nasadzovaciu skrutku (¼ × 1") zaisťujúce kábel hydrostatického pohonu na voliči rýchlosti. Odložte stupňovitú podložku (Obrázok 4).
Demontujte kábel hydrostatického pohonu z konzoly kábla rýchlosti a zadného krytu (Obrázok 4).

Z ľavej strany stroja odpojte kábel spojky z páky spojky (Obrázok 5). Postup zopakujte na pravej strane.
Z ľavej strany stroja demontujte šesťhrannú maticu (¼") a skrutku (¼ × 2-¾") zaisťujúce svorku kábla na rúrke spodnej rukoväti (Obrázok 5). Postup zopakujte na pravej strane.
Note: Svorky káblov zostanú na kábloch spojky.

Odháknite 2 pružiny káblov spojky zo zostavy hydrostatického pohonu.
Demontujte zadný kryt s namontovanými káblami spojky.
Demontujte 4 skrutky (¼ × ⅝") zaisťujúce spodný kryt na spodnej časti stroja. Demontujte a zlikvidujte spodný kryt.
Note: Tento postup vykonajte v prípade poškodenia trakčného remeňa.
Demontujte 2 skrutky (M8 × 1¼ × 20) zaisťujúce vedenie remeňa na motore. Demontujte vedenie remeňa.
Demontujte čepeľovú skrutku (7/16 × 1¾") zaisťujúcu remenicu poháňača na kľukovej skrini. Demontujte remenicu, remeň vrtáka, podperu remenice a rozperu remenice z kľukovej skrine (Obrázok 7).
Note: V prípade potreby podržte náboj medzi remenicou a motorom, aby sa kľuková skriňa neotáčala.

Demontujte 2 trakčné remenice a trakčný remeň z kľukovej skrine (Obrázok 8).

Spod stroja demontujte trakčný remeň a zlikvidujte ho.
Demontujte ťažnú pružinu z ramena trakčnej napínacej kladky a pružinu zlikvidujte.
Demontujte prvok ohnutý v tvare písmena Z z trakčného kábla na ramene trakčnej napínacej kladky.
Demontujte maticu (7/16") a nasadzovaciu skrutku (7/16 × 1¾") zaisťujúce rameno trakčnej napínacej kladky na konzole spojky brzdy (Obrázok 9).

Demontujte maticu (⅜") a skrutku (⅜ × 1⅜") zaisťujúce remenicu napínacej kladky na ramene trakčnej napínacej kladky. Rameno trakčnej napínacej kladky a remenicu napínacej kladky zlikvidujte.
Zo zadnej strany stroja demontujte 2 skrutky (¼ × ⅝") zaisťujúce podperu hydrostatického pohonu na vrchnej doske (Obrázok 10).
Demontujte skrutku (5/16 × 1¼") a poistnú maticu (5/16") zaisťujúce spodnú časť podpery hydrostatického pohonu na zostave hydrostatického pohonu. Demontujte zo stroja podperu hydrostatického pohonu (Obrázok 10).

Zlikvidujte podperu hydrostatického pohonu a 5 svoriek (¼").
Demontujte závlačku a kábel hydrostatického pohonu zo skrutky na zostave hydrostatického pohonu. Demontujte zo skrutky kábel hydrostatického pohonu (Obrázok 11).
Demontujte skrutku (¼ × ⅝") zaisťujúcu konzolu hydrostatického pohonu na vrchnej konzole hydrostatického pohonu (Obrázok 11).
Demontujte skrutku (5/16 × 1¼") a poistnú maticu (5/16") zaisťujúce konzolu hydrostatického pohonu na zostave hydrostatického pohonu (Obrázok 11).
Demontujte konzolu hydrostatického pohonu s káblom hydrostatického pohonu pripevneným na konzole.
Demontujte poistný krúžok zaisťujúci kábel hydrostatického pohonu na konzole.
Demontujte kábel hydrostatického pohonu z konzoly a konzolu zlikvidujte.

Diely potrebné na prevedenie tohoto kroku:
| Konzola hydrostatického pohonu | 1 |
| Poistný krúžok | 1 |
| Svorka kábla | 1 |
| Kužeľová šesťhranná skrutka (¼ × ⅝") | 1 |
Namontujte kábel hydrostatického pohonu na novú konzolu hydrostatického pohonu.
Namontujte kábel hydrostatického pohonu na konzolu hydrostatického pohonu a zaistite ho poistným krúžkom.
Namontujte na konzolu hydrostatického pohonu novú svorku kábla a zaistite ju kužeľovou šesťhrannou skrutkou (¼ × ⅝") (Obrázok 12).

Namontujte konzolu hydrostatického pohonu na zostavu hydrostatického pohonu.
Namontujte šesťhrannú skrutku (¼ × ⅝") zaisťujúcu konzolu hydrostatického pohonu na vrchnej konzole hydrostatického pohonu (Obrázok 13).
Note: Skrutku pevne utiahnite rukou.

Na skrutku na zostave hydrostatického pohonu namontujte kábel hydrostatického pohonu a zaistite ho závlačkou (Obrázok 14).

Diely potrebné na prevedenie tohoto kroku:
| Podpera hydrostatického pohonu | 1 |
| Svorka (¼) | 5 |
| Skrutka (5/16 × 1¼") | 1 |
| Poistná matica (5/16") | 1 |
Namontujte na novú podperu hydrostatického pohonu 5 svoriek (¼").
Namontujte novú podperu hydrostatického pohonu na zostavu hydrostatického pohonu.
Vrchnú časť podpery hydrostatického pohonu zaistite na zostave hydrostatického pohonu a konzole hydrostatického pohonu novou skrutkou (5/16 × 1¼") a poistnou maticou (5/16") (Obrázok 15).

Spodnú časť podpery hydrostatického pohonu zaistite na hydrostatickej prevodovke odloženou skrutkou (5/16 × 1¼") a poistnou maticou (5/16") (Obrázok 16).
Namontujte 2 skrutky (¼ × ⅝") zaisťujúce podperu hydrostatického pohonu na vrchnej doske (Obrázok 16).

Utiahnite skrutku (¼ × ⅝") zaisťujúcu konzolu hydrostatického pohonu na vrchnej konzole hydrostatického pohonu (Obrázok 13).
Diely potrebné na prevedenie tohoto kroku:
| Trakčné rameno spojky | 1 |
| Ťažná pružina | 1 |
| Trakčný remeň | 1 |
| Plochá remenica napínacej kladky | 1 |
| Remenica vidlicovej napínacej kladky | 1 |
| Vedenie remeňa | 1 |
| Skrutka (5/16 × 1-½") | 1 |
| Poistná matica (5/16") | 1 |
Namontujte na nové trakčné rameno spojky nové remenice napínacej kladky, trakčný remeň a vedenie remeňa.
Na vrchnú časť trakčného ramena spojky namontujte plochú remenicu napínacej kladky a zaistite ju skrutkou (⅜ × 1-⅜") a poistnou maticou (⅜") (Obrázok 17).
Note: Úchytky pevne utiahnite rukou a potom ich zaistite kľúčom.
Na spodnú časť trakčného ramena spojky namontujte remenicu vidlicovej napínacej kladky, trakčný remeň a vedenie remeňa a zaistite ich novou skrutkou (5/16 × 1-½") a poistnou maticou (5/16") (Obrázok 17).
Note: Úchytky pevne utiahnite rukou a potom ich zaistite kľúčom.

Na otočnú časť trakčného ramena spojky naneste ochranu pred zaseknutím.
Na otočnú časť trakčného ramena spojky namontujte nasadzovaciu skrutku (7/16 × 1-¾").
Na trakčné rameno spojky namontujte prvok ohnutý v tvare písmena Z z trakčného kábla (Obrázok 18).

Namontujte zostavu trakčného ramena spojky na konzolu spojky brzdy a zaistite ju novou nasadzovacou skrutkou (7/16 × 1-¾") a poistnou maticou (7/16") (Obrázok 19).

Na rameno trakčnej spojky namontujte ťažnú pružinu a pružinu natiahnite k doske na pravej strane.
Ak opätovne používate trakčný remeň, veďte ho podľa obrázka nižšie (Obrázok 20).

Note: Tento postup vykonajte v prípade výmeny trakčného remeňa.
Trakčný remeň namontujte na zostavu hydrostatického pohonu a na remenice na kľukovej skrini.
Trakčný remeň veďte okolo zostavy hydrostatického pohonu (Obrázok 20).
Na kľukovú skriňu namontujte 2 trakčné remenice a trakčný remeň veďte medzi remenicami (Obrázok 20).

Na kľukovú skriňu namontujte rozperu remenice, podperu remenice, remenicu poháňača a remeň vrtáka (Obrázok 22).
Na závity čepeľovej skrutky (7/16 × 1¾") naneste Loctite.
Na remenicu poháňača namontujte čepeľovú skrutku (7/16 × 1¾") (Obrázok 22). Skrutku utiahnite momentom 13,6 – 18,1 N·m.

Na závity 2 skrutiek (M8 × 1¼ × 20) naneste Loctite.
Na motor namontujte vedenie remeňa a zaistite ho 2 skrutkami (M8 × 1¼ × 20).
Skontrolujte, či je medzi remeňom vrtáka a vedením remeňa dostatočný priestor. Medzera by mala byť približne 3,2 mm.
Na stroj namontujte kryt remeňa a zaistite ho 2 skrutkami (¼ × ⅝") (Obrázok 23).

Pripojte kabeláž k zostave svetiel.
Diely potrebné na prevedenie tohoto kroku:
| Spodný kryt | 1 |
Zo spodnej strany stroja namontujte nový spodný kryt a zaistite ho 4 skrutkami (¼ × ⅝").
Prineste k stroju zadný kryt a zaháknite pružinu ľavého kábla spojky k zostave hydrostatického pohonu. Postup zopakujte s pravým káblom spojky.
Kábel hydrostatického pohonu veďte cez zadný kryt.
Na dosku rámu namontujte zadný kryt a zaistite ho 6 skrutkami (¼ × ⅝").
Na konzolu voliča rýchlosti namontujte kábel hydrostatického pohonu (Obrázok 24).
Kábel hydrostatického pohonu zaistite na voliči rýchlosti nasadzovacou skrutkou (¼ × 1"), stupňovitou podložkou a maticou (¼") (Obrázok 24).
Note: Plochá strana stupňovitej podložky by sa mala nachádzať na voliči rýchlosti.

Z ľavej strany stroja zaháknite kábel spojky na páku spojky (Obrázok 25). Postup zopakujte na pravej strane.
Z ľavej strany stroja namontujte svorku kábla na rúrku spodnej rukoväti a zaistite ju skrutkou (¼ × 2¾") a maticou (¼") (Obrázok 25). Postup zopakujte na pravej strane.

Na vrchnú dosku a zadný kryt namontujte konzolu nastavovacieho prvku výšky a zaistite ju 3 skrutkami (¼ × ⅝") (Obrázok 26).

Na spodnú časť stroja namontujte nový spodný kryt a zaistite ho 4 skrutkami (¼ × ⅝").
Demontujte stojany spod ľavého a pravého hriadeľa hydrostatického pohonu. Znova použite stojany alebo portálové zdvíhacie zariadenie použité v časti Príprava stroja.
Diely potrebné na prevedenie tohoto kroku:
| Zostava podpery ľavého pásu | 1 |
| Zostava podpery pravého pásu | 1 |
| Doska otočnej tyče | 2 |
| Vratová skrutka (5/16 × 1") | 6 |
| Poistná matica (5/16") | 11 |
| Doska podpery | 2 |
Note: Začnite od podpery ľavého pásu a potom postup zopakujte s podporou pravého pásu.
Na novú zostavu podpery pásov namontujte napínač a voľne ho zaistite podložkou (⅜") a skrutkou (⅜ × 4") (Obrázok 27).

Na podperu pásov namontujte puzdro nápravy (Obrázok 28).
Na podperu pásov namontujte podperu puzdra nápravy a zaistite ju 2 skrutkami (¼ × ⅝") (Obrázok 28).

Na podperu pásov namontujte novú dosku otočnej tyče a zaistite ju 2 novými vratovými skrutkami (5/16 × 1") a 2 poistnými maticami (5/16") (Obrázok 29).
Na podperu pásov namontujte novú dosku podpery a zaistite ju novou vratovou skrutkou (5/16 × 1") a poistnou maticou (5/16") (Obrázok 29).

Na podperu pásov namontujte odložený strmeň podvozka a voľne ho zaistite vratovou skrutkou (⅜ × 3") a poistnou maticou (⅜") (Obrázok 30).
Na strmeň podvozka a podperu pásov namontujte odložené pravé koleso podvozka a voľne ho zaistite vratovou skrutkou (⅜ × 3"), puzdrom napínača a poistnou maticou (⅜") (Obrázok 30).
Na podperu pásov namontujte odložené ľavé koleso podvozka a zaistite ho vratovou skrutkou (⅜ × 3"), puzdrom napínača a poistnou maticou (⅜") (Obrázok 30).

Diely potrebné na prevedenie tohoto kroku:
| Otočná tyč | 2 |
| Špeciálna podložka | 4 |
| Poistná matica (⅜") | 4 |
| Zostava podpery kolies | 2 |
| Vratová skrutka (5/16 × ¾") | 4 |
| Koleso podvozka | 4 |
| Nasadzovacia skrutka (⅜ × 2-7/16") | 4 |
| Poistná matica (⅜") | 4 |
Z ľavej strany stroja namontujte na náboj nápravy zostavu hnacích kolies a zaistite ju svorníkom. Postup zopakujte na pravej strane.
Zostavy ľavého a pravého pásu umiestnite na príslušné strany stroja.
Do otočného náboja zasuňte novú otočnú tyč a zaistite ju 2 závlačkami.
Na otočnú tyč v otočnom náboji namontujte 2 špeciálne podložky. Otočnú tyč so špeciálnymi podložkami namontujte na zostavy pásov a otočnú dosku a zaistite ju 2 novými poistnými maticami (⅜") (Obrázok 31).

Na novú otočnú tyč namontujte 2 špeciálne podložky. Novú otočnú tyč so špeciálnymi podložkami namontujte na zostavy pásov a dosku podpery a zaistite ju 2 novými poistnými maticami (⅜") (Obrázok 32).

Z ľavej strany stroja posuňte strmeň podvozka doľava a okolo zostavy pásov a hnacieho kolesa namontujte pás. Postup zopakujte na pravej strane.
Z ľavej strany stroja uťahujte napínač, kým sa nedosiahne 9,5 mm odklon pásov. Postup zopakujte na pravej strane.
Z ľavej strany stroja utiahnite 2 matice (9/16") zaisťujúce strmeň podvozka na zostave pásov momentom 47,5 N·m. Postup zopakujte na pravej strane.
Na podperu pásov namontujte novú zostavu podpery kolies a zaistite ju 2 novými vratovými skrutkami (5/16 × ¾") a 2 poistnými maticami (5/16").
Na zostavu podpery kolies namontujte 2 nové kolesá podvozka a zaistite ich 2 novými nasadzovacími skrutkami (⅜ × 2-7/16") a 2 poistnými maticami (⅜").
Vyskúšajte, či stroj funguje správne. V prípade potreby nastavte káble spojky. Pozrite si používateľskú príručku k produktu.